LEMON Manuals: Even more car manuals for everyone: 1960-2025
Home >> Cadillac >> 2008 >> CTS AWD V6-3.6L >> Repair and Diagnosis >> Diagrams >> Exploded Views >> Manual Transmission/Transaxle
April 5, 2026: LEMON Manuals is launched! Read the announcement.

Manual Transmission/Transaxle



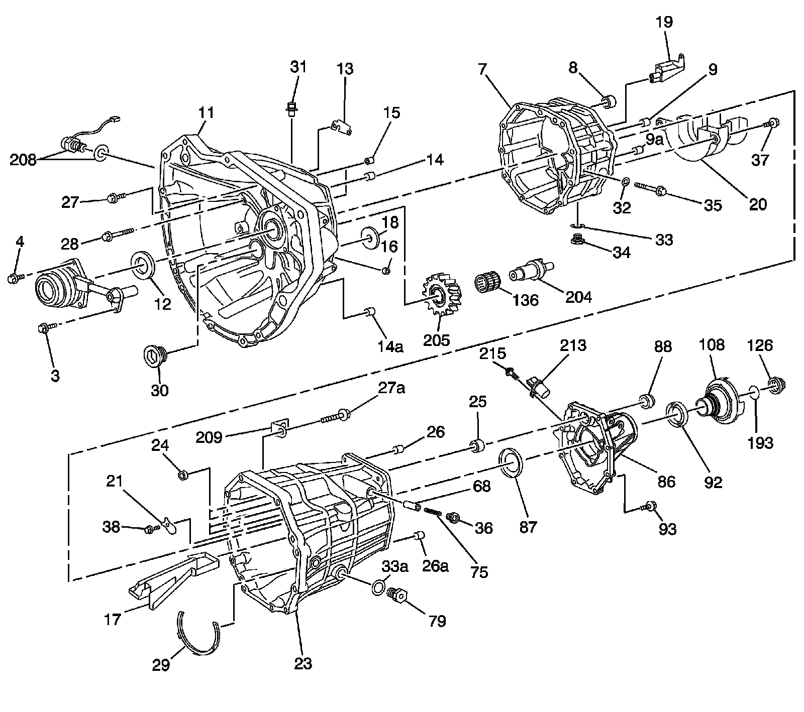
Disassembled Views

Case Components




3 - Clutch Actuator Bolt/Screw - M6 x 1.0
4 - Clutch Actuator Bolt/Screw - M8 x 1.0
7 - Transmission Intermediate Case
8 - Shift Shaft Bearing Assembly
9 - Transmission Rear Case Locating Pin
9a - Transmission Rear Case Locating Pin
11 - Transmission Front Case
12 - Input Shaft Seal
13 - Input Shaft Bearing Oil Shield
14 - Select Control Lever Bracket Pin
14a - Transmission Case Intermediate Locating Pin
15 - Transmission Case Locating Pin
16 - Transmission Case Hole Plug
17 - Transmission Rear Case Oil Trough
18 - Input Shaft Bearing Oil Slinger - Front
19 - Oil Trough
20 - Transmission Intermediate Case Oil Trough
21 - Counter Gear Bearing Retainer
23 - Transmission Rear Case
24 - Shift Shaft Bushing
25 - Shift Shaft Bearing Assembly
26 - Transmission Extension Locating Pin
26a - Transmission Extension Locating Pin
27 - Transmission Intermediate Case Bolt/Screw - M10 x 1.25
27a - Backup Switch Bracket Bolt/Screw
28 - Transmission Intermediate Case Bolt/Screw - M10 x 1.25
29 - Transmission Rear Case Oil Trough Gasket
30 - Clutch Housing Hole Plug
31 - Vent Assembly
32 - Reverse Idler Gear Shaft Bolt Gasket
33 - Oil Drain Plug Gasket
33a - Oil Fill Plug Gasket
34 - Oil Drain Plug
35 - Reverse Idler Gear Shaft Retainer Bolt/Screw
36 - Shift Shaft Detent Plug
37 - Transmission Intermediate Case Oil Trough Bolt/Screw
38 - Counter Gear Bearing Retainer Bolt/Screw
68 - Shift Shaft Detent Pin
75 - Shift Shaft Detent Spring
79 - Oil Fill Plug
86 - Transmission Extension
87 - Main Shaft Bearing Rear Oil Slinger
88 - Shift Control Shaft Seal
92 - Rear Output Shaft Seal Assembly
93 - Transmission Extension Bolt/Screw
108 - Propshaft Transmission Flange Assembly
126 - Propshaft Transmission Flange Nut
136 - Reverse Idler Gear Bearing Assembly
193 - Propshaft Transmission Flange Fluid Seal
204 - Reverse Idler Gear Shaft
205 - Reverse Idler Gear
208 - Backup Lamp Switch Assembly
209 - Backup Lamp Switch Retainer
213 - Output Sensor Assembly
215 - Vehicle Speed Sensor Bolt/Screw

Countershaft Components




95 - 1st Gear Blocking Ring Set
95a - 2nd Gear Blocking Ring Set
96 - 1st Gear Synchronizer Inner Cone
96a - 2nd Gear Synchronizer Inner Cone
97 - 1st Gear Synchronizer Outer Cone
97a - 2nd Gear Synchronizer Outer Cone
98 - 1st Gear Outer Blocking Ring
98a - 2nd Gear Outer Blocking Ring
112 - Reverse Drive Gear
114 - Reverse Gear Bearing Bushing w/Thrust Washer
115 - 1st/2nd Gear Synchronizer Hub
117 - 1st/2nd Gear Synchronizer Sleeve
119 - 1st/2nd Gear Synchronizer Insert
120 - Reverse Gear Synchronizer Insert
122 - Reverse Gear Blocking Ring
123 - 1st/2nd Gear Synchronizer Spring
125 - Reverse Gear Synchronizer Sleeve
127 - 1st/2nd Gear Synchronizer Detent Ball
128 - Counter Gear Front Bearing Assembly
133 - Reverse Gear Bearing Assembly
134 - 1st Gear Bearing Assembly
135 - 2nd Gear Bearing Assembly
138 - Counter Gear Rear Bearing Assembly
142 - Counter Gear Front Bearing Retainer Ring
142a - Counter Gear Rear Bearing Retainer Ring
153 - 1st/2nd Gear Synchronizer Retaining Ring
187 - Counter Gear Front Bearing Retainer
194 - Reverse Gear Thrust Washer Locking Ball
195 - Reverse Gear Synchronizer Spring
199 - 1st Gear
200 - 2nd Gear
203 - Counter Gear
206 - Reverse Gear

Input Shaft Components




89 - Rear Output Shaft Roller Bearing Assembly
104 - 3rd Gear Blocking Ring
107 - Main Shaft Bearing Oil Slinger
111 - Rear Output Shaft
113 - 3rd Gear Thrust Washer
116 - 3rd/4th Gear Synchronizer Hub
118 - 3rd/4th Gear Synchronizer Sleeve
118a - 5th/6th Gear Synchronizer Sleeve
119 - 3rd/4th Gear Synchronizer Insert
119a - 5th/6th Gear Synchronizer Insert
121 - 4th Gear Blocking Ring
121a - 6th Gear Blocking Ring
121b - 5th Gear Blocking Ring
123 - 3rd/4th Gear Synchronizer Spring
123a - 5th/6th Gear Synchronizer Spring
124 - 5th/6th Gear Synchronizer Hub
127 - 3rd/4th Gear Synchronizer Detent Ball
127a - 5th/6th Gear Synchronizer Detent Ball
129 - Input Shaft Bearing Assembly
130 - 4th Gear Bearing Assembly
131 - 6th Gear Bearing Assembly
132 - 3rd Gear Bearing Assembly
137 - Input Shaft Bearing
139 - Rear Output Shaft Front Bearing Assembly
156 - 3rd Gear Retaining Ring
163 - 5th/6th Gear Synchronizer Hub Retaining Ring
170 - 6th Gear Retaining Ring
176 - Input Shaft Bearing Retainer
188 - Input Shaft Bearing Retainer Ring
189 - 6th Gear Bearing Spacer
190 - 3rd/4th Gear Spacer
191 - Rear Output Shaft Rear Bearing Spacer
192 - Gear Thrust Washer Locating Pin
197 - 3rd Gear
198 - 4th Gear
201 - 6th Gear
202 - Input Shaft
212 - Vehicle Speed Sensor Drive Gear
214 - Speedometer Drive Gear Locking Ball

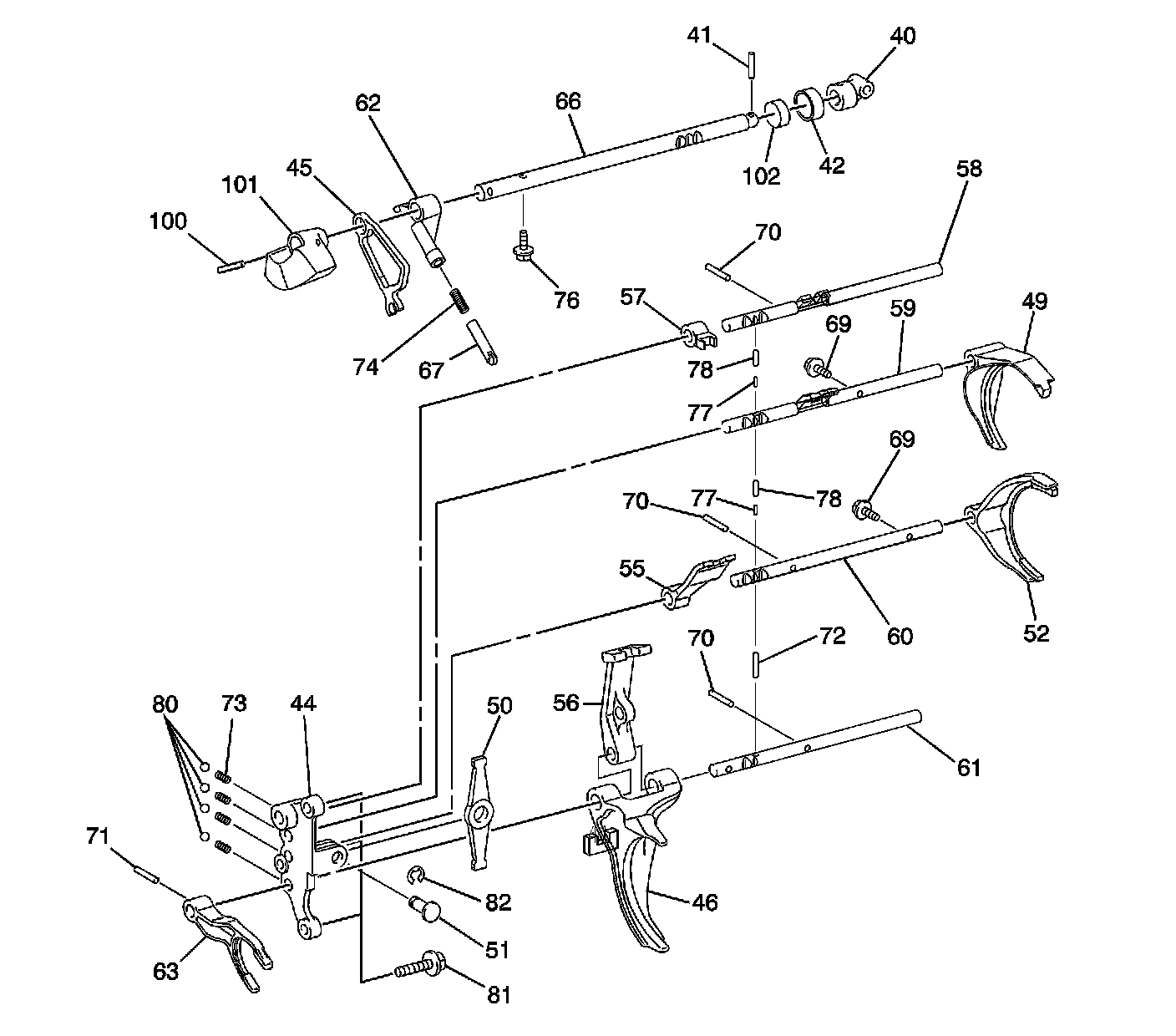
Shift Rail Components

Shift Rail Components:




40 - Shift Lever Rod Universal Joint Assembly
41 - Shift Lever Pin
42 - Select Shift Lever Retainer
44 - Shift Control Lever Bracket
45 - Shift Shaft Detent Cam
46 - 1st/2nd Shift Fork Assembly w/Bushings
49 - 3rd/4th Shift Fork Assembly w/Inserts
50 - Control Selector Arm
51 - Control Selector Arm Pin
52 - 5th/6th Shift Fork Assembly w/Inserts
55 - Shift Lever Assembly
56 - Internal Shift Control Lever
57 - Selector Control Lever Assembly
58 - 1st/2nd Shift Shaft
59 - 3rd/4th Shift Shaft
60 - 5th/6th Shift Shaft
61 - Reverse Shift Shaft
62 - Shift Shaft Detent Lever
63 - Reverse Shift Fork Assembly w/Inserts
66 - Shift Control Shaft
67 - Shift Shaft Detent
69 - 3rd/4th Shift Fork Bolt/Screw
69 - 5th/6th Shift Fork Bolt/Screw
70 - 1st/2nd Shift Fork Pin
71 - Reverse Shift Fork Pin
72 - Shift Shaft Detent Roller
73 - Shaft Detent Ball Spring
74 - Shift Shaft Detent Spring
76 - Shift Shaft Detent Lever Bolt/Screw
77 - Shift Shaft Interlocking Pin
78 - Shift Shaft Interlocking Pin
80 - Shift Detent Ball
81 - Shift Control Lever Bracket Bolt/Screw
82 - Selector Control Lever Pin Retainer
100 - Slotted Spring Pin
101 - Dynamic Damper Weight
102 - Damper