LEMON Manuals: Even more car manuals for everyone: 1960-2025
Home >> Cadillac >> 2008 >> Escalade AWD V8-6.2L >> Repair and Diagnosis >> Diagrams >> Connector Views >> Body Control Module
April 5, 2026: LEMON Manuals is launched! Read the announcement.

Body Control Module



Component Connector End Views

Auxiliary Body Control Module (XBCM) X1 (EXP)














Auxiliary Body Control Module (XBCM) X2 (EXP)














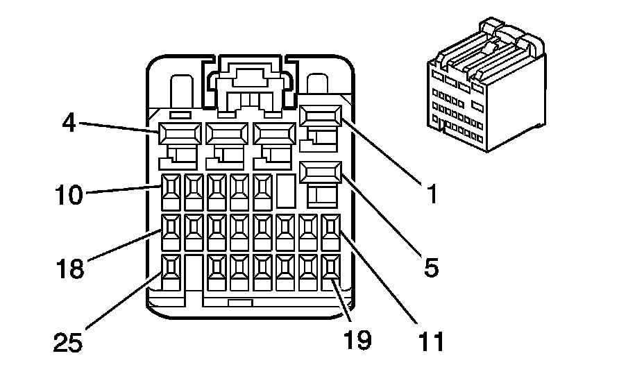
Body Control Module (BCM) X1














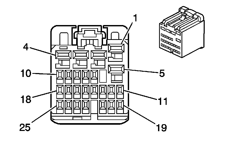
Body Control Module (BCM) X2














Body Control Module (BCM) X3














Body Control Module (BCM) X4














Body Control Module (BCM) X5














Body Control Module (BCM) X6














Body Control Module (BCM) X7