LEMON Manuals: Even more car manuals for everyone: 1960-2025
Home >> Cadillac >> 2008 >> Escalade AWD V8-6.2L >> Repair and Diagnosis >> Diagrams >> Connector Views >> Central Control Module
April 5, 2026: LEMON Manuals is launched! Read the announcement.

Central Control Module



Component Connector End Views - Continued

Vehicle Communication Interface Module (VCIM) X1 (UE1)














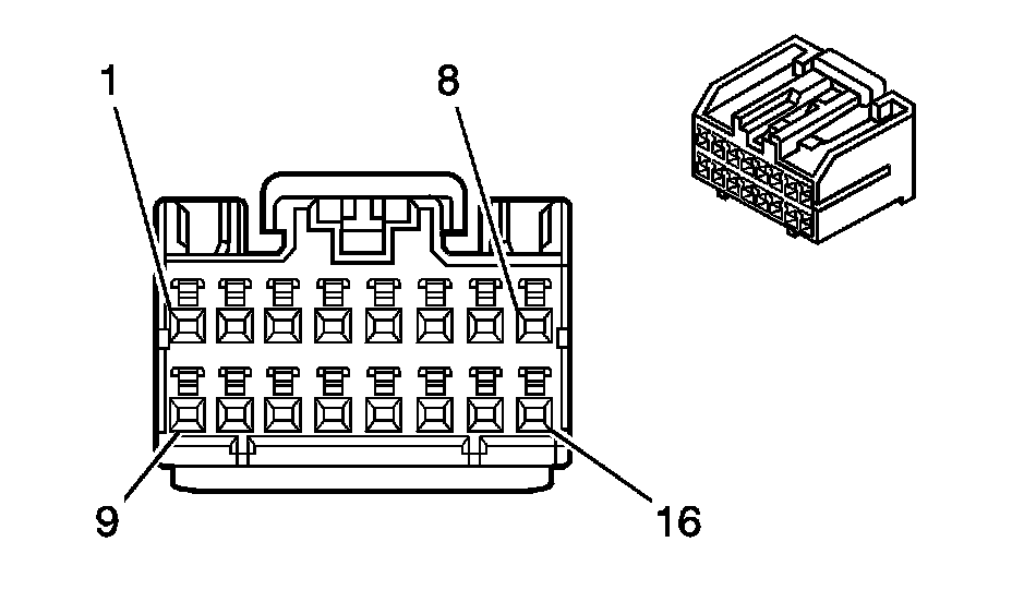
Vehicle Communication Interface Module (VCIM) X2 (UE1)














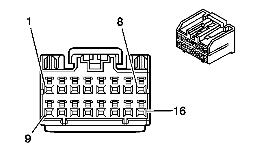
Vehicle Communication Interface Module (VCIM) X3 (UE1 +U3R/U3U/UVB)