LEMON Manuals: Even more car manuals for everyone: 1960-2025
Home >> Cadillac >> 2008 >> Escalade AWD V8-6.2L >> Repair and Diagnosis >> Diagrams >> Connector Views >> Engine Control Module
April 5, 2026: LEMON Manuals is launched! Read the announcement.

Engine Control Module



Component Connector End Views

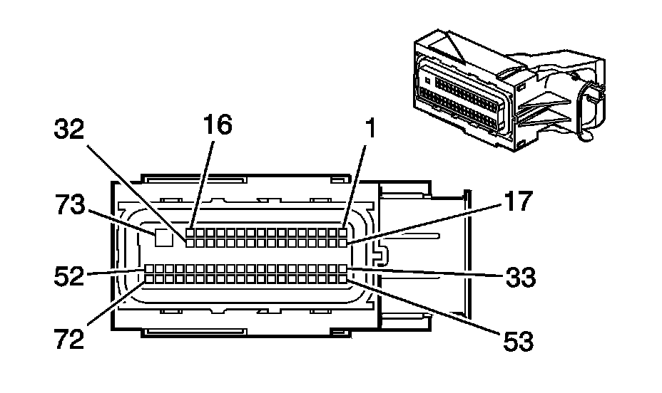
Engine Control Module (ECM) X1









Engine Control Module (ECM) X1 (Pin 1 To 59):





Engine Control Module (ECM) X1 (Pin 60 To 73):






Engine Control Module (ECM) X2









Engine Control Module (ECM) X2 (Pin 1 To 50):





Engine Control Module (ECM) X2 (Pin 51 To 80):