LEMON Manuals: Even more car manuals for everyone: 1960-2025
Home >> Cadillac >> 2008 >> Escalade AWD V8-6.2L >> Repair and Diagnosis >> Diagrams >> Connector Views >> Suspension Control Module
April 5, 2026: LEMON Manuals is launched! Read the announcement.

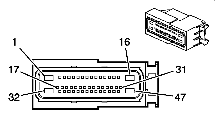
Suspension Control Module



Component Connector End Views

Electronic Suspension Control (ESC) Module

Electronic Suspension Control (ESC) Module: