LEMON Manuals: Even more car manuals for everyone: 1960-2025
Home >> Cadillac >> 2008 >> Escalade AWD V8-6.2L >> Repair and Diagnosis >> Diagrams >> Exploded Views >> Engine
April 5, 2026: LEMON Manuals is launched! Read the announcement.

Engine



Disassembled Views

Intake Manifold/Upper Engine - RPO LY2/LY6/L92




100 - Engine Block
307 - Engine Coolant Air Bleed Pipe
308 - Engine Coolant Air Bleed Pipe O-Ring Seal
308 - Engine Coolant Air Bleed Pipe O-Ring Seal
309 - Bolt
312 - Bolt
313 - Engine Coolant Air Bleed Pipe Hole Cover
500 - Intake Manifold
506 - Bolt
507 - Nut
508 - Throttle Body
509 - Throttle Body Seal
510 - Sequential Multi-Port Fuel Injector Assembly with Fuel Rail
511 - Bolt
512 - Bolt
513 - Intake Manifold Seal
514 - Intake Manifold Gasket
537 - O-Ring Seal
538 - Bolt
555 - Engine Valley Cover
556 - Gasket
557 - Fuel Injection Fuel Rail Bracket
706 - Engine Oil Pressure Sensor
712 - Fuel Injection Fuel Rail Stop
713 - Bolt
714 - Manifold Absolute Pressure (MAP) Sensor
715 - MAP Sensor O-Ring Seal
729 - Evaporative (EVAP) Emission Canister Purge Tube
730 - EVAP Emission Canister Purge Solenoid Valve
731 - EVAP Emission Canister Port Cap
734 - EVAP Emission Service Valve
735 - EVAP Emission Canister Purge Tube

Intake Manifold/Upper Engine - RPO LC9/LY5/LMG/L76




100 - Engine Block
307 - Engine Coolant Air Bleed Pipe
308 - Engine Coolant Air Bleed Pipe O-Ring Seal
308 - Engine Coolant Air Bleed Pipe O-Ring Seal
309 - Bolt
312 - Bolt
313 - Engine Coolant Air Bleed Pipe Hole Cover
451 - Valve Lifter Oil Manifold
452 - Valve Lifter Oil Filter
454 - Valve Lifter Oil Filter Seal
500 - Intake Manifold
506 - Bolt
507 - Throttle Body Nut
508 - Throttle Body
509 - Throttle Body Seal
510 - Sequential Multi-Port Fuel Injector Assembly with Fuel Rail
511 - Fuel Injection Fuel Rail Bracket Bolt
512 - Intake Manifold Bolt
513 - Intake Manifold Seal
514 - Intake Manifold Gasket
538 - Throttle Body Bolt
556 - Gasket
557 - Fuel Injection Fuel Rail Bracket
706 - Engine Oil Pressure Sensor
712 - Fuel Injection Fuel Rail Stop
713 - Bolt
714 - Manifold Absolute Pressure (MAP) Sensor
715 - MAP Sensor O-Ring Seal
729 - Evaporative (EVAP) Emission Canister Purge Tube
730 - EVAP Emission Canister Purge Solenoid Valve
731 - EVAP Emission Canister Port Cap
734 - EVAP Emission Service Valve
735 - EVAP Emission Canister Purge Tube

Cylinder Head/Upper Engine - RPO LY2/LY6/L92




100 - Engine Block
209 - Valve Lifter
210 - Valve Lifter Guide
211 - Valve Lifter Guide Bolt
212 - Valve Push Rod
213 - Valve Rocker Arm
214 - Valve Rocker Arm Pivot Support Bolt
215 - Valve Rocker Arm Pivot Support
216 - Cylinder Head Core Hole Plug
217 - Cylinder Head Gasket
218 - Cylinder Head
220 - Cylinder Head Bolt - M10
221 - Cylinder Head Bolt - M8
222 - Valve Stem Oil Seal
223 - Valve Spring
224 - Valve Spring Cap
225 - Valve Stem Key
226 - Cylinder Head Core Hole Plug
227 - Intake Valve
228 - Exhaust Valve
229 - Cylinder Head Plug
230 - Cylinder Head Locating Pin
422 - Oil Fill Tube O-Ring Seal
423 - Oil Fill Tube
424 - Oil Fill Cap
450 - Oil Fill Cap O-Ring Seal
504 - Valve Rocker Arm Cover Gasket
504 - Valve Rocker Arm Cover Gasket
505 - Valve Rocker Arm Cover
505 - Valve Rocker Arm Cover
516 - Valve Rocker Arm Cover Bolt
600 - Exhaust Manifold
601 - Exhaust Manifold Gasket
602 - Exhaust Manifold Flange Bolt
603 - Exhaust Manifold Heat Shield
604 - Exhaust Manifold Heat Shield Bolt
700 - Positive Crankcase Ventilation (PCV) Hose - Fresh Air
716 - PCV Hose - Dirty Air
719 - Ignition Coil Bracket
720 - Ignition Coil Bracket Stud
721 - Ignition Coil Wire Harness Assembly
722 - Ignition Coil
723 - Ignition Coil Bolt
724 - Spark Plug Wire
725 - Engine Coolant Temperature Sensor
726 - Spark Plug

Cylinder Head/Upper Engine - RPO LC9/LY5/LMG/L76




100 - Engine Block
209 - Valve Lifter - Non-Active Fuel Management
210 - Valve Lifter Guide
211 - Valve Lifter Guide Bolt
212 - Valve Push Rod
213 - Valve Rocker Arm
214 - Valve Rocker Arm Pivot Support Bolt
215 - Valve Rocker Arm Pivot Support
216 - Cylinder Head Core Hole Plug
217 - Cylinder Head Gasket
218 - Cylinder Head
219 - Valve Lifter - Active Fuel Management
220 - Cylinder Head Bolt - M10
221 - Cylinder Head Bolt - M8
222 - Valve Stem Oil Seal
223 - Valve Spring
224 - Valve Spring Cap
225 - Valve Stem Key
226 - Cylinder Head Core Hole Plug
227 - Intake Valve
228 - Exhaust Valve
229 - Cylinder Head Plug
230 - Cylinder Head Locating Pin
422 - Oil Fill Tube O-Ring Seal
423 - Oil Fill Tube
424 - Oil Fill Cap
450 - Oil Fill Cap O-Ring Seal
504 - Valve Rocker Arm Cover Gasket
504 - Valve Rocker Arm Cover Gasket
505 - Valve Rocker Arm Cover
505 - Valve Rocker Arm Cover
516 - Valve Rocker Arm Cover Bolt
600 - Exhaust Manifold
601 - Exhaust Manifold Gasket
602 - Exhaust Manifold Flange Bolt
603 - Exhaust Manifold Heat Shield
604 - Exhaust Manifold Heat Shield Bolt
700 - Positive Crankcase Ventilation (PCV) Hose - Fresh Air
716 - PCV Hose - Dirty Air
719 - Ignition Coil Bracket
720 - Ignition Coil Bracket Bolt
721 - Ignition Coil Wire Harness Assembly
722 - Ignition Coil
723 - Ignition Coil Bolt
724 - Spark Plug Wire
725 - Engine Coolant Temperature Sensor
726 - Spark Plug

Front of Engine - RPO LY2/LC9/LY5/LMG




100 - Engine Block
138 - Crankshaft Balancer
139 - Crankshaft Balancer Bolt
140 - Crankshaft Front Oil Seal
200 - Camshaft
201 - Camshaft Bearing
202 - Camshaft Sprocket Locating Pin
203 - Camshaft Retainer
204 - Camshaft Retainer Bolt
205 - Camshaft Sprocket
206 - Camshaft Sprocket Bolt
207 - Crankshaft Sprocket
208 - Timing Chain
231 - Timing Chain Tensioner Bolt
232 - Timing Chain Tensioner
300 - Water Pump
301 - Water Pump Bolt
302 - Water Pump Inlet Bolt
303 - Water Pump Inlet
305 - Engine Coolant Thermostat
306 - Water Pump Gasket
404 - Oil Pump Suction Pipe Nut
405 - Oil Pump Suction Pipe Bolt
406 - Oil Pump O-Ring Seal
407 - Oil Pump Suction Pipe
408 - Oil Pump Cover Bolt
409 - Oil Pump Cover
410 - Oil Pump Drive Gear
411 - Oil Pump Bolt
412 - Oil Pump Driven Gear
413 - Oil Pump
414 - Oil Pressure Relief Valve
415 - Oil Pressure Relief Valve Spring
416 - Oil Pressure Relief Valve Bore Plug
417 - Oil Level Indicator O-Ring Seal
418 - Oil Level Indicator
419 - Oil Level Indicator Tube Bolt
420 - Oil Level Indicator Tube
421 - O-Ring
501 - Engine Front Cover Bolt
502 - Engine Front Cover
503 - Engine Front Cover Gasket
703 - Camshaft Position (CMP) Sensor
704 - CMP Sensor O-Ring Seal
705 - CMP Sensor Bolt
737 - CMP Sensor Wire Harness Assembly
738 - CMP Sensor Wire Harness Assembly Bolt

Front of Engine - RPO LY6/L76/L92




100 - Engine Block
138 - Crankshaft Balancer
139 - Crankshaft Balancer Bolt
140 - Crankshaft Front Oil Seal
200 - Camshaft
201 - Camshaft Bearing
202 - Camshaft Sprocket Locating Pin
203 - Camshaft Retainer
204 - Camshaft Retainer Bolt
207 - Crankshaft Sprocket
208 - Timing Chain
231 - Timing Chain Tensioner Bolt
232 - Timing Chain Tensioner
234 - Camshaft Position (CMP) Actuator Solenoid Valve
235 - CMP Actuator
300 - Water Pump
301 - Water Pump Bolt
302 - Water Pump Inlet Bolt
303 - Water Pump Inlet
305 - Engine Coolant Thermostat
306 - Water Pump Gasket
404 - Oil Pump Suction Pipe Nut
405 - Oil Pump Suction Pipe Bolt
406 - Oil Pump O-Ring Seal
407 - Oil Pump Suction Pipe
408 - Oil Pump Cover Bolt
409 - Oil Pump Cover
410 - Oil Pump Drive Gear
411 - Oil Pump Bolt
412 - Oil Pump Driven Gear
413 - Oil Pump
414 - Oil Pressure Relief Valve
415 - Oil Pressure Relief Valve Spring
416 - Oil Pressure Relief Valve Bore Plug
417 - Oil Level Indicator O-Ring Seal
418 - Oil Level Indicator
419 - Oil Level Indicator Tube Bolt
420 - Oil Level Indicator Tube
421 - O-Ring
501 - Engine Front Cover Bolt
502 - Engine Front Cover
503 - Engine Front Cover Gasket
703 - CMP Sensor
704 - CMP Sensor O-Ring Seal
705 - CMP Sensor Bolt
737 - CMP Sensor Wire Harness Assembly
738 - CMP Sensor Wire Harness Assembly Bolt
738 - CMP Sensor Wire Harness Assembly Bolt
751 - CMP Actuator Hub Cover Bolt
752 - CMP Actuator Magnet
753 - CMP Actuator Magnet Gasket

Rear of Engine

Rear of Engine:




100 - Engine Block
132 - Flex Plate - Automatic Transmission
133 - Flywheel Bolt
141 - Crankshaft Rear Oil Seal
517 - Crankshaft Rear Oil Seal Housing Bolt
518 - Crankshaft Rear Oil Seal Housing
519 - Crankshaft Rear Oil Seal Housing Gasket

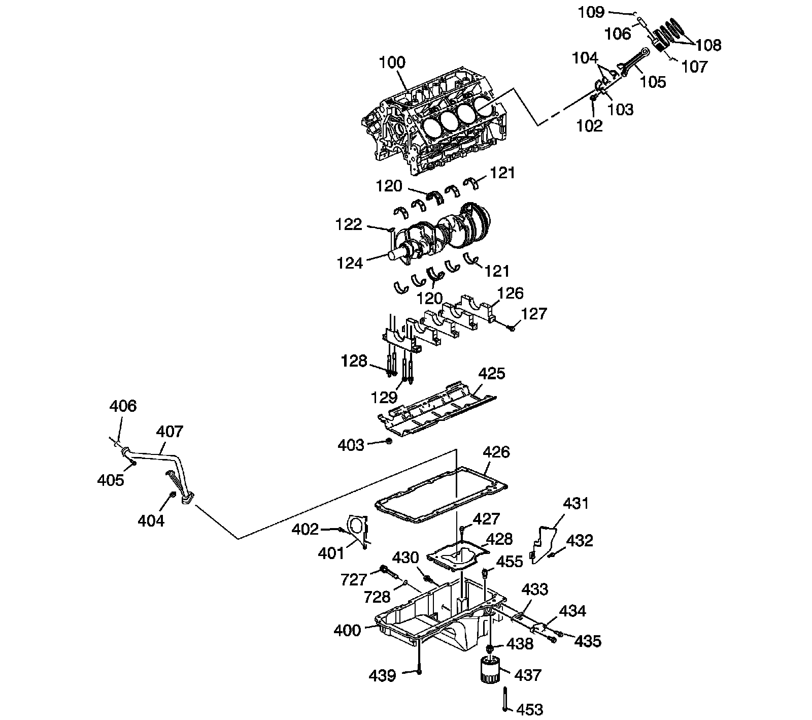
Lower Engine Assembly




100 - Engine Block
102 - Connecting Rod Bolt
103 - Connecting Rod Cap
104 - Connecting Rod Bearing
105 - Connecting Rod
106 - Piston Pin
107 - Piston
108 - Piston Ring Set
109 - Piston Pin Retainer
120 - Crankshaft Thrust Bearing
120 - Crankshaft Thrust Bearing
121 - Crankshaft Bearing
121 - Crankshaft Bearing
122 - Crankshaft Balancer Key
124 - Crankshaft
126 - Crankshaft Bearing Cap
127 - Crankshaft Bearing Cap Bolt - M8
128 - Crankshaft Bearing Cap Stud - M10
129 - Crankshaft Bearing Cap Bolt - M10
400 - Oil Pan
401 - Oil Pan Closeout Cover
402 - Oil Pan Closeout Cover Bolt
403 - Crankshaft Oil Deflector Nut
404 - Oil Pump Suction Pipe Nut
405 - Oil Pump Suction Pipe Bolt
406 - Oil Pump O-Ring Seal
407 - Oil Pump Suction Pipe
425 - Crankshaft Oil Deflector
426 - Oil Pan Gasket
427 - Oil Pan Baffle Bolt
428 - Oil Pan Baffle
430 - Oil Pan Drain Plug
431 - Oil Pan Closeout Cover
432 - Oil Pan Closeout Cover Bolt
433 - Oil Pan Cover Gasket
434 - Oil Pan Cover
435 - Oil Pan Cover Bolt
437 - Oil Filter
438 - Oil Filter Fitting
439 - Oil Pan Bolt
453 - Oil Pan Bolt
455 - Active Fuel Management Oil Pressure Relief Valve
727 - Engine Oil Level Indicator Switch
728 - O-Ring

Engine Block Plugs/Sensors

Engine Block Plugs/Sensors:




100 - Engine Block
100 - Engine Block
101 - Oil Gallery Plug - Front
110 - O-Ring
111 - Oil Gallery Plug - Rear
112 - Oil Gallery Plug - Side
113 - Washer
114 - Engine Coolant Heater
115 - Washer
116 - Oil Gallery Plug - Side
117 - Washer
130 - Transmission Housing Locating Pin
145 - Washer
146 - Engine Block Coolant Drain Hole Plug
701 - Crankshaft Position (CKP) Sensor
702 - O-Ring
718 - Knock Sensor
718 - Knock Sensor
739 - Bolt
739 - Bolt
750 - CKP Sensor Bolt

Oil Pump Assembly

Oil Pump Assembly:




408 - Bolt
409 - Oil Pump Housing Cover
410 - Oil Pump Drive Gear
412 - Oil Pump Driven Gear
413 - Oil Pump
414 - Oil Pump Pressure Relief Valve
415 - Oil Pump Pressure Relief Valve Spring
416 - Oil Pump Housing Plug