LEMON Manuals: Even more car manuals for everyone: 1960-2025
Home >> Cadillac >> 2008 >> Escalade AWD V8-6.2L >> Repair and Diagnosis >> Specifications >> Mechanical Specifications >> Engine >> System Specifications >> Thread Repair Specifications
April 5, 2026: LEMON Manuals is launched! Read the announcement.

Thread Repair Specifications



Thread Repair Specifications

Engine Block - Front/Rear Views

Engine Block:










Engine Block - Left/Right Side Views

Engine Block:










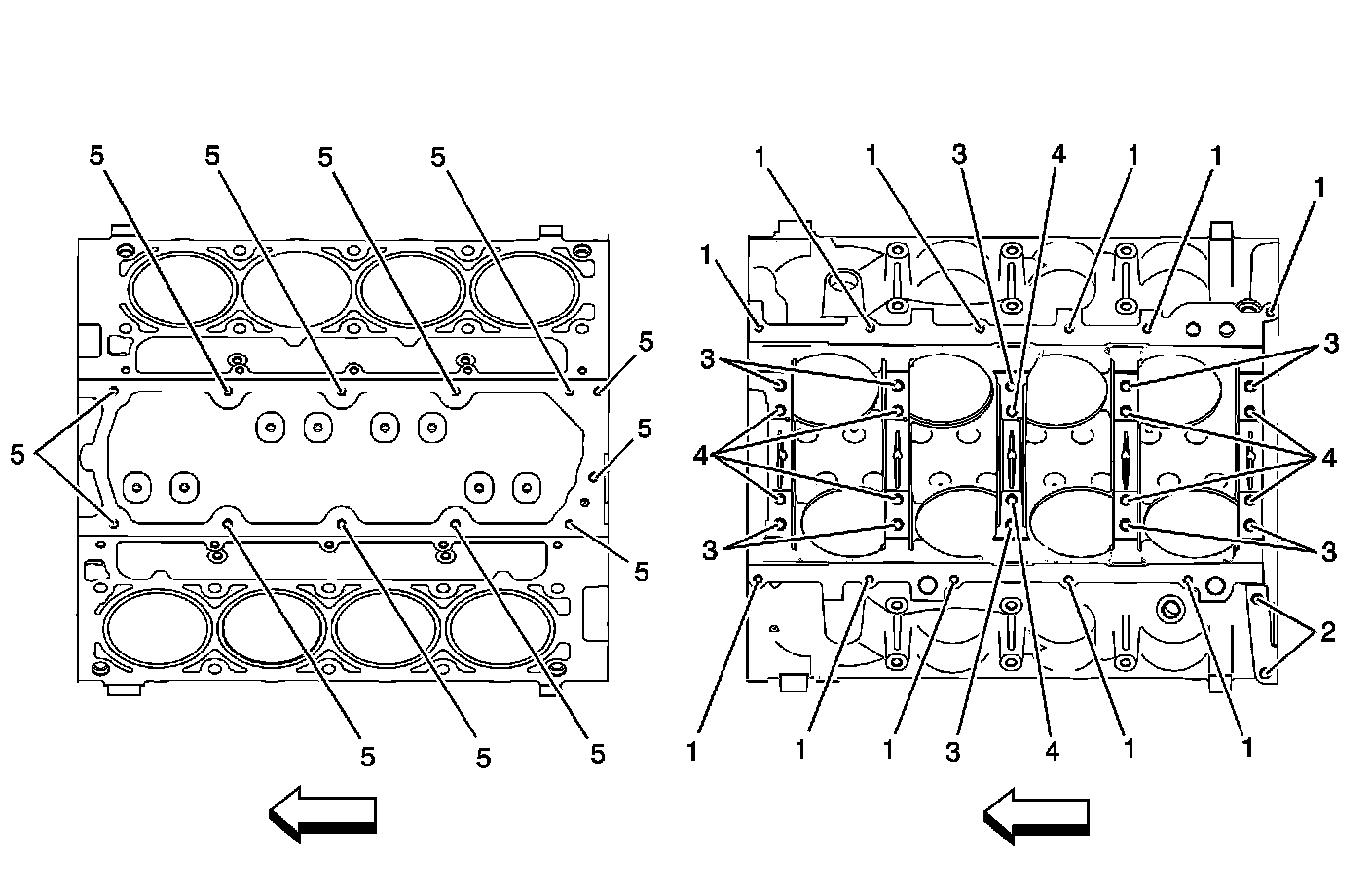
Engine Block - Top/Bottom Views

Engine Block:










Cylinder Head - Top/End Views

Cylinder Head:










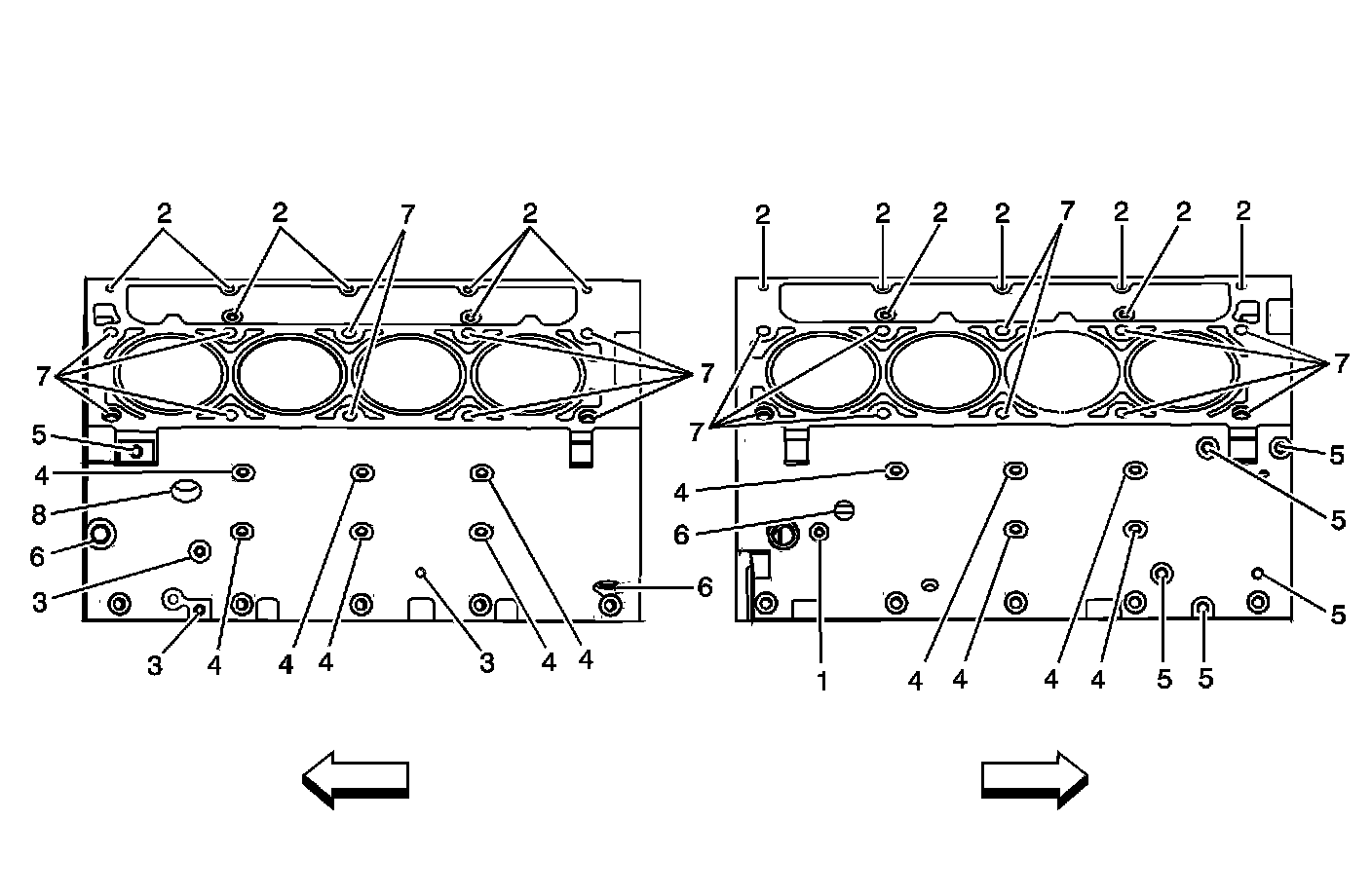
Cylinder Head - Intake/Exhaust Side Views

Cylinder Head: