LEMON Manuals: Even more car manuals for everyone: 1960-2025
Home >> Cadillac >> 2008 >> Escalade EXT >> Repair and Diagnosis (Single Page) >> External Pages >> Different car >> Section 242 (Wiring Systems And Power Management - Component Connector End Views - A/C Compressor Through Electronic Power Steering Module X1) >> Component Connector End Views >> Cargo Bed Lamp (without E52 or TB7)
April 5, 2026: LEMON Manuals is launched! Read the announcement.

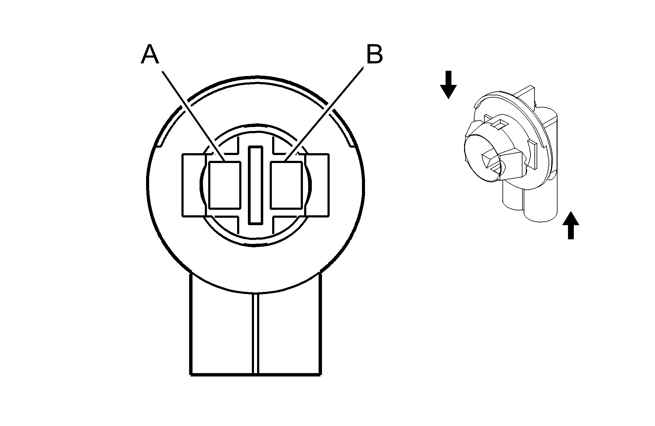
Cargo Bed Lamp (without E52 or TB7)

WARNING: This page does not describe the selected car, but rather 8 other vehicles, including the 2011 GMC Yukon XL, 2011 GMC Yukon, 2011 Chevrolet Tahoe, 2011 Chevrolet Suburban, and 2011 Chevrolet Avalanche. However, it is still accessible from the selected car via links, so may be relevant.
Fig 1: Cargo Bed Lamp (without E52 or TB7) Connector End View
GM130733Courtesy of GENERAL MOTORS CORP.
Cargo Bed Lamp (without E52 or TB7)

Pin Wire Circuit Function
A 0.35 OG 157 Interior Lamp Control
B 0.35 GY 1150 Ground
Connector Part Information
  • Harness Type: Cargo Box Jumper
  • OEM Connector: 12146418
  • Service Connector: Service by Harness- See Part Catalog
  • Description: 2-Way Lamp Socket (L-GY)
Terminal Part Information
  • Terminal/Tray: Service by Harness- See Part Catalog
  • Core/Insulation Crimp: Not Available
  • Release Tool/Test Probe: Not Available