LEMON Manuals: Even more car manuals for everyone: 1960-2025
Home >> Cadillac >> 2008 >> Escalade EXT >> Repair and Diagnosis (Single Page) >> Quick Lookups >> Electrical Component Locations >> Wiring Systems And Power Management - Component Connector End View 2 Of 5 >> Engine Control Module (ECM) X2 (except HP2)
April 5, 2026: LEMON Manuals is launched! Read the announcement.

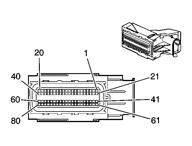
Engine Control Module (ECM) X2 (except HP2)

Fig 1: Engine Control Module (ECM) X2 (except HP2) Connector End View
GM1715238Courtesy of GENERAL MOTORS CORP.
Engine Control Module (ECM) X2 (except HP2)

Pin Wire Color Circuit Function
1 - - Not Used
2 0.35 PU/WH 6270 5-Volt Reference
3 0.35 GY 2701 5-Volt Reference
4 - - Not Used
5 0.5 BN 582 TAC Motor Control - 2
6 0.5 YE 581 TAC Motor Control - 1
7 - - Not Used
8 0.5 D-GN/WH 428 EVAP Canister Purge Solenoid Control
9 0.35 GY 5493 Cylinder Shutoff Solenoid Control (3) (LY5, LMG, L76 or LC9)
10 0.35 D-BU 5491 Cylinder Shutoff Solenoid Control (1) (LY5, LMG, L76 or LC9)
11 0.35 OG 5494 Cylinder Shutoff Solenoid Control (4) (LY5, LMG, L76 or LC9)
12 0.5 GY/WH 3113 HO2S Heater Low Control - Bank 1 Sensor 1
13 0.5 L-GN 3212 HO2S Heater Low Control - Bank 2 Sensor 1
14 0.5 L-GN/BK 5492 Cylinder Shutoff Solenoid Control (2) (LY5, LMG, L76 or LC9)
15 - - Not Used
16 0.35 PU 5284 Camshaft Actuator Solenoid Control (L76, L92 or LY6)
17 0.5 D-BU/WH 878 Fuel Injector 8 Control
18 0.5 TN/WH 845 Fuel Injector 5 Control
19 0.5 YE/BK 846 Fuel Injector 6 Control
20 0.5 TN 1744 Fuel Injector 1 Control
21 0.5 YE 410 Engine Coolant Temperature (ECT) Sensor Signal
22 0.5 TN 2761 Low Reference
23-25 - - Not Used
26 0.8 D-BU 496 Knock Sensor 1 Signal
27 0.8 GY 1716 Low Reference
28 - - Not Used
29 0.8 L-BU 1876 Knock Sensor 2 Signal
30 0.8 GY 2303 Low Reference
31 - - Not Used
32 0.5 GY 23 Generator Field Duty Cycle Signal
33 - - Not Used
34 0.35 BK 2755 Low Reference
35 0.35 TN 2752 Low Reference
36 - - Not Used
37 0.5 L-GN/BK 1745 Fuel Injector 2 Control
38 0.5 PK/BK 1746 Fuel Injector 3 Control
39 0.5 L-BU/BK 844 Fuel Injector 4 Control
40 0.5 OG/BK 877 Fuel Injector 7 Control
41 0.35 GY 2705 5-Volt Reference
42 - - Not Used
43 0.35 GY 2704 5-Volt Reference
44 0.35 D-BU 6259 5-Volt Reference
45-49 - - Not Used
50 0.35 TN/WH 331 Oil Pressure Sensor Signal
51 - - Not Used
52 0.35 TN 2199 Low Reference (6.0L)
53 0.35 OG/BK 469 Low Reference
54-55 - - Not Used
56 0.5 TN 1664 HO2S Low Signal - Bank 1 Sensor 1
57 0.5 PU/WH 1665 HO2S High Signal - Bank 1 Sensor 1
58 0.35 L-GN 432 Manifold Absolute Pressure (MAP) Sensor Signal
59 0.5 PU 1666 HO2S High Signal - Bank 2 Sensor 1
60 0.5 TN 1667 HO2S Low Signal - Bank 2 Sensor 1
61 0.5 BN 25 Charge Indicator Control/Charge Indicator Signal
62 - - Not Used
63 0.35 PU 486 Throttle Position Sensor 2 Signal
64 0.35 D-BU/WH 6265 CMP Sensor Signal
65 0.35 D-GN 485 Throttle Position Sensor 1 Signal
66 0.35 BN 6266 Low Reference
67 - - Not Used
68 0.35 WH/BK 6271 Crankshaft Position
(CKP) Sensor Signal
69 0.35 GY/BK 6272 Low Reference
70 0.5 PU 2121 Ignition Coli 1 Control
71 0.5 PU/WH 2128 Ignition Coli 8 Control
72 0.5 OG 2127 Ignition Coli 7 Control
73 0.5 OG/WH 2122 Ignition Coli 2 Control
74 0.5 L-BU/WH 2126 Ignition Coli 6 Control
75 0.5 D-GN 2125 Ignition Coli 5 Control
76 0.5 D-GN/WH 2124 Ignition Coli 4 Control
77 0.5 L-BU 2123 Ignition Coli 3 Control
78 0.5 BN 2129 Low Reference
79 0.5 BN/WH 2130 Low Reference
80 - - Not Used
Connector Part Information 
  • OEM: 13511426
  • Service: 19115670
  • Description: 80-Way F Receptacle 0.64 2.8 Sealed (GY)
Terminal Part Information 
  • Pins: 2-3, 16, 34-35, 41-53, 58, 63-69
  • Terminal/Tray: 33467-0003/23
  • Core/Insulation Crimp: H/H
  • Release Tool/Test Probe: J-38125-213/J-35616-64B (L-BU)
  • Pins: 5-14, 17-33, 37-40, 56-57, 59-61, 70-79
  • Terminal/Tray: 33467-0005/23
  • Core/Insulation Crimp: Pins 5-14, 17-22, 29-33, 37-40, 56-57, 59-61, 70-79: J/J
  • Core/Insulation Crimp: Pins 26-27: K/K
  • Release Tool/Test Probe: J-38125-213/J-35616-64B (L-BU)