LEMON Manuals: Even more car manuals for everyone: 1960-2025
Home >> Cadillac >> 2008 >> Escalade EXT >> Repair and Diagnosis (Single Page) >> Quick Lookups >> Electrical Component Locations >> Wiring Systems And Power Management - Electrical Center Identification Views & Component Connector End View Index >> Electrical Center Identification Views >> Junction Block - Right I/P X6
April 5, 2026: LEMON Manuals is launched! Read the announcement.

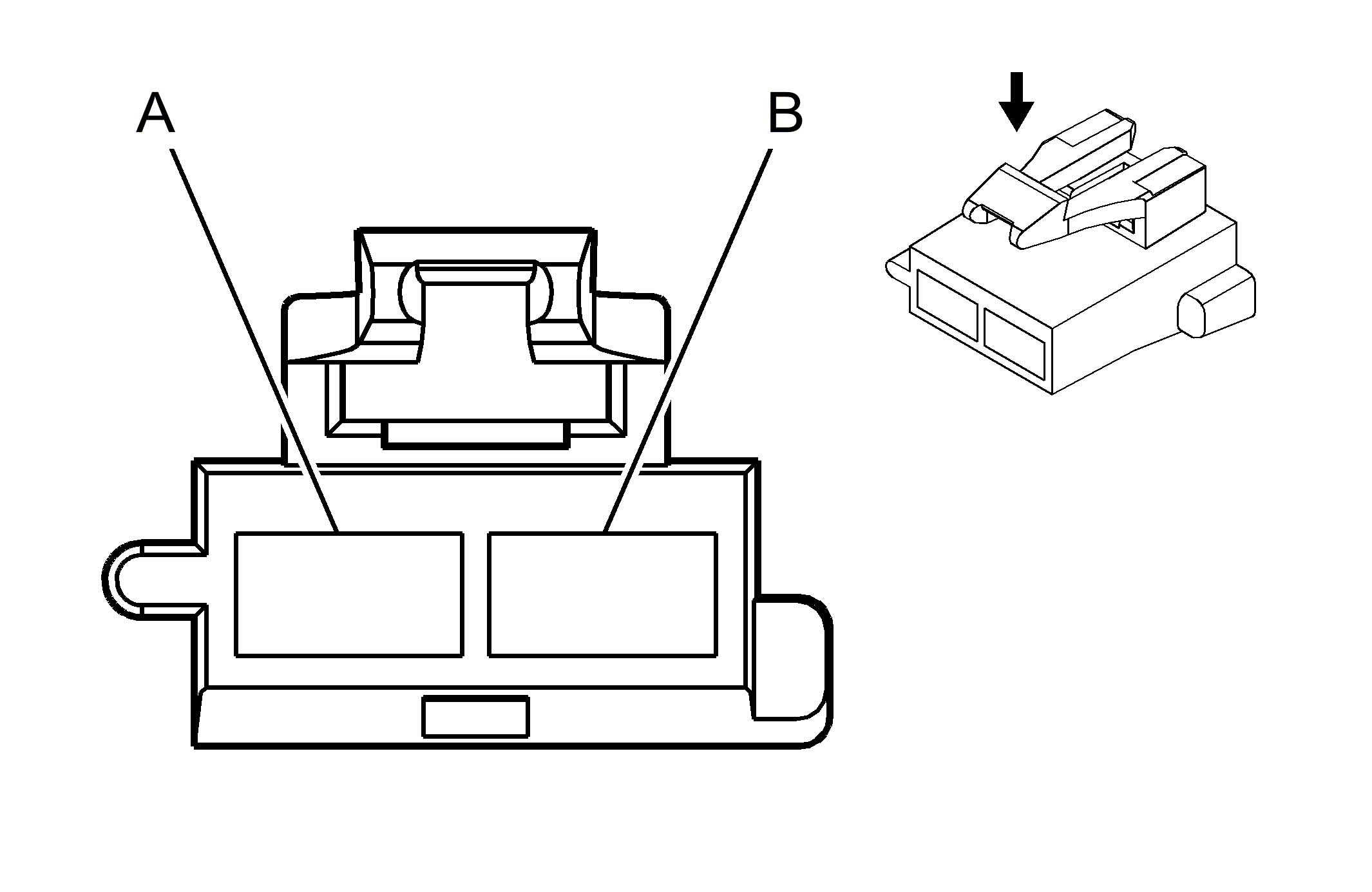
Junction Block - Right I/P X6

Fig 1: Junction Block - Right I/P X6 Connector End View
GM493694Courtesy of GENERAL MOTORS CORP.
Junction Block - Right I/P X6

Pin Wire Circuit Function
A 3 RD 542 Battery Positive Voltage (Auto A/C)
5 RD 542 Battery Positive Voltage (Manual A/C)
B 5 BK 1050 Ground
Connector Part Information 
  • OEM: 12129939
  • Service: 15306380
  • Description: 2-Way F Metri-Pack 630 Series (BK)

Terminal Part Information 
  • Terminal/Tray: 12084590/3
  • Core/Insulation Crimp: F/G
  • Release Tool/Test Probe: 12094430/J-35616-42 (RD)