LEMON Manuals: Even more car manuals for everyone: 1960-2025
Home >> Cadillac >> 2008 >> SRX AWD V8-4.6L >> Repair and Diagnosis >> Diagrams >> Exploded Views >> Engine
April 5, 2026: LEMON Manuals is launched! Read the announcement.

Engine



Disassembled Views

Engine Covers and Component Assemblies (1 of 2)

Engine Covers and Component Assemblies (1 Of 2):




5 - Engine Long Block Assembly
6 - Intake Manifold Assembly
9 - Left Camshaft Cover Assembly
10 - Right Camshaft Cover Assembly
11 - Oil Pump Assembly
12 - Engine Front Cover Assembly
13 - Oil Pan Assembly
18 - Water Outlet Assembly
19 - Throttle Body Assembly
20 - Right Camshaft Position Actuator Housing Assembly
21 - Left Camshaft Position Actuator Housing Assembly
281 - PCV Fresh Air Tube
283 - PCV Dirty Air Tube
351 - Engine Front Cover Gasket
352 - Engine Front Cover Bolt
382 - Water Outlet Bolt - Short
388 - Water Outlet Bolt - Long
390 - Crankshaft Balancer
391 - Crankshaft Balancer Bolt
401 - Oil Pan Gasket
420 - Oil Pan Bolt - Short
421 - Oil Pan Bolt - Medium
422 - Oil Pan Bolt - Long
475 - Oil Pump Bolt
530 - Intake Manifold Bolt
702 - Throttle Body Bolt
747 - EVAP Tube
760 - Block Heater - 110 Volt

Engine Covers and Component Assemblies (2 of 2)

Engine Covers and Component Assemblies (2 Of 2):




5 - Engine Long Block Assembly
14 - Oil Filter Adapter Assembly
16 - Oil Level Indicator Assembly
405 - Oil Pump Suction Pipe
406 - Oil Pump Suction Pipe Gasket
407 - Oil Pump Suction Pipe Bolt
408 - Oil Pump Suction Pipe Nut
441 - Oil Filter Adapter Gasket
442 - Oil Filter Adapter Bolt
449 - Oil Filter
480 - Oil Pump Outlet Tube
481 - Oil Pump Outlet Tube O-ring
482 - Oil Pump Outlet Tube Bolt
600 - Left Exhaust Manifold and Converter
601 - Left Exhaust Manifold Gasket
610 - Left Exhaust Manifold Heat Shield
611 - Left Exhaust Manifold Heat Shield Bolt
620 - Right Exhaust Manifold and Converter
621 - Right Exhaust Manifold Gasket
623 - Cylinder Head Exhaust Manifold Nut
624 - Cylinder Head Exhaust Manifold Bolt
630 - Right Exhaust Manifold Heat Shield
631 - Right Exhaust Manifold Heat Shield Bolt
720 - Crankshaft Position Sensor
721 - Crankshaft Position Sensor O-ring
722 - Crankshaft Position Sensor Bolt
723 - Knock Sensor
723 - Knock Sensor
724 - Knock Sensor Bolt
724 - Knock Sensor Bolt
790 - Starter Motor
791 - Starter Motor Bolt
792 - Starter Motor Solenoid Cable Nut - Larger
793 - Starter Motor Solenoid Cable Nut - Small
794 - Battery Positive and Negative Starter Cable
795 - Bracket Bolt
796 - Crankshaft Position Sensor and Knock Sensor Wiring Harness
797 - Bracket

Camshaft Cover Assembly

Camshaft Cover Assembly:




250 - Left Camshaft Cover
251 - Left Camshaft Cover Gasket
252 - Right Camshaft Cover
253 - Right Camshaft Cover Gasket
254 - Camshaft Cover Spark Plug Port Seal
255 - Camshaft Cover Bolt
256 - Camshaft Cover Bolt Insulator
258 - Oil Fill Cap
259 - Oil Fill Cap O-Ring
260 - Left Camshaft Cover PCV Fitting
261 - Right Camshaft Cover PCV Fitting Orifice
704 - Ignition Coil
704 - Ignition Coil
705 - Ignition Coil Bolt
705 - Ignition Coil Bolt
706 - Ignition Coil Seal
706 - Ignition Coil Seal
707 - Ignition Coil Assembly Wiring Harness
707 - Ignition Coil Assembly Wiring Harness
708 - Ignition Coil Assembly Bolt
708 - Ignition Coil Assembly Bolt
709 - Ignition Coil Assembly Ball Stud
709 - Ignition Coil Assembly Ball Stud
710 - Ignition Coil Assembly Bracket
710 - Ignition Coil Assembly Bracket
719 - Spark Plug
770 - Camshaft Cover to Cylinder Head Ground Strap
770 - Camshaft Cover to Cylinder Head Ground Strap
771 - Ground Strap to Camshaft Cover Bolt
771 - Ground Strap to Camshaft Cover Bolt
772 - Ground Strap to Cylinder Head Bolt
772 - Ground Strap to Cylinder Head Bolt

Camshaft Timing Components

Camshaft Timing Components:




150 - Crankshaft Sprocket
152 - Primary Timing Chain Tensioner
153 - Timing Chain Tensioner Bolt
153 - Timing Chain Tensioner Bolt
153 - Timing Chain Tensioner Bolt
155 - Primary Timing Chain
158 - Primary Timing Chain Guide
159 - Timing Chain Guide and Shoe Bolt
159 - Timing Chain Guide and Shoe Bolt
159 - Timing Chain Guide and Shoe Bolt
159 - Timing Chain Guide and Shoe Bolt
159 - Timing Chain Guide and Shoe Bolt
160 - Camshaft Intermediate Drive Shaft Sprocket
161 - Camshaft Intermediate Drive Shaft Sprocket Bolt
162 - Camshaft Intermediate Drive Shaft
163 - Camshaft Intermediate Drive Shaft Bolt
170 - Secondary Timing Chain
170 - Secondary Timing Chain
171 - Secondary Timing Chain Guide
171 - Secondary Timing Chain Guide
173 - Left Secondary Timing Chain Shoe
175 - Left Secondary Timing Chain Tensioner
183 - Right Secondary Timing Chain Shoe
185 - Right Secondary Timing Chain Tensioner
189 - Camshaft Position Actuator Oil Control Valve
189 - Camshaft Position Actuator Oil Control Valve
190 - Left Exhaust Camshaft Position Actuator
191 - Left Intake Camshaft Position Actuator
193 - Right Exhaust Camshaft Position Actuator
194 - Right Intake Camshaft Position Actuator

Intake Manifold

Intake Manifold:




17 - Fuel Rail Assembly
500 - Intake Manifold
520 - Intake Manifold Seal
530 - Intake Manifold Bolt
531 - Fuel Rail Stud
531 - Fuel Rail Stud
591 - Fuel Injector Sight Shield Cover Bracket
592 - Fuel Injector Sight Shield Cover Bracket Nut
594 - Fuel Injector Sight Shield Cover Ball Stud
775 - Engine Wiring Harness Ground Nut

Fuel Rail

Fuel Rail:




560 - Fuel Rail
561 - Fuel Injector
562 - Fuel Injector Retainer
563 - Fuel Injector Upper Seal
564 - Fuel Injector Lower Seal
565 - Fuel Pressure Service Valve Cap
566 - Fuel Pressure Service Valve
580 - Fuel Pulse Dampener
581 - Fuel Pulse Dampener O-ring

Cylinder Head Assemblies

Cylinder Head Assemblies:




300 - Left Cylinder Head
301 - Right Cylinder Head
302 - Left Cylinder Head Gasket
303 - Right Cylinder Head Gasket
310 - Cylinder Head Bolt - M11
311 - Cylinder Head Front Bolt - M6
312 - Cylinder Head Coolant Hole Expansion Plug
313 - Cylinder Head Coolant Hole Plug
314 - Cylinder Head Coolant Hole Plug Seal Ring
315 - Cylinder Head Oil Gallery Plug
315 - Cylinder Head Oil Gallery Plug
316 - Cylinder Head Oil Gallery Plug Ring
316 - Cylinder Head Oil Gallery Plug Ring
317 - Engine Oil Gallery Restrictor
317 - Engine Oil Gallery Restrictor
320 - Exhaust Valve
321 - Intake Valve
322 - Valve Rocker Arm Assembly
323 - Hydraulic Valve Lash Adjuster Assembly
324 - Valve Stem Oil Seal
325 - Valve Spring
326 - Valve Spring Cap
327 - Valve Stem Key
330 - Left Exhaust Camshaft
331 - Left Intake Camshaft
332 - Right Intake Camshaft
333 - Right Exhaust Camshaft
334 - Cylinder Head Front Camshaft Cap
335 - Cylinder Head Front Camshaft Cap
336 - Cylinder Head Camshaft Cap
337 - Cylinder Head Camshaft Cap Bolt
337 - Cylinder Head Camshaft Cap Bolt
337 - Cylinder Head Camshaft Cap Bolt
338 - Camshaft Sprocket Locating Pin
340 - Left Camshaft Position Actuator Housing
341 - Right Camshaft Position Actuator Housing
342 - Left Camshaft Position Actuator Housing Gasket
343 - Right Camshaft Position Actuator Housing Gasket
344 - Camshaft Position Actuator Housing Pin
345 - Camshaft Position Actuator Housing Stud - Short
345 - Camshaft Position Actuator Housing Stud - Short
346 - Camshaft Position Actuator Housing Stud - Long
346 - Camshaft Position Actuator Housing Stud - Long
347 - Camshaft Position Actuator Housing Bolt
625 - Cylinder Head Exhaust Manifold Stud
711 - Engine Coolant Temperature Sensor
725 - Camshaft Position Sensor
726 - Camshaft Position Sensor O-Ring
727 - Camshaft Position Sensor Bolt
735 - Camshaft Position Actuator Magnet
736 - Camshaft Position Actuator Magnet Bolt
737 - Camshaft Position Actuator Magnet Plug
738 - Camshaft Position Actuator Magnet Plug O-Ring

Engine Front Cover, Water Crossover and Throttle Body Assembly

Engine Front Cover, Water Crossover and Throttle Body Assembly:




350 - Engine Front Cover
351 - Engine Front Cover Gasket
352 - Engine Front Cover Bolt
353 - Engine Front Cover Seal
356 - Engine Front Cover Fitting
360 - Water Pump Assembly
361 - Water Pump Bolt
362 - Water Pump Gasket
363 - Water Pump Pulley
364 - Water Pump Pulley Bolt
365 - Engine Cooling Thermostat
366 - Engine Cooling Thermostat Gasket
367 - Engine Cooling Thermostat Housing
368 - Engine Cooling Thermostat Housing Bolt
380 - Water Outlet
381 - Water Outlet Gasket
382 - Water Outlet Bolt - Short
384 - Water Bypass Hose
385 - Water Bypass Hose Clamp
386 - Engine Coolant Air Bleed Hose Fitting
387 - Heater Inlet Hose Fitting
388 - Water Outlet Bolt - Long
390 - Crankshaft Balancer
391 - Crankshaft Balancer Bolt
525 - Intake Manifold Plenum Duct
526 - Intake Manifold Plenum Duct Clamp
526 - Intake Manifold Plenum Duct Clamp
701 - Throttle Body
702 - Throttle Body Bolt
703 - Throttle Body Gasket
740 - MAP Sensor
741 - MAP Sensor O-Ring
742 - MAP Sensor Bracket
743 - MAP Sensor Stud
744 - EVAP Purge Solenoid
745 - EVAP Purge Solenoid O-Ring
746 - EVAP Purge Solenoid Bolt

Oil Pump

Oil Pump:




463 - Oil Pump Housing
464 - Oil Pump Cover
465 - Oil Pump Driven Gear
466 - Oil Pump Drive Gear
467 - Oil Pump Driven Gear Spacer
468 - Oil Pump Cover Bolt
469 - Oil Pump Cover Locating Pin
470 - Oil Pump Pressure Relief Valve Bore Plug
471 - Oil Pump Pressure Relief Valve Spring
472 - Oil Pressure Relief Valve

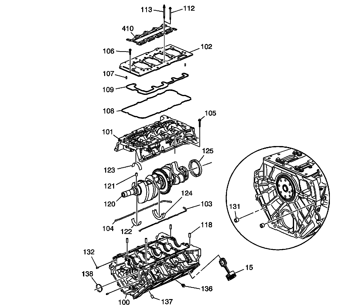
Engine Block Assembly

Engine Block Assembly:




15 - Piston and Connecting Rod Assembly
100 - Engine Block
101 - Lower Crankcase
102 - Engine Oil Distribution Plate
103 - Right Lower Crankcase Seal
104 - Left Lower Crankcase Seal
105 - Lower Crankcase Bolt
106 - Engine Oil Distribution Plate Bolt
107 - Oil Pan Locating Pin
108 - Engine Oil Distribution Plate Outer Seal
109 - Engine Oil Distribution Plate Inner Seal
112 - Lower Crankcase Main Bolt
113 - Lower Crankcase Main Stud
118 - Lower Crankcase Locating Pin
120 - Crankshaft
121 - Crankshaft Sprocket Locating Pin
122 - Crankshaft Upper Bearing
123 - Crankshaft Lower Bearing
124 - Crankshaft Upper Thrust Bearing #3
125 - Piston, Rings and Connecting Rod Assembly
131 - Transaxle Locating Pin
132 - Engine Front Cover Locating Pin
136 - Engine Block Coolant Drain Plug
137 - Cylinder Head Locating Pin
138 - Camshaft Intermediate Drive Shaft Plug
410 - Oil Pan Baffle Scraper

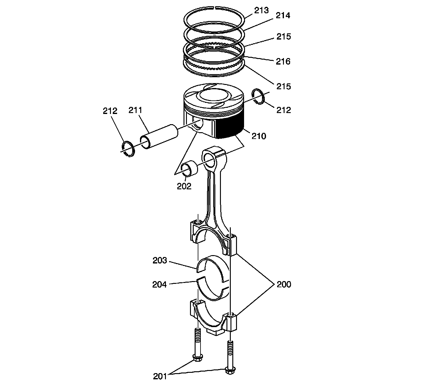
Piston, Rings, Bearing and Connecting Rod

Piston, Rings, Bearing and Connecting Rod:




200 - Connecting Rod
201 - Connecting Rod Bolt
202 - Connecting Rod Bushing
203 - Connecting Rod Bearing
210 - Piston
211 - Piston Pin
212 - Piston Pin Retainer
212 - Piston Pin Retainer
213 - Piston Upper Compression Ring
214 - Piston Lower Compression Ring
215 - Piston Oil Control Rail Ring
216 - Piston Oil Control Ring Spacer
217 - Lower Oil Control Ring

Oil Pan Assembly Components

Oil Pan Assembly Components:




400 - Oil Pan
401 - Oil Pan Gasket
402 - Oil Pan Gasket Rivet
402 - Oil Pan Gasket Rivet
412 - Oil Pan Drain Plug
413 - Oil Pan Drain Plug O-ring
420 - Oil Pan Bolt - Short
421 - Oil Pan Bolt - Medium
422 - Oil Pan Bolt - Long

Oil Filter Adapter

Oil Filter Adapter:




440 - Oil Filter Adapter
441 - Oil Filter Adapter Gasket
442 - Oil Filter Adapter Bolt
445 - Oil Filter Fitting
446 - Oil Filter Bypass Valve
449 - Oil Filter
457 - Oil Filter Bypass Valve Hole Plug
717 - Engine Oil Pressure Sensor Heat Shield
718 - Engine Oil Pressure Sensor Heat Shield Bolt
728 - Engine Oil Pressure Sensor
729 - Engine Oil Pressure Sensor O-ring

Oil Filter Adapter with Oil Cooler

Oil Filter Adapter with Oil Cooler:




441 - Oil Filter Adapter Gasket
442 - Oil Filter Adapter Bolt
444 - Oil Filter Adapter with Oil Cooler
445 - Oil Filter Fitting
446 - Oil Filter Bypass Valve
449 - Oil Filter
452 - Oil Cooler Bypass Valve
453 - Oil Cooler Bypass Valve Hole Plug O-ring
454 - Oil Cooler Bypass Valve Hole Plug
455 - Oil Filter Adapter Oil Cooler Pipe Fitting
717 - Engine Oil Pressure Sensor Heat Shield
718 - Engine Oil Pressure Sensor Heat Shield Bolt
728 - Engine Oil Pressure Sensor
729 - Engine Oil Pressure Sensor O-ring