LEMON Manuals: Even more car manuals for everyone: 1960-2025
Home >> Cadillac >> 2008 >> STS Base, 4.6 A, AWD >> Repair and Diagnosis >> External Pages >> Different car >> Section 37 (Wiring Systems And Power Management - Component Views & Component Connector End Views) >> Component Connector End Views >> Rear Compartment Lid Release Switch - Exterior
April 5, 2026: LEMON Manuals is launched! Read the announcement.

Rear Compartment Lid Release Switch - Exterior

WARNING: This page is about a different car, the 2008 Chevrolet Malibu Classic. However, it is still accessible from the selected car via links, so may be relevant.
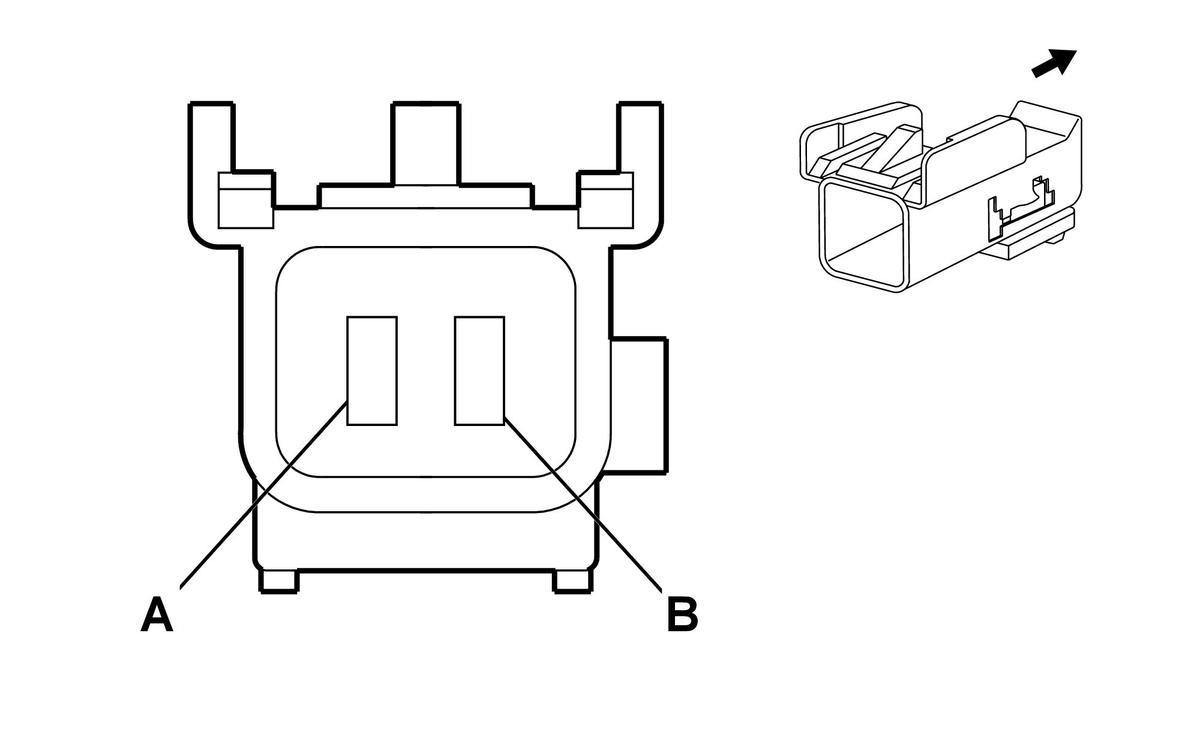
Fig 1: Rear Compartment Lid Release Switch - Exterior Connector End View
GM872877Courtesy of GENERAL MOTORS CORP.
Rear Compartment Lid Release Switch - Exterior

Pin Wire Circuit Function
A 0.35 BK 1350 Ground
B 0.35 TN 305 Trunk Key Switch Signal
Connector Part Information 
  • OEM: 15332130
  • Service: 88986459
  • Description: 2-Way M Metri-Pack 150 Series (BK)
Terminal Part Information 
  • Terminal/Tray: See Terminal Repair Kit
  • Core/Insulation Crimp: See Terminal Repair Kit
  • Release Tool/Test Probe: See Terminal Repair Kit