LEMON Manuals: Even more car manuals for everyone: 1960-2025
Home >> Cadillac >> 2008 >> STS Base, 4.6 A, AWD >> Repair and Diagnosis >> External Pages >> Different car >> Section 37 (Wiring Systems And Power Management - Component Views & Component Connector End Views) >> Component Connector End Views >> Throttle Actuator Control (TAC) Module (LZ4)
April 5, 2026: LEMON Manuals is launched! Read the announcement.

Throttle Actuator Control (TAC) Module (LZ4)

WARNING: This page is about a different car, the 2008 Chevrolet Malibu Classic. However, it is still accessible from the selected car via links, so may be relevant.
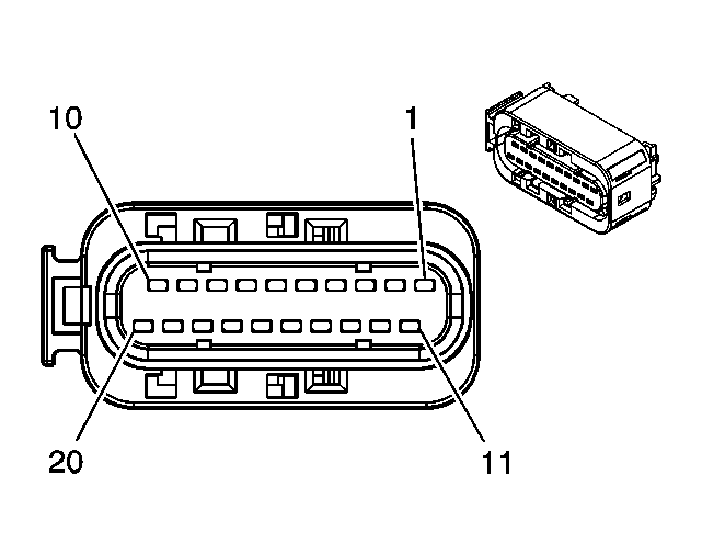
Fig 1: Throttle Actuator Control (TAC) Module (LZ4) Connector End View
GM1243581Courtesy of GENERAL MOTORS CORP.
Throttle Actuator Control (TAC) Module (LZ4)

Pin Wire Circuit Function
1 0.35 TN 1274 5-Volt Reference
2 0.35 PU 1272 Low Reference
3 0.35 L-BU 1162 APP Sensor 2 Signal
4 0.35 BN 818 Vehicle Speed Signal
5 - - Not Used
6 0.35 WH 17 Stop Lamp Switch Signal
7 0.35 TN 800 UART Serial Data (Primary)
8 0.35 BK/WH 451 Ground
9-10 - - Not Used
11 0.35 D-BU 1161 APP Sensor 1 Signal
12 0.35 BN 1271 Low Reference
13 0.35 WH/BK 1164 5-Volt Reference
14-15 - - Not Used
16 0.35 OG/BK 1061 UART Serial Data (Secondary)
17 0.35 BK/WH 451 Ground
18 0.35 PK/BK 5290 Ignition 1 Voltage
19-20 - - Not Used
Connector Part Information 
  • OEM: 15355368
  • Service: 15355368
  • Description: 20-Way F GT 150 Series Sealed (GY)
Terminal Part Information 
  • Pins: 1-4, 6-8, 11-13, 16-18
  • Terminal/Tray: 15326267/19
  • Core/Insulation Crimp: Pins 1-4, 6-7, 11-13, 16: E/4
  • Core/Insulation Crimp: Pins 8, 17-18: E/1
  • Release Tool/Test Probe: 15315247/J-35616-2A (GY)