LEMON Manuals: Even more car manuals for everyone: 1960-2025
Home >> Cadillac >> 2008 >> STS Base, 4.6 A, AWD >> Repair and Diagnosis >> External Pages >> Different car >> Section 37 (Wiring Systems And Power Management - Component Views & Component Connector End Views) >> Electrical Center Identification Views >> Body Control Module (BCM) - Label
April 5, 2026: LEMON Manuals is launched! Read the announcement.

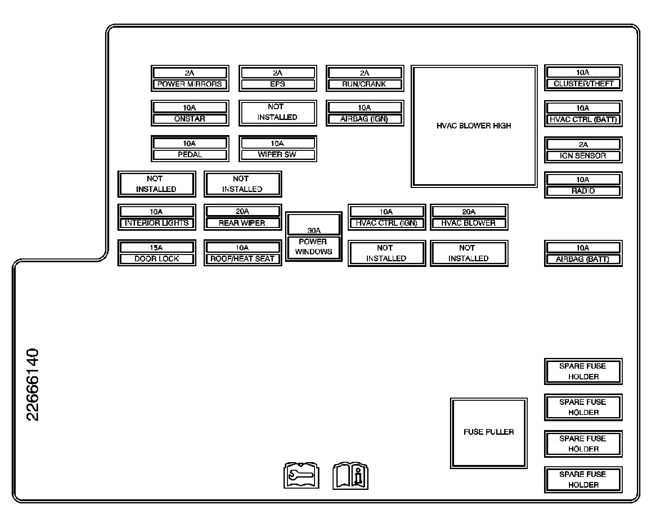
Body Control Module (BCM) - Label

WARNING: This page is about a different car, the 2008 Chevrolet Malibu Classic. However, it is still accessible from the selected car via links, so may be relevant.
Fig 1: Body Control Module (BCM) - Cover
GM1689114Courtesy of GENERAL MOTORS CORP.
Body Control Module (BCM) Label Usage

Device Rating Description
AIRBAG (BATT) Fuse 10A Inflatable Restraint Sensing and Diagnostic Module (SDM)
AIRBAG (IGN) Fuse 10A Inflatable Restraint Sensing and Diagnostic Module (SDM)
CLUSTER/THEFT Fuse 10A Instrument Panel Cluster (IPC) and Theft Deterrent Control Module
DOOR LOCK Fuse 15A Body Control Module (BCM) Logic
EPS Fuse 2A Power Steering Control Module
HVAC BLOWER Fuse 20A HVAC Control Module (C60)
HVAC BLOWER HIGH Relay - Blower Motor (C60)
HVAC CTRL (BATT) Fuse 10A Data Link Connector (DLC) and HVAC Control Module
HVAC CTRL (IGN) Fuse 10A HVAC Control Module
IGN SENSOR Fuse 2A Ignition Switch
INTERIOR LIGHTS Fuse 10A Body Control Module (BCM) Logic
ONSTAR Fuse 10A Vehicle Communication Interface Module (VCIM) (UE1)
PEDAL Fuse 10A Adjustable Pedals Module (JF4) and Adjustable Pedals Position Switch (JF4)
POWER MIRRORS Fuse 2A Outside Rearview Mirror Switch
POWER WINDOWS Fuse 30A Window Switch - Driver and Window Switch - Passenger
RADIO Fuse 10A Radio
REAR WIPER Fuse 20A Rear Window Wiper Module
ROOF/HEAT SEAT Fuse 10A Heated Seat Control Module - Driver (KA1), Heated Seat Control Module - Passenger (KA1), Heated Seat Switch - Driver (KA1), Heated Seat Switch - Passenger (KA1), Inside Rearview Mirror (DD8), and Sunroof Control Module (CF5)
RUN/CRANK Fuse 2A A/T Shift Lock Control Assembly, Cruise Control On/Off Switch
WIPER SW Fuse 10A Windshield Wiper/Washer Switch