LEMON Manuals: Even more car manuals for everyone: 1960-2025
Home >> Cadillac >> 2008 >> STS Base, 4.6 A, AWD >> Repair and Diagnosis >> Quick Lookups >> Electrical Component Locations >> Wiring Systems And Power Management - Electrical Center Identification View & Component Connector End View Index >> Electrical Center Identification View >> Fuse Block - Underhood C1
April 5, 2026: LEMON Manuals is launched! Read the announcement.

Fuse Block - Underhood C1

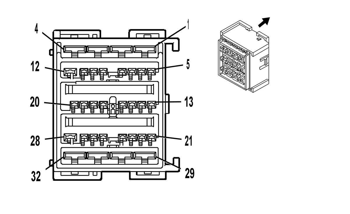
Fig 1: Fuse Block - Underhood C1 Connector End View
GM1827035Courtesy of GENERAL MOTORS CORP.
Fuse Block - Underhood C1

Pin Wire Circuit Function
1 3 GY 532 Cooling Fan Motor Supply Voltage
2-3 - - Not Used
4 3 BK 250 Ground
5 0.35 PU 709 Left Park Lamp Supply Voltage
0.35 PU 709 Left Park Lamp Supply Voltage (T84)
0.5 PU 709 Left Park Lamp Supply Voltage (TT6)
6 0.35 RD/WH 340 Battery Positive Voltage (K59)
7 0.5 BN/WH 1473 Right Park Lamp Supply Voltage (TT7/TT8)
8 0.35 BN/WH 309 Right Park Lamp Supply Voltage
0.35 BN/WH 309 Right Park Lamp Supply Voltage (T84)
0.5 BN/WH 309 Right Park Lamp Supply Voltage (TT6)
9 0.35 D-BU/WH 1315 Right Turn Signal Indicator Lamp Supply Voltage
D-BU/WH 1315 Right Turn Signal Indicator Lamp Supply Voltage (TT7/TT8)
10 0.8 PU 2234 Fog Lamp Supply Voltage
11 0.5 PU 1472 Left Park Lamp Supply Voltage (TT7/TT8)
12-13 - - Not Used
14 0.35 RD/WH 340 Battery Positive Voltage (TR7)
15 0.8 D-GN/WH 711 Left Head Lamp High Beam Supply Voltage
16 - - Not Used
17 0.35 L-BU/WH 1314 Left Front Turn Signal Lamp Supply Voltage
18 0.8 PU 2234 Fog Lamp Supply Voltage
19 - - Not Used
20 .035 PK 1439 Ignition 1 Voltage (TR7)
21 1 TN/WH 312 Right Headlamp Low Beam Supply Voltage
22 1 YE 712 Left Headlamp Low Beam Supply Voltage
23 0.35 L-GN/BK 311 Right Headlamp High Beam Supply Voltage
24 - - Not Used
25 0.8 D-GN 29 Horn Control
26 - - Not Used
27 0.5 BK 250 Ground
28 - - Not Used
29 3 WH 504 Cooling Fan Low Reference
30-31 - - Not Used
32 3 L-BU 409 Cooling Fan Motor Supply Voltage
Connector Part Information 
  • OEM: 7283-9458-30
  • Service: See Catalog
  • Description: 32-Way F YESC Kaizen Series (BK)
Terminal Part Information 
  • Pins: 1, 4, 29, 32
  • Terminal/Tray: 7116-4122-02/10
  • Core/Insulation Crimp: A/B
  • Release Tool/Test Probe: 12094430/J-35616-42 (RD)
  • Pins: 5, 8, 9, 17, 27
  • Terminal/Tray: 7116-4100-08/9
  • Core/Insulation Crimp: See Terminal Repair Kit
  • Release Tool/Test Probe: 12094430/J-35616-2A (GY)
  • Pins: 6, 7, 10, 11, 14, 15, 18, 20, 21-23, 25
  • Terminal/Tray: See Terminal Repair Kit
  • Core/Insulation Crimp: See Terminal Repair Kit
  • Release Tool/Test Probe: See Terminal Repair Kit