LEMON Manuals: Even more car manuals for everyone: 1960-2025
Home >> Cadillac >> 2008 >> STS Base, 4.6 A, AWD >> Repair and Diagnosis >> Quick Lookups >> Electrical Component Locations >> Wiring Systems And Power Management - Electrical Center Identification View & Component Connector End View Index >> Electrical Center Identification View >> Fuse Block - Underhood C2
April 5, 2026: LEMON Manuals is launched! Read the announcement.

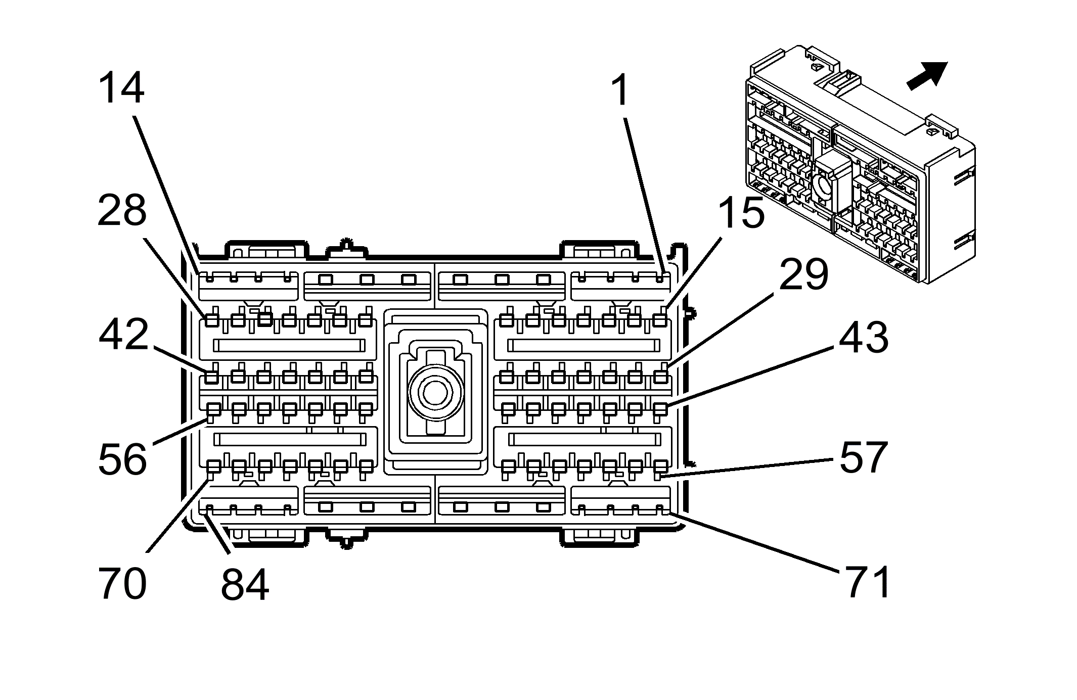
Fuse Block - Underhood C2

Fig 1: Fuse Block - Underhood C2 Connector End View
GM1827034Courtesy of GENERAL MOTORS CORP.
Fuse Block - Underhood C2

Pin Wire Circuit Function
1-4 - - Not Used
5 5 BK 9342 Battery Positive Voltage (LHD+JL7)
6 5 RD/BK 2 Battery Positive Voltage
7 5 RD/BK 2 Battery Positive Voltage
8 5 L-BU 188 Blower Motor Control Processor Supply Voltage
9 5 RD/BK 2 Battery Positive Voltage
10-12 - - Not Used
13 0.35 PK 5126 After Boil Heater Pump Supply Voltage
14 3 YE 143 Accessory Voltage
15 0.35 YE 32 Instrument Panel Lamp Fuse Supply Voltage
16-19 - - Not Used
20 0.35 WH 1080 Park Lamp Relay Control
23 0.35 RD/WH 1440 Battery Positive Voltage
24 0.35 BN 247 Blower Motor Relay Control
25 0.35 PK/WH 1970 Headlamp Low Beam Relay Control
26 - - Not Used
27 0.35 YE 43 Accessory Voltage
0.35 YE 43 Accessory Voltage (YQ7)
28 0.35 BN 4 Accessory Voltage
29 0.35 PK 1539 Ignition 1 Voltage
30-33 - - Not Used
34 0.35 YE 32 Instrument Panel Lamp Fuse Supply Voltage
35-37 - - Not Used
38 0.5 PU 709 Left Park Lamp Supply Voltage
39 0.35 RD/WH 1440 Battery Positive Voltage
40 - - Not Used
41 0.35TN/WH 1969 Headlamp High Beam Relay Control (-TQ5)
42 0.35 TN 28 Horn Relay Control
43 0.8 PK 239 Ignition Voltage
44 - - Not Used
45 0.35 RD/WH 3340 Battery Positive Voltage
46-47 - - Not Used
48 0.35 PK 1639 Ignition Voltage
49-51 - - Not Used
52 0.35 YE 243 Accessory Voltage (CE1/UH3)
53 0.35 D-BU/WH 1315 Right Front Turn Signal Lamp Supply Voltage
54 - - Not Used
55 0.35 PK 1439 Ignition Voltage (XA7)
0.35 PK 1439 Ignition Voltage (XA7)
56 0.5 PU 1472 Left Park Lamp Supply Voltage (TT7/TT8)
57 0.35 RD/WH 340 Battery Positive Voltage
58 - - Not Used
59 RD/WH 1640 Battery Positive Voltage
RD/WH 1640 Battery Positive Voltage (UV6)
60-61 - - Not Used
62 0.35 D-GN/WH 1317 Fog Lamp Relay Control
63-64 - - Not Used
65 0.35 YE 243 Accessory Voltage (TT6/TT7/TT8)
66 0.5 BN/WH 309 Right Park Lamp Supply Voltage
67 0.35 L-BU/WH 1314 Left Front Turn Signal Lamp Supply Voltage
68-69 - - Not Used
70 0.5 BN/WH 1473 Accessory Voltage (TT7/TT8)
71-72 - - Not Used
73 3 RD/WH 2140 Battery Positive Voltage (RHD+TQ5)
0.8 RD/WH 2140 Battery Positive Voltage (LHD+TQ5)
74 - - Not Used
75 3 RD/BK 4042 Battery Positive Voltage (TT6/TT7/TT8)
76-79 - - Not Used
80 5 RD/BK 2 Battery Positive Voltage
81 0.8 RD/WH 3540 Battery Positive Voltage
82 0.35 RD/WH 1140 Battery Positive Voltage
0.35 RD/WH 1140 Battery Positive Voltage
83 - - Not Used
84 1 RD/WH 2040 Battery Positive Voltage
Connector Part Information 
  • OEM: 7283-9464-3W
  • Service: See Catalog
  • Description: 84-Way F YESC Kaizen Series (BK)
Terminal Part Information 
  • Pins: 5-7, 9, 42, 75, 80
  • Terminal/Tray: 7116-4122-02/10
  • Core/Insulation Crimp: Pins 5, 42, 75 - A/B
  • Core/Insulation Crimp: Pins 6, 7, 9, 80 - D/G
  • Release Tool/Test Probe: 12094430/J-35616-42 (RD)
  • Pins: 13, 14, 74, 83
  • Terminal/Tray: 7116-4112-02/9
  • Core/Insulation Crimp: C/D
  • Release Tool/Test Probe: 12094430/J-35616-35 (VT)
  • Pins: 16, 17, 24-26, 28, 30, 31, 38-40, 42-48, 54-56, 61, 67, 69, 70
  • Terminal/Tray: 7116-4100-08/9
  • Core/Insulation Crimp: E/C
  • Release Tool/Test Probe: 12094430/J-35616-2A (GY)
  • Pins: 23, 29, 41, 57-59, 72, 73, 81, 82, 84
  • Terminal/Tray: 7116-4111-02/9
  • Core/Insulation Crimp: Pins 23, 81, 84 - C/A
  • Core/Insulation Crimp: Pins 29, 41, 57, 58, 59, 72, 73, 82 - E/A
  • Release Tool/Test Probe: 12094430/J-35616-4A (PU)
  • Pins: 76, 78
  • Terminal/Tray: 7116-4120-02/9
  • Core/Insulation Crimp: E/B
  • Release Tool/Test Probe: 12094430/J-35616-42 (RD)