LEMON Manuals: Even more car manuals for everyone: 1960-2025
Home >> Cadillac >> 2008 >> STS RWD V8-4.6L >> Repair and Diagnosis >> Relays and Modules >> Relays and Modules - Powertrain Management >> Relays and Modules - Computers and Control Systems >> Engine Control Module >> Diagrams >> Diagnostic Aids >> General Electrical Diagnostic Procedures >> Circuit Testing >> Passenger Car Zoning
April 5, 2026: LEMON Manuals is launched! Read the announcement.

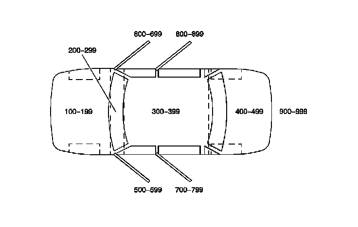
Passenger Car Zoning



Passenger Car Zoning

All grounds, in-line connectors, pass-through grommets, and splices have identifying numbers that correspond to where they are located in the vehicle. The following table explains the numbering system.