LEMON Manuals: Even more car manuals for everyone: 1960-2025
Home >> Cadillac >> 2008 >> XLR Base >> Repair and Diagnosis (Single Page) >> Electrical >> Component Locations >> Component Locations & Component Connector End Views >> Component Connector End Views >> Adaptive Cruise Module (ACM)
April 5, 2026: LEMON Manuals is launched! Read the announcement.

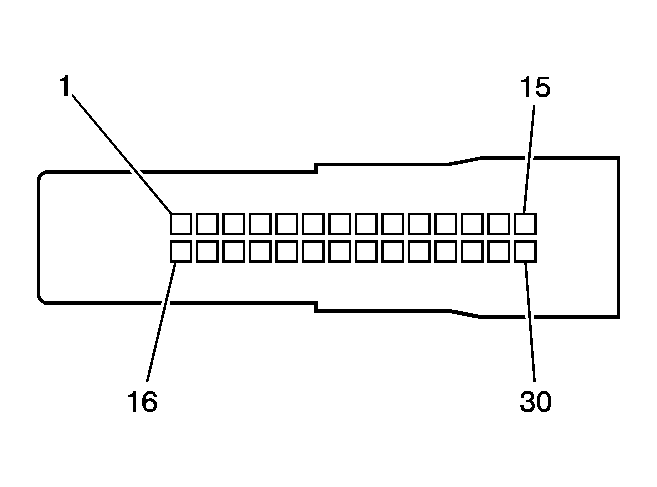
Adaptive Cruise Module (ACM)

Fig 1: Adaptive Cruise Module (ACM) Connector End View
GM1856154Courtesy of GENERAL MOTORS CORP.
Adaptive Cruise Module (ACM)

Pin Wire Circuit Function
1 - - Not Used
2 0.35 L-GN/BK 6432 CAN Bus (-)
3 0.35 TN/WH 6433 CAN Bus (+)
4-7 - - Not Used
8 0.35 TN 2501 High Speed GMLAN Serial Data Bus (-)
9 0.35 TN/BK 2500 High Speed GMLAN Serial Data Bus (+)
10-11 - - Not Used
12 0.35 BK 750 Ground
13 - - Not Used
14 0.35 PK 1039 Ignition 1 Voltage
15 0.35 RD/WH 340 Battery Positive Voltage
16-22 - - Not Used
23 0.35 TN 2501 High Speed GMLAN Serial Data Bus (-)
24 0.35 TN/BK 2500 High Speed GMLAN Serial Data Bus (+)
25-30 - - Not Used
Connector Part Information 
  • OEM: 12185289
  • Service: 88988932
  • Description: 30-Way F (BG)
Terminal Part Information 
  • Terminal/Tray: 1411560-2/25
  • Core/Insulation Crimp: E/C
  • Release Tool/Test Probe: 12094429/J-35616-64B (L-BU)