LEMON Manuals: Even more car manuals for everyone: 1960-2025
Home >> Cadillac >> 2008 >> XLR Base >> Repair and Diagnosis (Single Page) >> Quick Lookups >> Electrical Component Locations >> Component Locations & Component Connector End Views >> Component Connector End Views >> Radio Antenna Module - Right
April 5, 2026: LEMON Manuals is launched! Read the announcement.

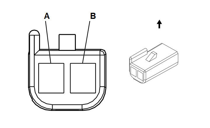
Radio Antenna Module - Right

Fig 1: Radio Antenna Module - Right Connector End View
GM35451Courtesy of GENERAL MOTORS CORP.
Radio Antenna Module - Right

Pin Wire Circuit Function
A 0.35 WH 1487 Antenna Enable Signal
B 0.35 BN 5172 FM Composite Signal
Connector Part Information 
  • OEM: 12059251
  • Service: 12101848
  • Description: 2-Way F Metri-Pack 150 Series (RD)
Terminal Part Information 
  • Terminal/Tray: See Terminal Repair Kit
  • Core/Insulation Crimp: See Terminal Repair Kit
  • Release Tool/Test Probe: See Terminal Repair Kit