LEMON Manuals: Even more car manuals for everyone: 1960-2025
Home >> Cadillac >> 2008 >> XLR Base >> Repair and Diagnosis (Single Page) >> Quick Lookups >> Electrical Component Locations >> Component Locations & Component Connector End Views >> Component Connector End Views >> Recirculation Actuator
April 5, 2026: LEMON Manuals is launched! Read the announcement.

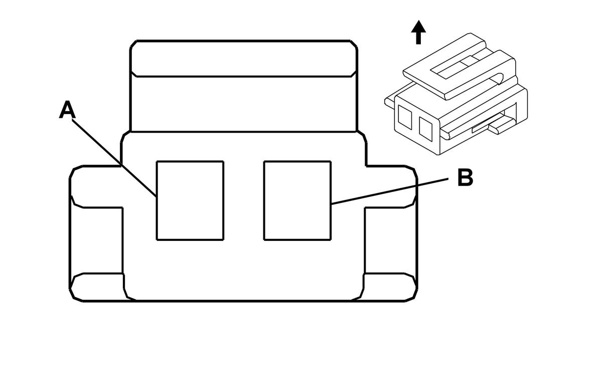
Recirculation Actuator

Fig 1: Recirculation Actuator Connector End View
GM704047Courtesy of GENERAL MOTORS CORP.
Recirculation Actuator

Pin Wire Circuit Function
A 0.35 L-GN/BK 1647 Recirculation Door Control A
B 0.35 PK/WH 1648 Recirculation Door Control B
Connector Part Information 
  • OEM: 12059110
  • Service: 88953271
  • Description: 2-Way F Metri-Pack 150 Series (BK)
Terminal Part Information 
  • Terminal/Tray: 12064971/5
  • Core/Insulation Crimp: E/C
  • Release Tool/Test Probe: 12094429/J-35616-F2A (GY)