LEMON Manuals: Even more car manuals for everyone: 1960-2025
Home >> Cadillac >> 2008 >> XLR Base >> Repair and Diagnosis (Single Page) >> Quick Lookups >> Electrical Component Locations >> Component Locations & Component Connector End Views >> Component Connector End Views >> Seat Adjuster Motor Assembly - Front Passenger
April 5, 2026: LEMON Manuals is launched! Read the announcement.

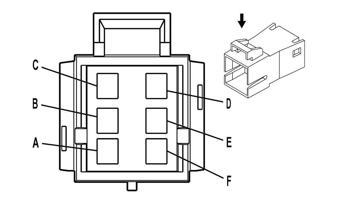
Seat Adjuster Motor Assembly - Front Passenger

Fig 1: Seat Adjuster Motor Assembly - Front Passenger Connector End View
GM39689Courtesy of GENERAL MOTORS CORP.
Seat Adjuster Motor Assembly - Front Passenger

Pin Wire Circuit Function
A 3 TN 296 Passenger Seat Horizontal Motor Forward Control
B 3 L-GN 290 Passenger Seat Horizontal Motor Rearward Control
C 3 D-GN 297 Passenger Seat Front Vertical Motor Up Control
D 3 D-BU 298 Passenger Seat Front Vertical Motor Down Control
E 3 YE 288 Passenger Seat Rear Vertical Motor Up Control
F 3 L-BU 289 Passenger Seat Rear Vertical Motor Down Control
Connector Part Information 
  • OEM: 12064754
  • Service: 15305872
  • Description: 6-Way M Metri-Pack 280 Series, Self Lock (BK)
Terminal Part Information 
  • Terminal/Tray: 12084856/4
  • Core/Insulation Crimp: F/G
  • Release Tool/Test Probe: 12094430/J-35616-5 (PU)