LEMON Manuals: Even more car manuals for everyone: 1960-2025
Home >> Cadillac >> 2008 >> XLR Base >> Repair and Diagnosis (Single Page) >> Quick Lookups >> Electrical Component Locations >> Component Locations & Component Connector End Views >> Component Connector End Views >> Seat Back Heated/Cooled Ventilation Module - Driver
April 5, 2026: LEMON Manuals is launched! Read the announcement.

Seat Back Heated/Cooled Ventilation Module - Driver

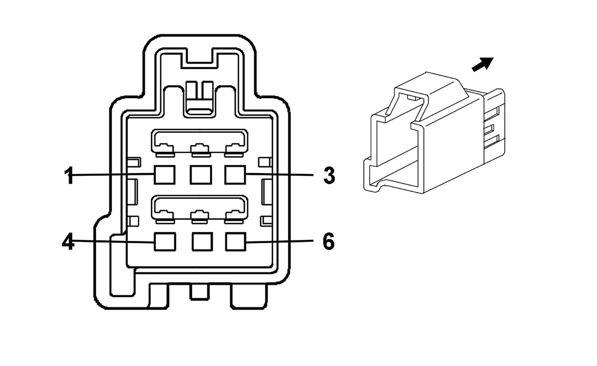
Fig 1: Seat Back Heated/Cooled Ventilation Module - Driver Connector End View
GM1283896Courtesy of GENERAL MOTORS CORP.
Seat Back Heated/Cooled Ventilation Module - Driver

Pin Wire Circuit Function
1 - - Not Used
2 0.35 PK 2426 Low Reference
3 0.35 D-BU 2425 Driver Seat Back Temperature Sensor Signal
4 0.5 PU 2424 Driver Seat Back Heated/Cool Ventilation Module Cool Control
5 - - Not Used
6 0.5 BN 2432 Driver Seat Back Heated/Cool Ventilation Module Heat Control
Connector Part Information 
  • OEM: 7282-5532-40
  • Service: 89046743
  • Description: 6-Way M (GY)
Terminal Part Information 
  • Terminal/Tray: 7114-4100-08/9
  • Core/Insulation Crimp: E/C
  • Release Tool/Test Probe: 15315247/J-35616-3 (GY)