LEMON Manuals: Even more car manuals for everyone: 1960-2025
Home >> Cadillac >> 2008 >> XLR Base >> Repair and Diagnosis (Single Page) >> Quick Lookups >> Electrical Component Locations >> Component Locations & Component Connector End Views >> Component Connector End Views >> Valet Switch
April 5, 2026: LEMON Manuals is launched! Read the announcement.

Valet Switch

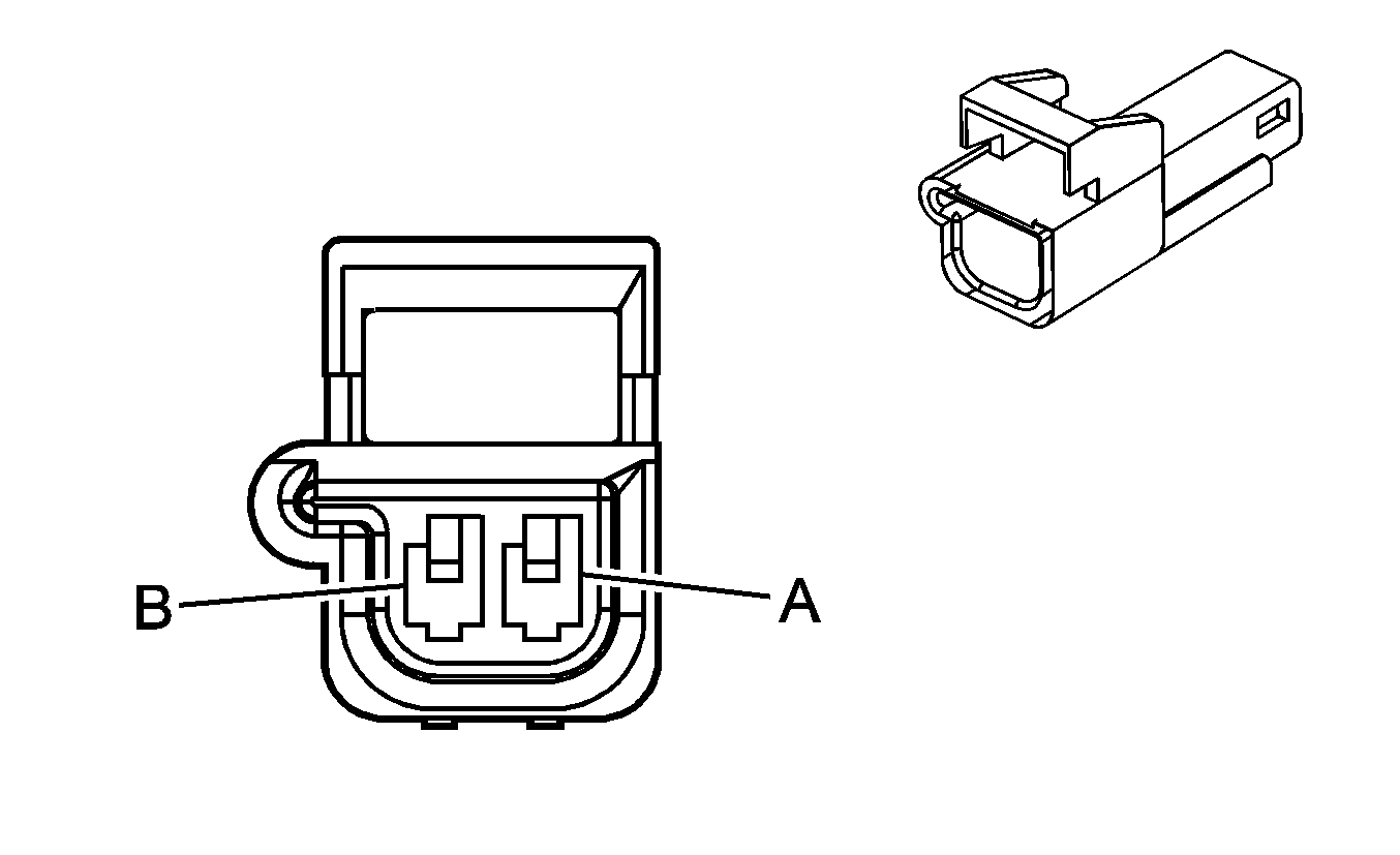
Fig 1: Valet Switch Connector End View
GM130642Courtesy of GENERAL MOTORS CORP.
Valet Switch

Pin Wire Circuit Function
A 0.35 BK 1550 Ground
B 0.35 D-BU/WH 1355 Valet Mode Switch Signal
Connector Part Information 
  • OEM: 12064868
  • Service: 15306065
  • Description: 2-Way F Metri-Pack 150 Series (WH)
Terminal Part Information 
  • Terminal/Tray: 12047581/2
  • Core/Insulation Crimp: E/C
  • Release Tool/Test Probe: 12094429/J-35616-3 (GY)