LEMON Manuals: Even more car manuals for everyone: 1960-2025
Home >> Cadillac >> 2008 >> XLR V8-4.4L SC >> Repair and Diagnosis >> Specifications >> Mechanical Specifications >> Engine >> System Specifications >> Thread Repair Specifications
April 5, 2026: LEMON Manuals is launched! Read the announcement.

Thread Repair Specifications



Thread Repair Specifications

Left Cylinder Head Camshaft Cover Face

Left Cylinder Head Camshaft Cover Face:









Left Cylinder Head Front Face

Left Cylinder Head Front Face:









Left Cylinder Head Intake Face

Left Cylinder Head Intake Face:









Left Cylinder Head Exhaust Face

Left Cylinder Head Exhaust Face:









Left Cylinder Head Rear Face

Left Cylinder Head Rear Face:









Right Cylinder Head Camshaft Cover Face

Right Cylinder Head Camshaft Cover Face:









Right Cylinder Head Front Face

Right Cylinder Head Front Face:









Right Cylinder Head Intake Face

Right Cylinder Head Front Face:









Right Cylinder Head Exhaust Face

Right Cylinder Head Exhaust Face:









Right Cylinder Head Rear Face

Right Cylinder Head Rear Face:









Engine Block Front

Engine Block Front:









Engine Block Left Side

Engine Block Left:









Engine Block Right Side

Engine Block Right Side:









Engine Block Rear

Engine Block Rear:









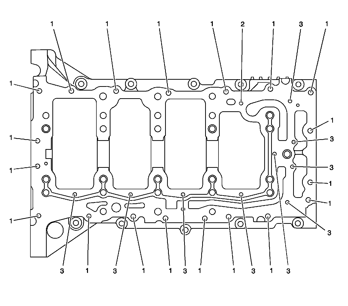
Engine Block Top

Engine Block Top:









Engine Block Left Deck Face

Engine Block Left Deck Face:









Engine Block Right Deck Face

Engine Block Right Deck Face:









Engine Block Lower Face

Engine Block Lower Face:









Lower Crankcase Pan Face

Lower Crankcase Pan Face:









Engine Front Cover

Lower Crankcase Pan Face:









Camshaft Position Actuator Housing

Camshaft Position Actuator Housing:









Camshaft Covers

Camshaft Covers:









#1 Threads are created initially when coil ground strap bolt is installed.

Oil Pan - Top









Oil Pan - Left









Oil Pan - Right









Oil Pan - Rear









Charge Air Cooler Housing - Top

Charge Air Cooler Housing - Top:









Charge Air Cooler Housing - Front

Charge Air Cooler Housing - Front:









Charge Air Cooler Housing - Rear

Charged Air Cooler Housing - Rear:









Charge Air Cooler Manifold - Front

Charged Air Cooler Manifold - Front: