LEMON Manuals: Even more car manuals for everyone: 1960-2025
Home >> Cadillac >> 2009 >> DTS 4.6 9 >> Repair and Diagnosis >> External Pages >> Different car >> Section 301 (Wiring Systems And Power Management - Component Connector End Views - Engine Control Module X2 Through Pressure Control Solenoid) >> Component Connector End Views >> Heated Steering Wheel Element (N30)
April 5, 2026: LEMON Manuals is launched! Read the announcement.

Heated Steering Wheel Element (N30)

WARNING: This page is about a different car, the 2011 Cadillac DTS. However, it is still accessible from the selected car via links, so may be relevant.
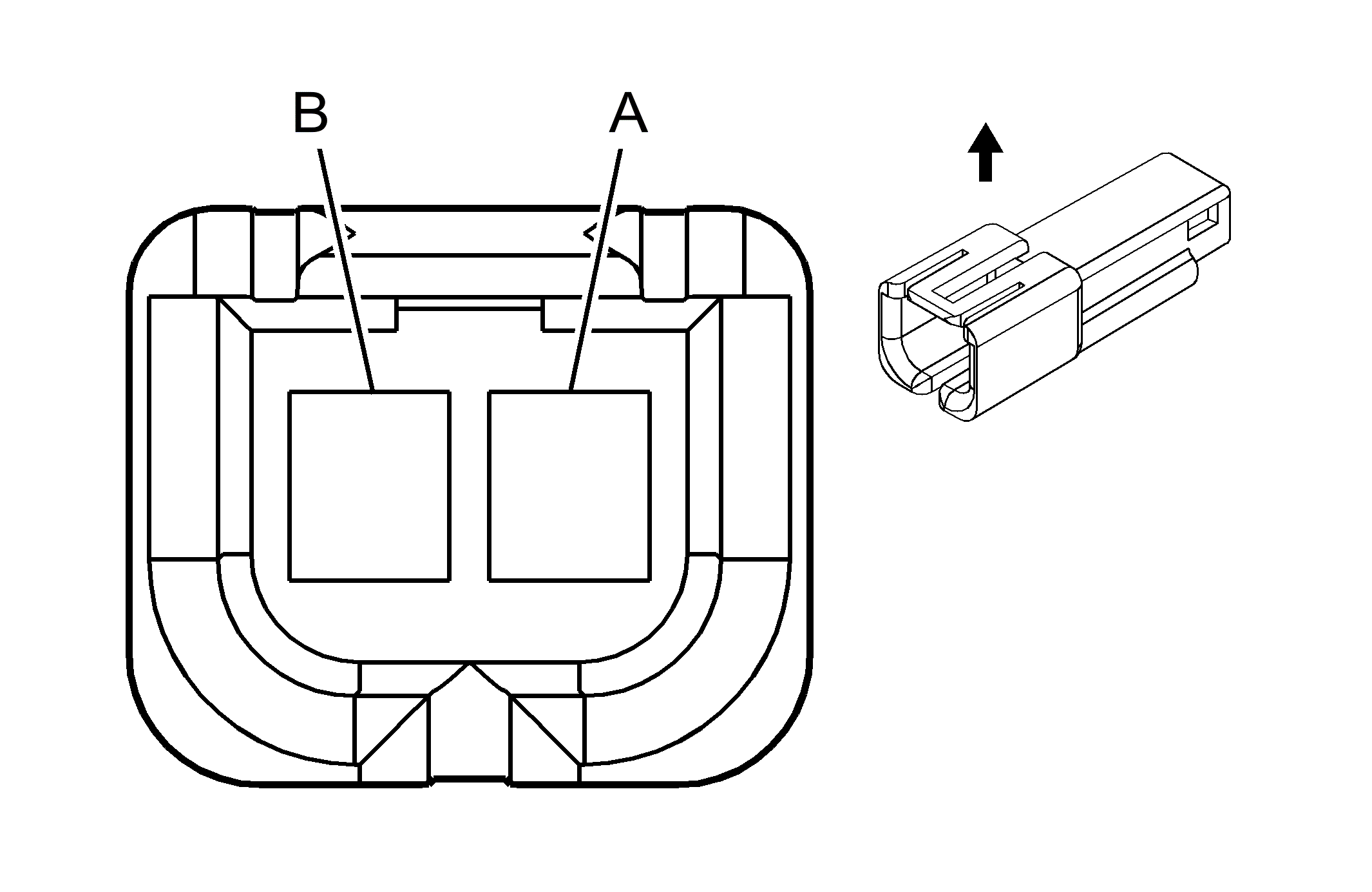
Fig 1: Heated Steering Wheel Element (N30) Connector End View
GM894480Courtesy of GENERAL MOTORS COMPANY
Heated Steering Wheel Element (N30)

Pin Wire Circuit Function
A 0.35 RD/WH 5888 Heated Steering Wheel High Control
B 0.35 RD/WH 5886 Heated Steering Wheel Sensor Signal
Connector Part Information
  • Harness Type: Steering Wheel
  • OEM Connector: 12064778
  • Service Connector: 12126020
  • Description: 2-Way M Metri-Pack 150 Series (L-GN)
Terminal Part Information
  • Terminal/Tray: 120475581/2
  • Core/Insulation Crimp: E/A
  • Release Tool/Test Probe: 12094429/J-35616-3 (GY)