LEMON Manuals: Even more car manuals for everyone: 1960-2025
Home >> Cadillac >> 2009 >> DTS 4.6 9 >> Repair and Diagnosis >> External Pages >> Different car >> Section 301 (Wiring Systems And Power Management - Component Connector End Views - Engine Control Module X2 Through Pressure Control Solenoid) >> Component Connector End Views >> Outside Rearview Mirror Actuator - Driver
April 5, 2026: LEMON Manuals is launched! Read the announcement.

Outside Rearview Mirror Actuator - Driver

WARNING: This page is about a different car, the 2011 Cadillac DTS. However, it is still accessible from the selected car via links, so may be relevant.
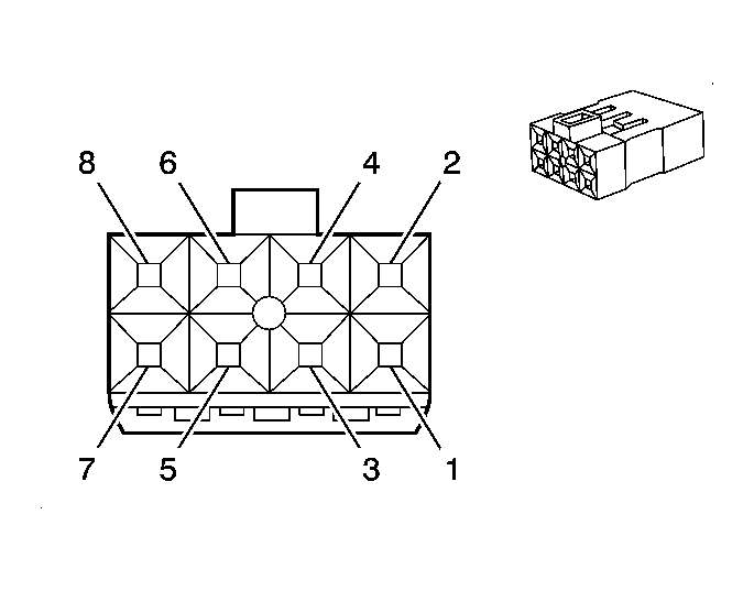
Fig 1: Outside Rearview Mirror Actuator - Driver Connector End View
GM2369041Courtesy of GENERAL MOTORS COMPANY
Outside Rearview Mirror Actuator - Driver

Pin Wire Circuit Function
1 0.35 D-BU 672 5 - Volt Reference
2 0.35 L-BU 329 Driver Mirror Up/Left Control
3 0.35 D-GN 784 Driver Mirror Vertical Position Sensor
4 0.35 L-GN 89 Driver Mirror Down Control
5 0.35 GY 786 Driver Mirror Horizontal Position Sensor
6 0.35 TN 329 Driver Mirror Up/Left Control
7 0.35 BN 673 Low Reference
8 0.35 WH 71 Driver Mirror Right Control
Connector Part Information
  • Harness Type: Outside Rearview Mirror
  • OEM Connector: 69176-008LF
  • Service Connector: Service by Assembly- See Part Catalog
  • Description: 8 - Way F (BK)
Terminal Part Information
  • Terminal/Tray: Service by Assembly- See Part Catalog
  • Core/Insulation Crimp: Service by Assembly- See Part Catalog
  • Release Tool/Test Probe: Service by Assembly- See Part Catalog