LEMON Manuals: Even more car manuals for everyone: 1960-2025
Home >> Cadillac >> 2009 >> DTS V8-4.6L >> Repair and Diagnosis >> Diagrams >> Exploded Views >> Automatic Transmission/Transaxle >> Lower Control Valve Body Assembly
April 5, 2026: LEMON Manuals is launched! Read the announcement.

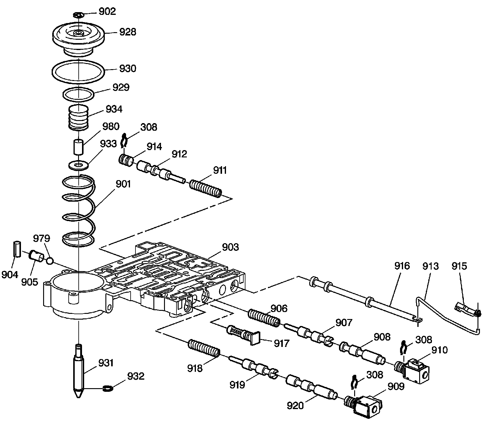
Lower Control Valve Body Assembly




Disassembled Views

Lower Control Valve Body Assembly




308 - Retainer Clip (3)
308 - Retainer Clip (3)
308 - Retainer Clip (3)
901 - Return Spring
902 - Retaining Ring
903 - Lower Control Valve Body
904 - Spring Retainer
905 - Ball Check Capsule
906 - 2-3 Shift Valve Spring
907 - 2-3 Shift Valve C
908 - 2-3 Shift Valve D
909 - 1-2 Shift Solenoid Valve
910 - 2-3 Shift Solenoid Valve
911 - 3-4 Shift Valve Spring
912 - 3-4 Shift Valve
913 - Manual Valve Link
914 - Bore Plug
915 - Manual Valve Link Retainer
916 - Manual Valve
917 - Solenoid Screen Assembly
918 - 1-2 Shift Valve Spring
919 - 1-2 Shift Valve A
920 - 1-2 Shift Valve B
928 - Low/Reverse Servo Piston
929 - Low/Reverse Servo Seal (Small)
930 - Low/Reverse Servo Seal (Large)
931 - Low/Reverse Servo Apply Pin
932 - Retaining Ring
933 - Servo Cushion Spring Washer
934 - Servo Cushion Spring
979 - Ball (0.375 Diameter)
980 - Low/Reverse Cushion Sleeve