LEMON Manuals: Even more car manuals for everyone: 1960-2025
Home >> Cadillac >> 2009 >> SRX 3.6 7, AWD >> Repair and Diagnosis >> Engine Performance >> System >> Engine Control System & Fuel System - 3.6L - Introduction >> Repair Instructions >> Primary Fuel Tank Module Replacement >> Removal Procedure
April 5, 2026: LEMON Manuals is launched! Read the announcement.

Removal Procedure

  1. Remove the fuel tank hoses. Refer to Fuel Hoses/Pipes Replacement - Filter to Tank .
  2. Fig 1: View Of Primary Fuel Tank Module Electrical Connector
    GM820617Courtesy of GENERAL MOTORS CORP.
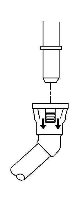
  3. Disconnect the electrical connector from the primary fuel tank module.
  4. Fig 2: Rotating Cam Lock Ring Using Special Tool
    GM820618Courtesy of GENERAL MOTORS CORP.
    NOTE: Do not allow the tool to come in contact with the fuel pipes while unlocking the cam lock ring.
  5. Rotate the cam lock ring counterclockwise using the J 45747  . See Special Tools .
  6. Remove the cam lock ring from the fuel tank.
  7. Fig 3: View Of Primary Fuel Tank Module & Transfer Tube
    GM820619Courtesy of GENERAL MOTORS CORP.
    NOTE: The primary fuel tank module (1) is horizontal in the installed position, but pivots vertically for removal.
  8. Carefully lift the primary fuel tank module (1) from the fuel tank only enough to access the transfer tube (2).
  9. Fig 4: View Of Transfer Tube Locking Mechanism
    GM820621Courtesy of GENERAL MOTORS CORP.
  10. Complete the following in order to disconnect the transfer tube from the primary fuel tank module:
    1. Pull the locking mechanism away from the module.
    2. Remove the transfer tube from the module.
  11. Fig 5: View Of Primary Fuel Tank Module
    GM820623Courtesy of GENERAL MOTORS CORP.
  12. Remove the primary fuel tank module from the fuel tank.
  13. Remove the primary fuel tank module seal from the module.

    Do not reuse the seal.