LEMON Manuals: Even more car manuals for everyone: 1960-2025
Home >> Cadillac >> 2009 >> SRX 4.6 A, AWD >> Repair and Diagnosis >> Engine Performance >> System >> Engine Control System & Fuel System - 4.6L - Introduction >> Description and Operation >> Fuel System Description >> Fuel Pressure Regulator
April 5, 2026: LEMON Manuals is launched! Read the announcement.

Fuel Pressure Regulator

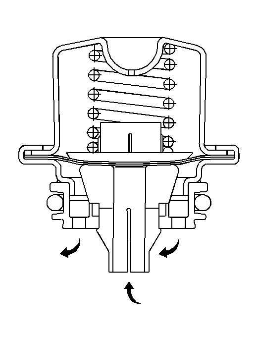
Fig 1: View Of Fuel Pulse Dampener
GM216234Courtesy of GENERAL MOTORS CORP.

The fuel pressure regulator attaches to the fuel return pipe on the fuel sender assembly. The fuel pressure regulator is a diaphragm-operated relief valve. A software bias compensates the injector on-time because the fuel pressure regulator is not referenced to manifold vacuum. The injector pulse width varies with the signal from the mass air flow/intake air temperature (MAF/IAT) sensor.

With the engine running at idle, the system fuel pressure at the pressure test connection should be between 380-410 kPa (55-60 psi). With the system pressurized and the pump OFF, the pressure should stabilize and hold. If the pressure regulator supplies a fuel pressure which is too low or too high, a driveability condition will result.