LEMON Manuals: Even more car manuals for everyone: 1960-2025
Home >> Cadillac >> 2009 >> SRX AWD V8-4.6L >> Repair and Diagnosis >> Diagrams >> Components >> Instrument Panel/Center Console Component Views
April 5, 2026: LEMON Manuals is launched! Read the announcement.

Instrument Panel/Center Console Component Views




Instrument Panel/Center Console Component Views

Instrument Panel and Center Console Components (LHD)




1 - Driver Information Center (DIC) Switch
2 - I/P Dimmer Switch
3 - Turn Signal/Multifunction Switch
4 - Inflatable Restraint Steering Wheel Module
5 - Instrument Panel Cluster (IPC)
6 - Windshield Wiper/Washer Switch
7 - Ambient Light/Sunload Sensor
8 - Speaker - Center I/P
9 - Clock
10 - Radio
11 - Inflatable Restraint I/P Module
12 - HVAC Control Module
13 - Rear Window Defogger Switch
14 - I/P Courtesy Lamp - Right
15 - Hazard Warning Switch
16 - Tow/Haul Switch
17 - Cigar Lighter
18 - Video Display (U42)
19 - Rear Seat Audio (RSA) Control (U42)
20 - Speaker - Center Console (UQS)
21 - Accessory Power Outlet - Center Console 2 (UQS)
22 - Accessory Power Outlet - Center Console 1
23 - Floor Console
24 - Inflatable Restraint I/P Module Indicator
25 - Traction Control Switch (TCS)
26 - Air Temperature Sensor - Inside
27 - Steering Wheel Control Switch - Right
28 - I/P Courtesy Lamp - Left
29 - Steering Wheel Control Switch - Left

Instrument Panel and Center Console Components (RHD)




1 - Inflatable Restraint I/P Module
2 - Clock
3 - Ambient Light/Sunload Sensor
4 - Speaker - Center I/P
5 - Turn Signal/Multifunction Switch
6 - Instrument Panel Cluster (IPC)
7 - Inflatable Restraint Steering Wheel Module
8 - Windshield Wiper/Washer Switch
9 - I/P Dimmer Switch
10 - Driver Information Center (DIC) Switch
11 - Data Link Connector (DLC)
12 - I/P Courtesy Lamp - Right
13 - HVAC Control Module
14 - Air Temperature Sensor - Inside
15 - Traction Control Switch (TCS)
16 - Cigar Lighter
17 - Inflatable Restraint I/P Module Indicator
18 - Accessory Power Outlet - Center Console 1
19 - Accessory Power Outlet - Center Console 2 (UQS)
20 - Speaker - Center Console (UQS)
21 - Video Display (U42)
22 - Tow/Haul Switch
23 - Hazard Warning Switch
24 - Rear Window Defogger Switch
25 - I/P Courtesy Lamp - Right
26 - Radio

Video Display (U42), DVD Player (U42), and Center Console Auxiliary Power Outlets




1 - Rear Seat Audio (RSA) Control (U42)
2 - Video Display (U42)
3 - Accessory Power Outlet - Center Console 2 (UQS)
4 - Accessory Power Outlet - Center Console 1

Shift Lever Components




1 - Automatic Transmission Shift Lever
2 - Automatic Transmission Shift Lock Control Solenoid
3 - Automatic Transmission Manual Shift Switch

Park Brake Switch, Brake Pedal and Accelerator Pedal Position Sensors (LHD)




1 - Park Brake Switch
2 - Brake Pedal Position (BPP) Sensor
3 - Accelerator Pedal Position (APP) Sensor
4 - Left Front Floor Panel

Adjustable Pedal Position Sensors and Motors (JF4) (LHD)




1 - Adjustable Brake Pedal Position Sensor Connector
2 - Adjustable Pedal Actuator
3 - Adjustable Accelerator Pedal Position (APP) Sensor
4 - Accelerator Pedal Position (APP) Sensor
5 - Adjustable Brake Pedal Position Sensor
6 - Park Brake Switch

Park Brake, Brake Fluid Level Switches and Pedal Position Sensors (LHD)




1 - Brake Fluid Reservoir
2 - Brake Fluid Level Switch
3 - Brake Fluid Level Switch Connector
4 - Adjustable Brake Pedal Position Sensor Connector (JF4)
5 - Adjust Pedal Actuator (JF4)
6 - Adjustable Accelerator Pedal Position (APP) Sensor (JF4)
7 - Accelerator Pedal Position (APP) Sensor (JF4)
8 - Adjustable Brake Pedal Position Sensor (JF4)
9 - Park Brake Switch

Park Brake, Brake Fluid Level Switches and Pedal Position Sensors (RHD)




1 - Brake Fluid Reservoir
2 - Brake Fluid Level Switch
3 - Adjustable Accelerator Pedal Position (APP) Sensor (JF4)
4 - Adjustable Pedal Actuator (JF4)
5 - Accelerator Pedal Position (APP) Sensor
6 - Park Brake Switch
7 - Adjustable Brake Pedal Position Sensor (JF4)

Data Link Connector and Body Control Module (BCM) (LHD)




1 - Instrument Panel
2 - Body Control Module (BCM)
3 - Insulator
4 - Data Link Connector (DLC)

Body Control Module (BCM) (RHD)




1 - Body Control Module (BCM)

Steering Column Components 1 of 2




1 - Ignition Lock Cylinder Case
2 - Theft Deterrent Module (TDM)
3 - Ignition Lock Cylinder Control Solenoid

Steering Column Components 2 of 2




1 - Inflatable Restraint Steering Wheel Module Coil
2 - Horn Switch
3 - Adjustable Pedal Position Switch (JF4)
4 - Steering Angle Sensor

Theft Deterrent Components




1 - Hood Ajar Switch
2 - Overhead Console
3 - Intrusion Sensor (UTA/UTC)
4 - Ignition Switch
5 - Theft Deterrent Module (TDM)

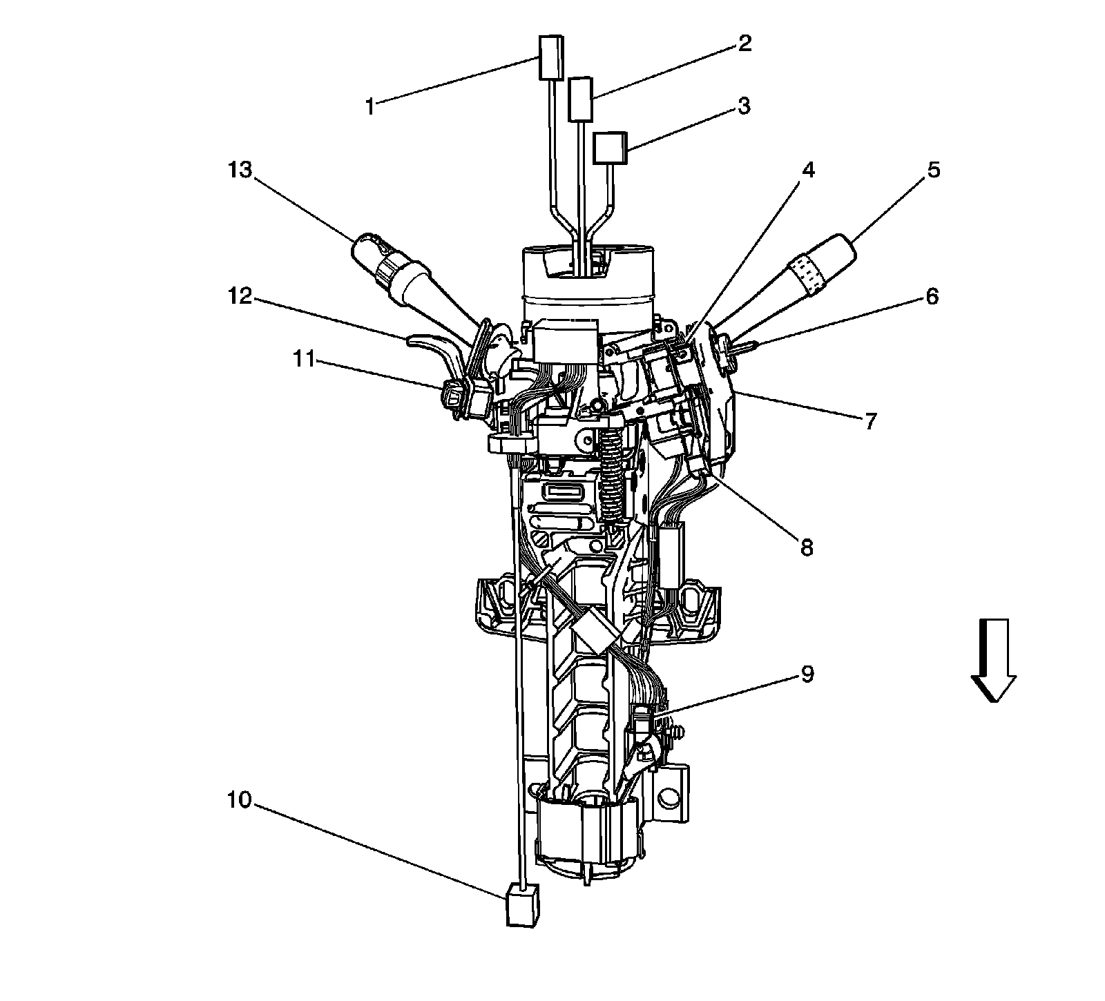
Steering Column Components




1 - Inflatable Restraint Steering Wheel Module X1
2 - Inflatable Restraint Steering Wheel Module X2
3 - X208
4 - Ignition Lock Cylinder Solenoid
5 - Windshield Wiper/Washer Switch
6 - Ignition Lock Cylinder Case
7 - Theft Deterrent Module (TDM)
8 - Ignition Switch Connector
9 - X202
10 - X203
11 - Adjustable Pedal Position Switch (JF4)
12 - Steering Column Tilt Lever
13 - Turn Signal/Multifunction Switch

Steering Wheel Controls




1 - Steering Wheel Control Switch - Left
2 - X208
3 - Steering Wheel Control Switch - Right

Ignition Switch and Theft Deterrent Module (TDM)




1 - Ignition Switch
2 - Theft Deterrent Module (TDM)

Steering Wheel Components




1 - Inflatable Restraint Steering Wheel Module
2 - Steering Wheel Control Switch - Left
3 - Steering Wheel Control Switch - Right
4 - Steering Wheel Control Switch - Left Connector
5 - X208, Steering Wheel Side
6 - Steering Wheel
7 - Steering Column
8 - Inflatable Restraint Steering Wheel Module Coil
9 - Inflatable Restraint Steering Wheel Module X1
10 - Inflatable Restraint Steering Wheel Module X2
11 - X208, Column Side
12 - Steering Wheel Control Switch - Right Connector

Horn Switch and Inflatable Restraint Steering Wheel Module (LHD)




1 - Horn Switch
2 - Horn Switch Connector
3 - Inflatable Restraint Steering Wheel Module

Horn Switch Contacts and Inflatable Restraint Steering Wheel Module (RHD)




1 - Horn Switch
2 - Inflatable Restraint Steering Wheel Module

HVAC Module Components (1 of 2)




1 - Air Temperature Actuator - Left
2 - Mode Actuator
3 - Evaporator Temperature Sensor
4 - Recirculation Actuator
5 - Blower Motor
6 - Blower Motor Control Module
7 - Air Temperature Actuator - Right

HVAC Module Components (2 of 2)




1 - X321
2 - Recirculation Actuator
3 - Blower Motor
4 - Blower Motor Control Module
5 - Air Temperature Actuator - Right
6 - Mode Actuator
7 - Air Temperature Actuator - Left
8 - Air Temperature Sensor - Inside