LEMON Manuals: Even more car manuals for everyone: 1960-2025
Home >> Cadillac >> 2009 >> STS AWD V8-4.6L >> Repair and Diagnosis >> Powertrain Management >> Emission Control Systems >> Diagrams
April 5, 2026: LEMON Manuals is launched! Read the announcement.

Emission Control Systems: Diagrams




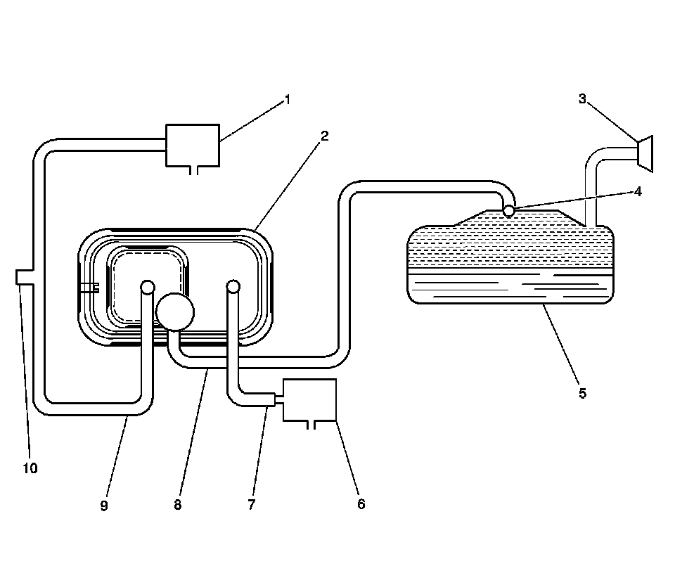
Evaporative Emissions Hose Routing Diagram

EVAP System Overview




1 - EVAP Canister Purge Solenoid Valve
2 - EVAP Canister
3 - Fuel Fill Neck/Fill Cap
4 - Rollover Valve/Fuel Tank Pressure (FTP) Sensor
5 - Fuel Tank
6 - EVAP Canister Vent Solenoid Valve
7 - Vent Hose/Pipe
8 - EVAP Vapor Pipe
9 - EVAP Purge Pipe
10 - EVAP Service Port