LEMON Manuals: Even more car manuals for everyone: 1960-2025
Home >> Cadillac >> 2009 >> STS Base, 3.6 V, AWD >> Repair and Diagnosis >> External Pages >> Different car >> Section 439 (Wiring Systems And Power Management - Component Connector End Views - Memory Seat Module X6 Through Yaw Sensor) >> Component Connector End Views >> Seat Back Ventilation Heating and Cooling Module - Driver (KB6)
April 5, 2026: LEMON Manuals is launched! Read the announcement.

Seat Back Ventilation Heating and Cooling Module - Driver (KB6)

WARNING: This page is about a different car, the 2011 GMC Acadia, 2011 Chevrolet Traverse, and 2011 Buick Enclave. However, it is still accessible from the selected car via links, so may be relevant.
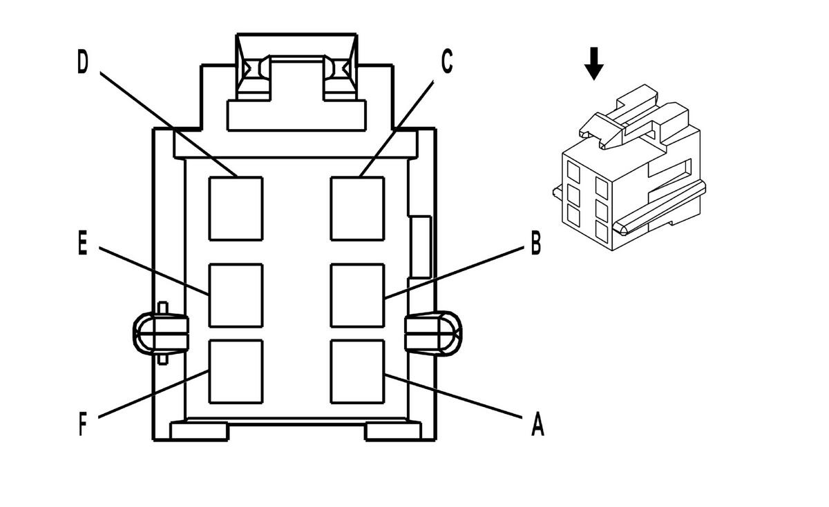
Fig 1: Seat Back Ventilation Heating and Cooling Module - Driver (KB6) Connector End View
GM62456Courtesy of GENERAL MOTORS CORP.
Seat Back Ventilation Heating and Cooling Module - Driver (KB6)

Pin Wire Circuit Function
A 2 RD/WH 640 Battery Positive Voltage
B 0.35 L-BU/WH 181 Left Heated/Cooled Seat Mode Signal
C 2 BK 550 Ground
D 0.35 D-BU 2425 Seat Back Temperature Sensor Signal
E 0.35 PK 2426 Low Reference
F - - Not Used
Connector Part Information
  • Harness Type: Driver Seat
  • OEM Connector: 12064752
  • Service Connector: 15305888
  • Description: 6-Way F Metri-Pack 280 Series (BK)
Terminal Part Information
  • Pins A, C
  • Terminated Lead: Pending
  • Release Tool: J-38125-11A
  • Diagnostic Test Probe: J-35616-4A (PU)
  • Terminal/Tray: 12066214/2
  • Core/Insulation Crimp: A/B
  • Pins B, D, E
  • Terminated Lead: Pending
  • Release Tool: J-38125-11A
  • Diagnostic Test Probe: J-35616-4A (PU)
  • Terminal/Tray: 12034046/2
  • Core/Insulation Crimp: E/A