LEMON Manuals: Even more car manuals for everyone: 1960-2025
Home >> Cadillac >> 2009 >> STS Base, 3.6 V, AWD >> Repair and Diagnosis >> External Pages >> Different car >> Section 439 (Wiring Systems And Power Management - Component Connector End Views - Memory Seat Module X6 Through Yaw Sensor) >> Component Connector End Views >> Speaker - Right Front (UQF)
April 5, 2026: LEMON Manuals is launched! Read the announcement.

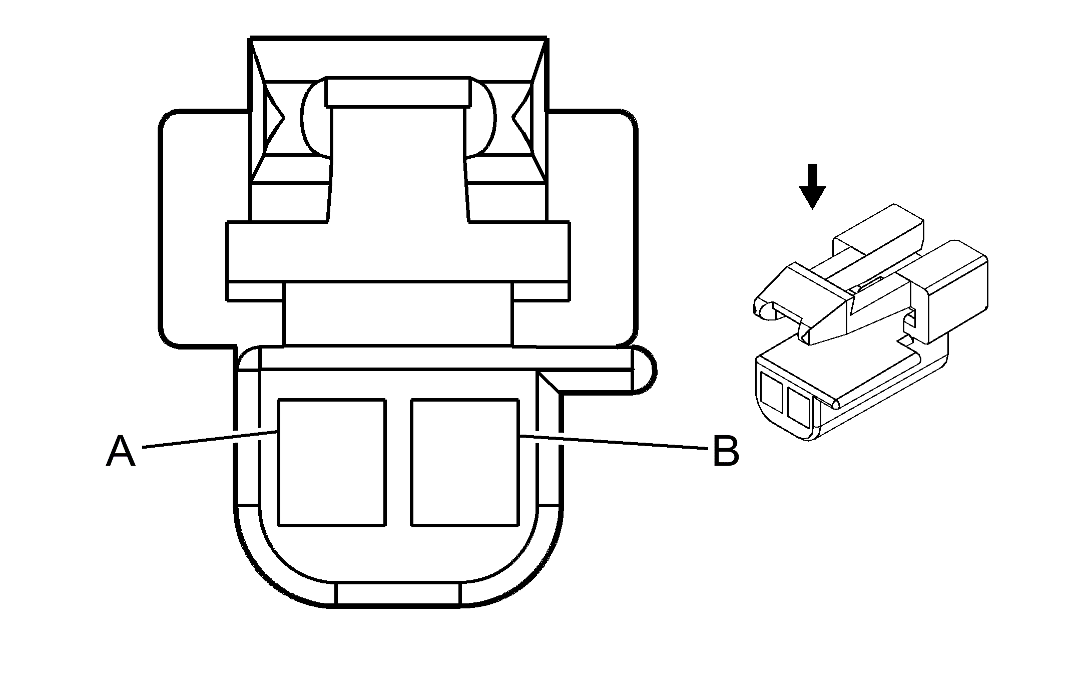
Speaker - Right Front (UQF)

WARNING: This page is about a different car, the 2011 GMC Acadia, 2011 Chevrolet Traverse, and 2011 Buick Enclave. However, it is still accessible from the selected car via links, so may be relevant.
Fig 1: Speaker - Right Front (UQF) Connector End View
GM130687Courtesy of GENERAL MOTORS CORP.
Speaker - Right Front (UQF)

Pin Wire Circuit Function
A 0.8 D-GN 117 Right Front Speaker Output (-)
B 0.8 L-GN 200 Right Front Speaker Output (+)
Connector Part Information
  • Harness Type: Passenger Door
  • OEM Connector: 12064867
  • Service Connector: 88987981
  • Description: 2-Way F Metri-Pack 150 Series (NA)
Terminal Part Information
  • Terminated Lead: Pending
  • Release Tool: J-38125-12A
  • Diagnostic Test Probe: J-35616-14 (GN)
  • Terminal/Tray: 15326030/2
  • Core/Insulation Crimp: E/A