LEMON Manuals: Even more car manuals for everyone: 1960-2025
Home >> Cadillac >> 2009 >> STS Base, 3.6 V, AWD >> Repair and Diagnosis >> External Pages >> Different car >> Section 439 (Wiring Systems And Power Management - Component Connector End Views - Memory Seat Module X6 Through Yaw Sensor) >> Component Connector End Views >> Steering Wheel Tilt Actuator (N38)
April 5, 2026: LEMON Manuals is launched! Read the announcement.

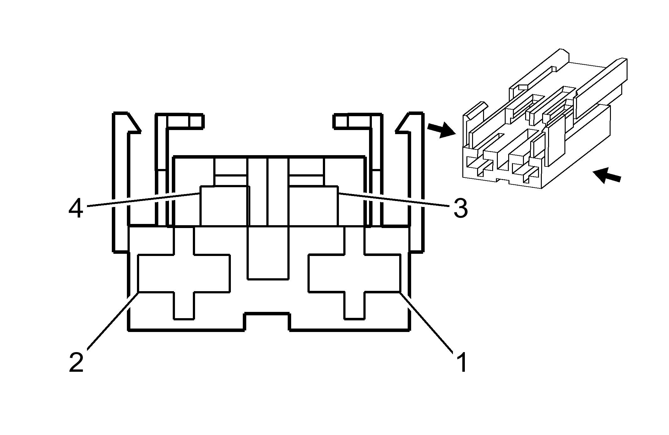
Steering Wheel Tilt Actuator (N38)

WARNING: This page is about a different car, the 2011 GMC Acadia, 2011 Chevrolet Traverse, and 2011 Buick Enclave. However, it is still accessible from the selected car via links, so may be relevant.
Fig 1: Steering Wheel Tilt Actuator (N38) Connector End View
GM1540778Courtesy of GENERAL MOTORS CORP.
Steering Wheel Tilt Actuator (N38)

Pin Wire Circuit Function
1 1 BN 2112 Steering Column Tilt Motor Control - Down
2 1 PK 2111 Steering Column Tilt Motor Control - Up
3-4 - - Not Used
Connector Part Information
  • Harness Type: Tilt and Telescope Motors
  • OEM Connector: 15324915
  • Service Connector: Pending
  • Description: 4-Way F (BK)
Terminal Part Information
  • Terminated Lead: 13575760
  • Release Tool: J-38125-36
  • Diagnostic Test Probe: J-35616-35 (VT)
  • Terminal/Tray: 2-964284-1/25
  • Core/Insulation Crimp: E/A