LEMON Manuals: Even more car manuals for everyone: 1960-2025
Home >> Cadillac >> 2009 >> STS Base, 3.6 V, AWD >> Repair and Diagnosis >> External Pages >> Different car >> Section 439 (Wiring Systems And Power Management - Component Connector End Views - Memory Seat Module X6 Through Yaw Sensor) >> Component Connector End Views >> Tail Lamp - Inner Right (Z88)
April 5, 2026: LEMON Manuals is launched! Read the announcement.

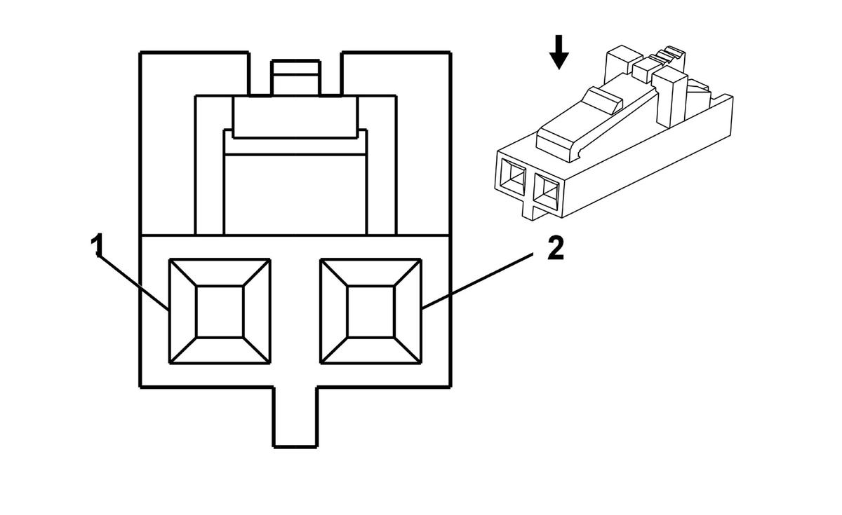
Tail Lamp - Inner Right (Z88)

WARNING: This page is about a different car, the 2011 GMC Acadia, 2011 Chevrolet Traverse, and 2011 Buick Enclave. However, it is still accessible from the selected car via links, so may be relevant.
Fig 1: Tail Lamp - Inner Right (Z88) Connector End View
GM1335523Courtesy of GENERAL MOTORS CORP.
Tail Lamp - Inner Right (Z88)

Pin Wire Circuit Function
1 0.5 BK - Right Park Lamp Voltage
2 0.5 BK - Ground
Connector Part Information
  • Harness Type: Right Tail Lamp
  • OEM Connector: 104257-1
  • Service Connector: Pending
  • Description: 2-Way F (BK)
Terminal Part Information
  • Terminated Lead: Service by Connector Assembly - 104257-1
  • Release Tool: Not Available
  • Diagnostic Test Probe: Not Available
  • Terminal/Tray: Not Available
  • Core/Insulation Crimp: Not Available