LEMON Manuals: Even more car manuals for everyone: 1960-2025
Home >> Cadillac >> 2009 >> STS Base, 3.6 V, AWD >> Repair and Diagnosis >> External Pages >> Different car >> Section 439 (Wiring Systems And Power Management - Component Connector End Views - Memory Seat Module X6 Through Yaw Sensor) >> Component Connector End Views >> Window Motor - Driver (AXE)
April 5, 2026: LEMON Manuals is launched! Read the announcement.

Window Motor - Driver (AXE)

WARNING: This page is about a different car, the 2011 GMC Acadia, 2011 Chevrolet Traverse, and 2011 Buick Enclave. However, it is still accessible from the selected car via links, so may be relevant.
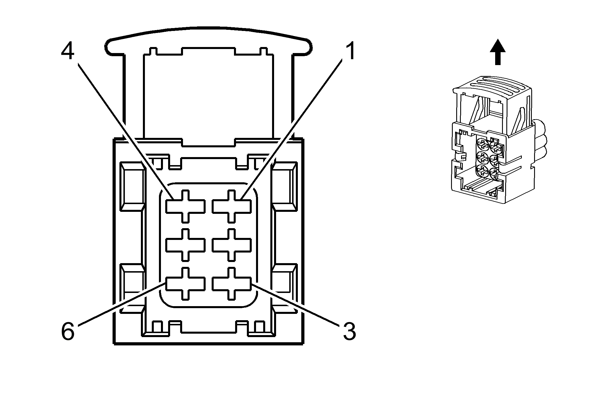
Fig 1: Window Motor - Driver (AXE) Connector End View
GM1664554Courtesy of GENERAL MOTORS CORP.
Window Motor - Driver (AXE)

Pin Wire Circuit Function
1 2 RD/WH 3340 Battery Positive Voltage
2-3 - - Not Used
4 2 BK 550 Ground
5 - - Not Used
6 0.35 BN 6132 Linear Interconnect Network Bus
Connector Part Information
  • Harness Type: Driver Door
  • OEM Connector: 2-1355696-1
  • Service Connector: 88988401
  • Description: 6-Way F Timer Jr-Power Series, Sealed (GY)
Terminal Part Information
  • Pins: 1, 4
  • Terminated Lead: Pending
  • Release Tool: J-38125-36
  • Diagnostic Test Probe: J-35616-35 (VT)
  • Terminal/Tray: 4-964273-1/15
  • Core/Insulation Crimp: C/5
  • Pins: 6
  • Terminated Lead: Pending
  • Release Tool: J-38125-36
  • Diagnostic Test Probe: J-35616-35 (VT)
  • Terminal/Tray: 4-964286-1/16
  • Core/Insulation Crimp: E/1