LEMON Manuals: Even more car manuals for everyone: 1960-2025
Home >> Cadillac >> 2009 >> STS Base, 3.6 V, AWD >> Repair and Diagnosis >> External Pages >> Different car >> Section 481 (Wiring Systems And Power Management - Component Connector End Views - A/C Compressor Clutch Through EVAP Canister Purge Solenoid) >> Component Connector End Views >> Engine Control Module (ECM) X2
April 5, 2026: LEMON Manuals is launched! Read the announcement.

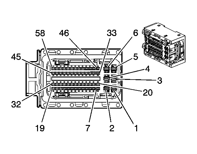
Engine Control Module (ECM) X2

WARNING: This page is about a different car, the 2011 GMC Acadia, 2011 Chevrolet Traverse, and 2011 Buick Enclave. However, it is still accessible from the selected car via links, so may be relevant.
Fig 1: Connector End View Engine Control Module (ECM) X2
GM1360604Courtesy of GENERAL MOTORS CORP.
Engine Control Module (ECM) X2

Pin Wire Circuit Function
1 2 BK/WH 451 Ground
2 2 BK/WH 451 Ground
3 1 PK/BK 5290 Ignition Voltage
4 2 BK/WH 451 Ground
5 1 PK/BK 5290 Ignition Voltage
6 1 PK/BK 5290 Ignition Voltage
7 0.5 GY/WH 3122 HO2S Heater Low Control Bank 1 Sensor 2
8 - - Not Used
9 0.5 TN 2759 Low Reference
10 0.5 D-GN/WH 465 Fuel Pump Relay Control
11 0.5 TN 5514 Low Reference
12 - - Not Used
13 0.5 YE 492 MAF Sensor Signal
14 0.5 GY 2709 5-Volt Reference
15 0.5 D-BU 1161 APP Sensor 1 Signal
16 - - Not Used
17 0.5 OG/BK 1786 Park/Neutral Signal
18 - - Not Used
19 0.5 WH 1310 EVAP Canister Vent Solenoid Control
20 0.5 OG/WH 3223 HO2S Heater Low Control (Bank 2 Sensor 2)
21 - - Not Used
22 0.5 TN 2760 Low Reference
23 0.5 TN/WH 3121 HO2S Low Signal (Bank 1 Sensor 2)
24 0.5 TN 3221 HO2S Low Signal (Bank 2 Sensor 2)
25 0.5 L-BU 1162 APP Sensor 2 Signal
26 - - Not Used
27 0.5 D-GN 890 Fuel Tank Pressure Sensor Signal
28-33 - - Not Used
34 0.5 BN 1271 Low Reference
35 0.5 GY 2700 5-Volt Reference 3
36 0.5 PU 1589 Fuel Level Sensor Signal
37 - - Not Used
38 0.5 PU 3120 HO2S High Signal (Bank 1 Sensor 2)
39 0.5 OG/BK 380 A/C Refrigerant Pressure Sensor Signal
40 - - Not Used
41 0.5 D-BU 5985 Accessory Wakeup Serial Data
42 0.5 TN/BK 2500 High Speed GMLAN Serial Data Bus+
43 - - Not Used
44 0.5 D-GN/WH 459 A/C Compressor Clutch Relay Control
45 0.5 D-BU 473 High Speed Cooling Fan Relay Control
46 0.5 D-GN 335 Low Speed Cooling Fan Relay Control
47 0.5 PU 1272 Low Reference
48 0.5 TN 1274 5-Volt Reference 3
49 0.5 WH/BK 1164 5-Volt Reference 2
50 0.5 L-BU 6289 Induction Air Temperature Sensor Signal
51 0.5 PU 3220 HO2S High Signal (Bank 2 Sensor 2)
52 0.5 WH 17 Stop Lamp Switch Signal
53 - - Not Used
54 0.5 PK 439 Ignition Voltage
55 0.5 TN 2501 High Speed GMLAN Serial Data Bus-
56 0.5 RD/WH 540 Battery Positive Voltage
57 0.5 YE 447 Starter Relay Coil Control
58 0.5 YE 5991 Main Relay Control
Connector Part Information
  • Harness Type: Engine
  • OEM Connector: 1928404916
  • Service Connector: 19115599
  • Description: 58-Way F 280 Series, Sealed (BK)
Terminal Part Information
  • Pins: 3, 5, 6
  • Terminated Lead: 13579758
  • Release Tool: J-38125-561
  • Diagnostic Test Probe: J-35616-35 (VT)
  • Terminal/Tray: 1928498058/8
  • Core/Insulation Crimp: E/1
  • Pins: 1, 2, 4
  • Terminated Lead: 13575442
  • Release Tool: J-38125-561
  • Diagnostic Test Probe: J-35616-35 (VT)
  • Terminal/Tray: 1928498059/24
  • Core/Insulation Crimp: 2/5
  • Pins: 7, 9-11, 13-15, 17-27, 34-39, 41-52, 54-58
  • Terminated Lead: 13578935
  • Release Tool: J-38125-213
  • Diagnostic Test Probe: J-35616-16 (L-GN)
  • Terminal/Tray: 1928498135/19
  • Core/Insulation Crimp: J/J