LEMON Manuals: Even more car manuals for everyone: 1960-2025
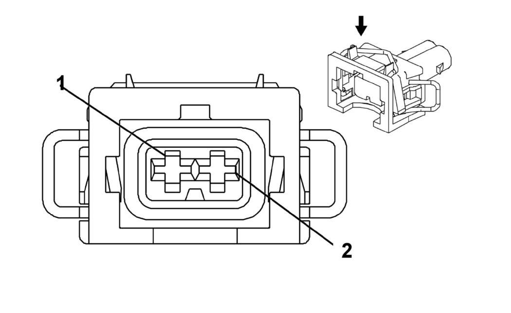
Home >> Cadillac >> 2009 >> XLR Base >> Repair and Diagnosis (Single Page) >> Electrical >> Component Locations >> Wiring Systems And Power Management - Electrical Center, Component & Splice Pack Connector End Views >> Component Connector End Views >> Exhaust Tail Pipe Flow Control Valve Solenoid (LC3)
April 5, 2026: LEMON Manuals is launched! Read the announcement.

Exhaust Tail Pipe Flow Control Valve Solenoid (LC3)

Fig 1: Exhaust Tail Pipe Flow Control Valve Solenoid (LC3) Connector End View
GM1405759Courtesy of GENERAL MOTORS CORP.
Exhaust Tail Pipe Flow Control Valve Solenoid (LC3)

Pin Wire Circuit Function
1 0.5 BK 1150 Ground
2 0.5 TN/WH 1962 Exhaust Valve Solenoid Supply
Connector Part Information 
  • OEM: 12131678
  • Service: 89046833
  • Description: 2-Way F Mini-Timer Series (BK)
Terminal Part Information 
  • Terminal/Tray: 60012941/21
  • Core/Insulation Crimp: See Terminal Repair Kit
  • Release Tool/Test Probe: 12122378/J-35616-4A (PU)