LEMON Manuals: Even more car manuals for everyone: 1960-2025
Home >> Cadillac >> 2009 >> XLR Base >> Repair and Diagnosis (Single Page) >> Electrical >> Component Locations >> Wiring Systems And Power Management - Electrical Center, Component & Splice Pack Connector End Views >> Component Connector End Views >> Inflatable Restraint Steering Wheel Module Coil X3
April 5, 2026: LEMON Manuals is launched! Read the announcement.

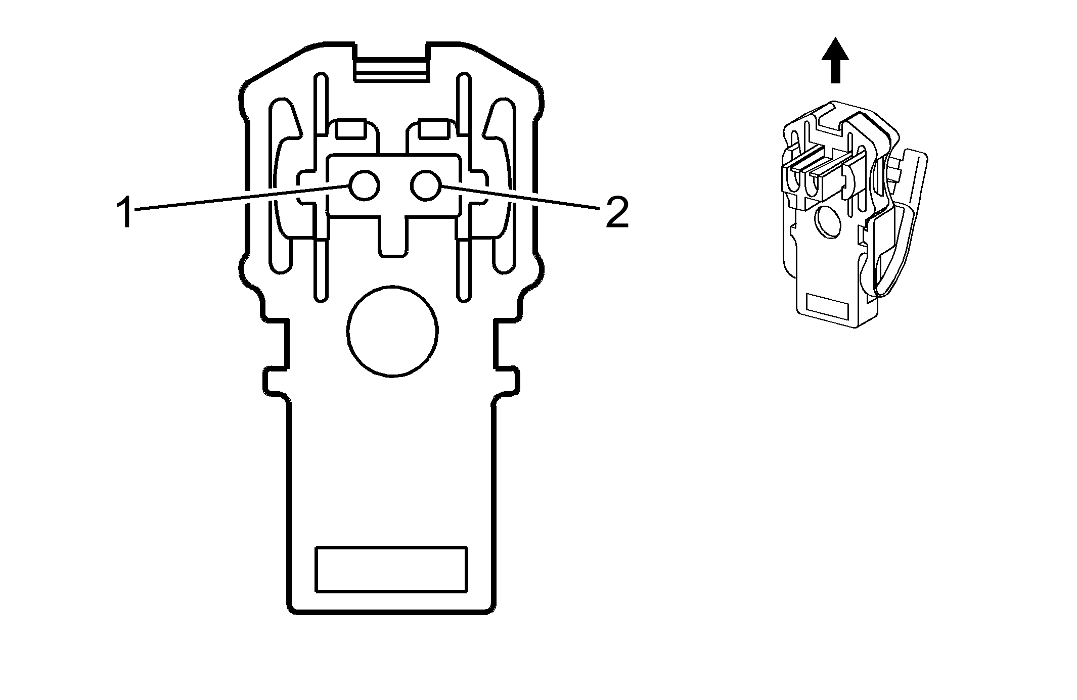
Inflatable Restraint Steering Wheel Module Coil X3

Fig 1: Inflatable Restraint Steering Wheel Module Coil X3 Connector End View
GM739646Courtesy of GENERAL MOTORS CORP.
Inflatable Restraint Steering Wheel Module Coil X3

Pin Wire Circuit Function
1 0.5 WH 3023 Steering Wheel Module - Stage 2 - High Control
2 0.5 PK 3022 Steering Wheel Module - Stage 2 - Low Control
Connector Part Information 
  • OEM: CA-252-92-5-Q
  • Service: See Catalog
  • Description: 2-Way F (YE)
Terminal Part Information 
  • Terminal/Tray: Service with Pigtail
  • Core/Insulation Crimp: See Terminal Repair Kit
  • Release Tool/Test Probe: See Terminal Repair Kit