LEMON Manuals: Even more car manuals for everyone: 1960-2025
Home >> Cadillac >> 2009 >> XLR Base >> Repair and Diagnosis (Single Page) >> Electrical >> Component Locations >> Wiring Systems And Power Management - Electrical Center, Component & Splice Pack Connector End Views >> Component Connector End Views >> Steering Column Lock Control Module X1 (UA2)
April 5, 2026: LEMON Manuals is launched! Read the announcement.

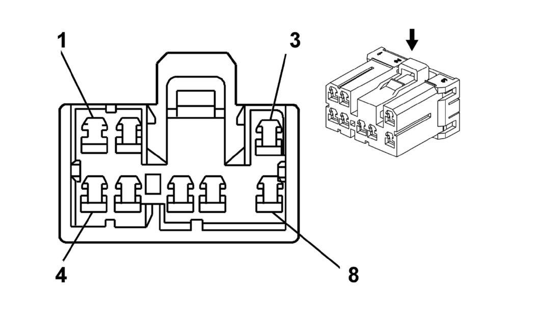
Steering Column Lock Control Module X1 (UA2)

Fig 1: Steering Column Lock Control Module X1 (UA2) Connector End View
GM1391782Courtesy of GENERAL MOTORS CORP.
Steering Column Lock Control Module X1 (UA2)

Pin Wire Circuit Function
1 0.35 D-GN/WH 1932 Transmission Shift Select Switch (Park) Signal
2 0.5 RD/WH 840 Battery Positive Voltage
3 0.35 WH 5741 Steering Column Lock Enable Relay
4 0.5 BK 1550 Ground
5 0.35 PK 639 Ignition 1 Voltage
6 0.5 BK 1550 Ground
7 0.35 OG 5739 Class 2 Serial Data
8 - - Not Used
Connector Part Information 
  • OEM: 12196605
  • Service: 88953352
  • Description: 8-Way F Metri-Pack 280 Series (WH)
Terminal Part Information 
  • Terminal/Tray: See Terminal Repair Kit
  • Core/Insulation Crimp: See Terminal Repair Kit
  • Release Tool/Test Probe: See Terminal Repair Kit