LEMON Manuals: Even more car manuals for everyone: 1960-2025
Home >> Cadillac >> 2009 >> XLR Base >> Repair and Diagnosis (Single Page) >> Electrical >> Component Locations >> Wiring Systems And Power Management - Electrical Center, Component & Splice Pack Connector End Views >> Component Connector End Views >> Steering Column Lock Control Module X2 (UA2)
April 5, 2026: LEMON Manuals is launched! Read the announcement.

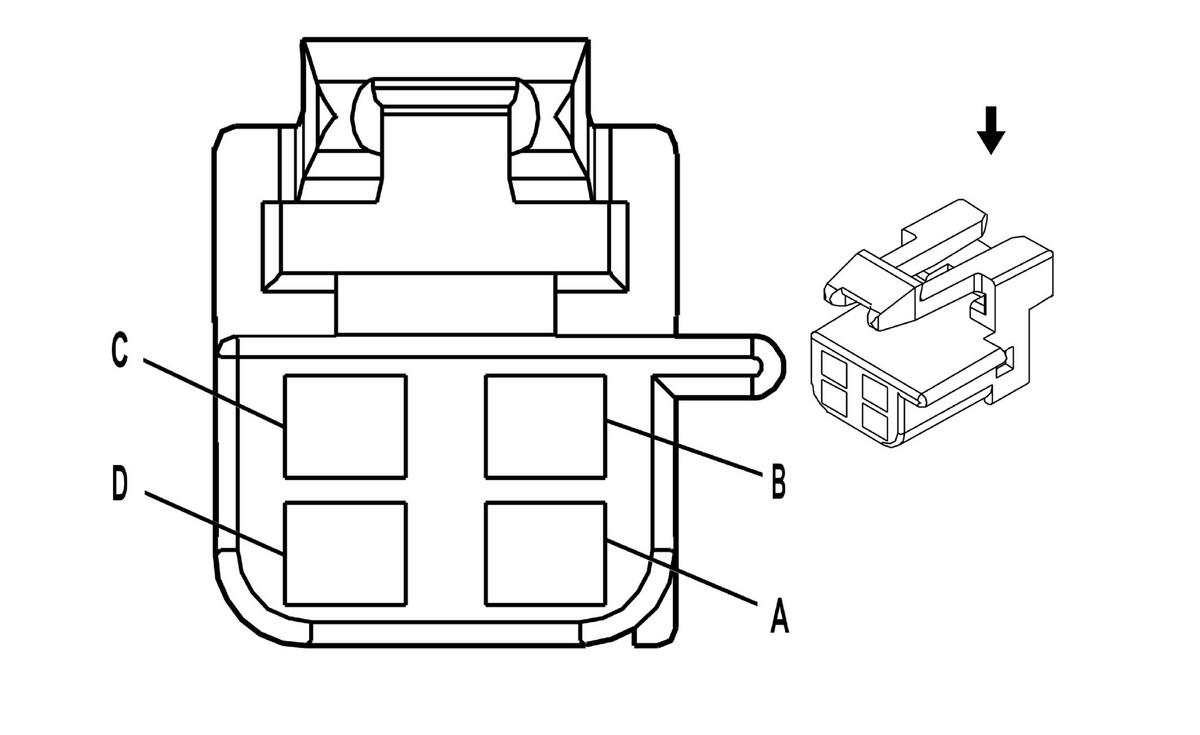
Steering Column Lock Control Module X2 (UA2)

Fig 1: Steering Column Lock Control Module X2 (UA2) Connector End View
GM130637Courtesy of GENERAL MOTORS CORP.
Steering Column Lock Control Module X2 (UA2)

Pin Wire Circuit Function
A 0.35 L-GN 1601 Steering Column Lock Signal
B 0.35 BK 150 Ground
C 0.5 PU 1604 Steering Column Unlock Relay
D 0.5 OG 1603 Steering Column Lock Relay
Connector Part Information 
  • OEM: 12064760
  • Service: 12085208
  • Description: 4-Way F Metri-Pack 150 Series (BK)
Terminal Part Information 
  • Terminal/Tray: 12064971/5
  • Core/Insulation Crimp: E/C
  • Release Tool/Test Probe: 12094429/J-35616-14 (GN)