LEMON Manuals: Even more car manuals for everyone: 1960-2025
Home >> Cadillac >> 2009 >> XLR Base >> Repair and Diagnosis (Single Page) >> Electrical >> Component Locations >> Wiring Systems And Power Management - Electrical Center, Component & Splice Pack Connector End Views >> Component Connector End Views >> Vehicle Communication Interface Module (VCIM) X2
April 5, 2026: LEMON Manuals is launched! Read the announcement.

Vehicle Communication Interface Module (VCIM) X2

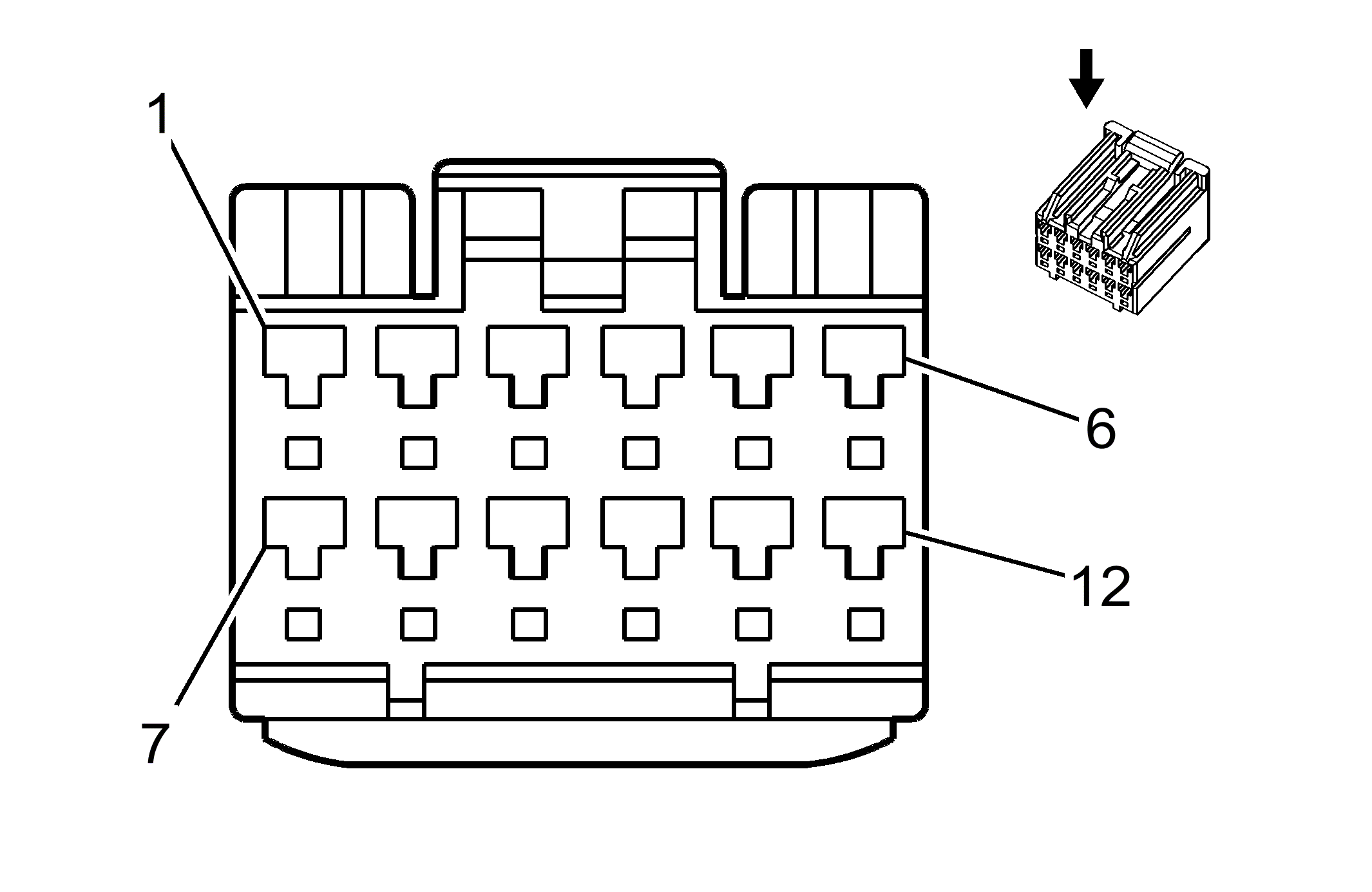
Fig 1: Vehicle Communication Interface Module (VCIM) X2 Connector End View
GM814532Courtesy of GENERAL MOTORS CORP.
Vehicle Communication Interface Module (VCIM) X2

Pin Wire Circuit Function
1 0.35 OG/BK 1406 Remote Playback Device Audio Signal
2 0.35 L-BU 1405 Remote Playback Device Audio Common Signal
3-5 - - Not Used
6 0.35 L-GN 2271 ADG Class 2 Serial Data
7 - - Not Used
8 0.35 BARE 2012 Drain
9 0.35 GY 655 Cellular Microphone Signal
10 0.35 BARE 1705 Drain
11-12 - - Not Used
Connector Part Information 
  • OEM: 15431365
  • Service: 88952886
  • Description: 12-Way F KII Hybrid (WH)
Terminal Part Information 
  • Terminal/Tray: 15445905/23
  • Core/Insulation Crimp: J/J
  • Release Tool/Test Probe: 12180559/J-35616-6 (BN)