LEMON Manuals: Even more car manuals for everyone: 1960-2025
Home >> Cadillac >> 2009 >> XLR Base >> Repair and Diagnosis (Single Page) >> Engine Performance >> Remove, Overhaul & Install >> Engine Controls And Fuel - 4.6L (LH2) - Introduction, Specifications & Repair Instructions >> Description and Operation >> Fuel System Description >> System Overview
April 5, 2026: LEMON Manuals is launched! Read the announcement.

System Overview

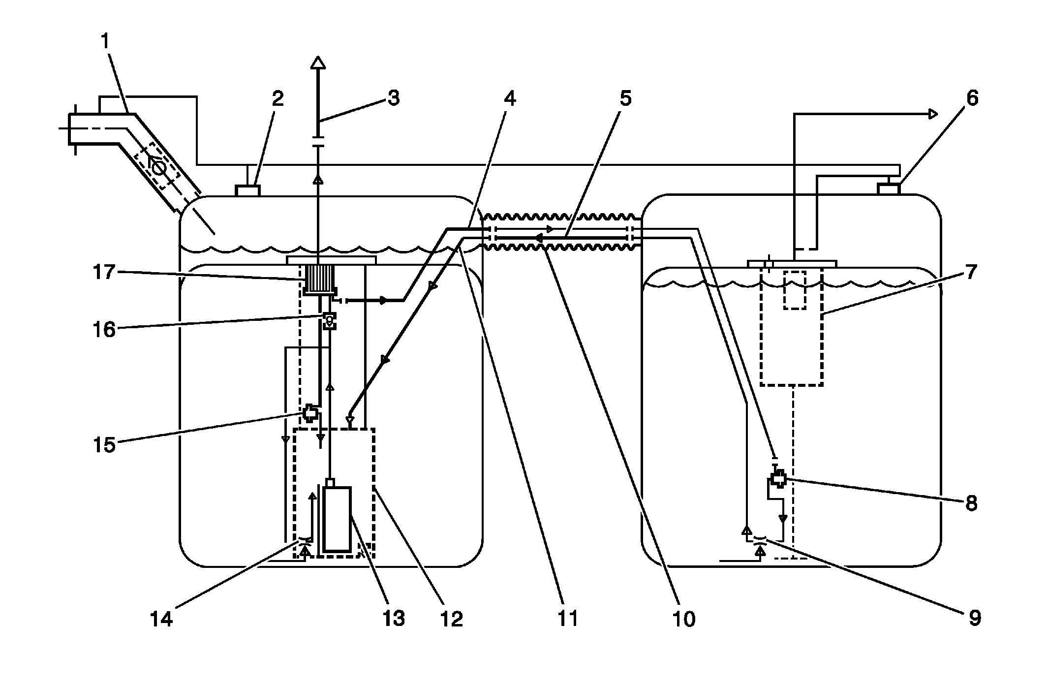
Fig 1: Identifying Fuel Tank Assembly Components
GM877203Courtesy of GENERAL MOTORS CORP.
Callout Component Name
1 Fuel Fill Hose
2 Left Fuel Tank Grade Vent Valve
3 Fuel Feed Pipe to Engine
4 5/16 Inch Auxiliary Fuel Feed Pipe
5 3/8 Inch Auxiliary Fuel Return Pipe
6 Right Fuel Tank Grade Vent Valve
7 Fill Limiter Vent Valve (FLVV)
8 Secondary Fuel Pressure Regulator
9 Siphon Jet Pump
10 Convoluted Crossover Hose
11 Anti-Siphon Hole
12 Fuel Sender Reservoir
13 Turbine Fuel Pump
14 Venturi Pump
15 Primary Fuel Pressure Regulator
16 Reverse Flow Check Valve
17 Fuel Filter

The fuel system is a returnless on-demand design. The fuel pressure regulator is a part of the fuel sender assembly, eliminating the need for a return pipe from the engine. A returnless fuel system reduces the internal temperature of the fuel tank by not returning hot fuel from the engine to the fuel tank. Reducing the internal temperature of the fuel tank results in lower evaporative emissions.

Two fuel tanks store the fuel supply. An electric turbine style fuel pump (13) attaches to the fuel sender assembly inside the left fuel tank. The fuel pump supplies high pressure fuel through the fuel filter (17) and the fuel feed pipe (3) to the fuel injection system. The fuel pump provides fuel at a higher rate of flow than is needed by the fuel injection system. The fuel pump also supplies fuel to the venturi pump (14) located on the bottom of the left fuel sender assembly. The function of the venturi pump is to fill the fuel sender assembly reservoir (12). The primary fuel pressure regulator (15), a part of the left fuel sender assembly, maintains the correct fuel pressure to the fuel injection system. The fuel pump and sender assembly contains a reverse flow check valve (16). The check valve, the primary fuel pressure regulator, and the secondary fuel pressure regulator maintain fuel pressure in the fuel feed pipe and the fuel rail in order to prevent long cranking times.

The fuel pump also supplies a small amount of pressurized fuel through the auxiliary fuel feed pipe (4) to the siphon jet pump (9) inside the right fuel tank. The pressurized fuel creates a venturi action inside the siphon jet pump. The venturi action causes the fuel to be drawn out of the right fuel tank. The fuel transfers from the right fuel tank to the left fuel tank through the auxiliary fuel return pipe (5). The auxiliary fuel return pipe inside the left fuel tank contains an anti-siphon hole (11) in order to prevent fuel from siphoning from the left fuel tank into the right fuel tank. Both the auxiliary fuel feed pipe and the auxiliary fuel return pipe are located inside the convoluted stainless steel crossover hose (10).

The right fuel sender assembly contains a secondary fuel pressure regulator (8). The secondary fuel pressure regulator has a lower set point than the primary regulator in order to allow fuel to flow to the siphon jet pump on the right fuel sender. When the engine is shut off, the pressure in the feed pipes immediately drops to the secondary regulator set point. This prevents the siphon jet pump from operating and in turn prevents the equalization of the left and right fuel tanks. The secondary fuel pressure regulator maintains fuel pressure in the auxiliary fuel feed pipe which reduces the time to prime the siphon jet pump. The pressurization also reduces fuel vaporization and boiling in the auxiliary fuel feed pipe.