LEMON Manuals: Even more car manuals for everyone: 1960-2025
Home >> Cadillac >> 2010 >> DTS 4.6 9 >> Repair and Diagnosis >> Engine Performance >> Engine Control Systems >> Engine Control System & Fuel System - 4.6L - Repair Instructions - >> Repair Instructions >> Fuel Sender Assembly Replacement >> Installation Procedure
April 5, 2026: LEMON Manuals is launched! Read the announcement.

Installation Procedure

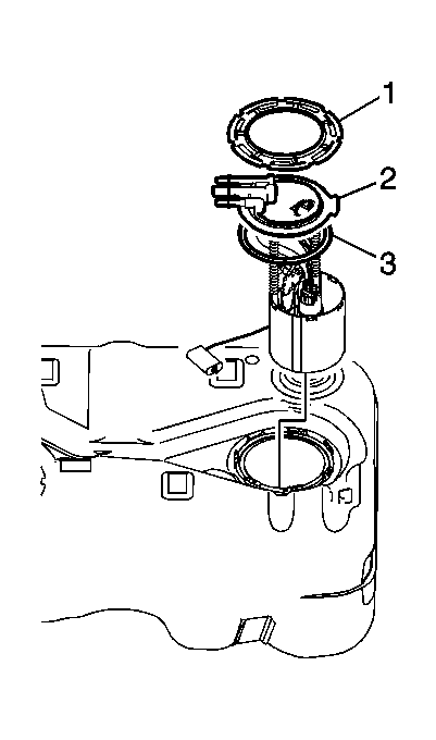
    Fig 1: Identifying Lock Ring, Fuel Sender Assembly & Fuel Pump Module O-Ring Seal
    GM2029605Courtesy of GENERAL MOTORS CORP.
  1. Place a NEW fuel pump module O-ring seal (3) onto the fuel tank.
  2. If the level sensor is being reused, refer to Fuel Level Sensor Replacement .
  3. NOTE: The bucket must be tipped slightly during installation to avoid bending the fuel level sensor float arm.
  4. Tilt the fuel sender so that the float arm can fit into the tank
  5. Lower the fuel sender assembly (2) into the tank.
  6. Install the module lock ring (1), and move it into position on the top of the fuel sender.
  7. Fig 2: Attaching J 45722 To Lock Ring
    GM1671980Courtesy of GENERAL MOTORS CORP.
  8. Install the J 45722  to the lock ring. See Special Tools .
  9. Fig 3: Lock Ring
    GM1642096Courtesy of GENERAL MOTORS CORP.
    NOTE: Always replace the fuel sender seal when installing the fuel sender assembly. Replace the lock ring if necessary. Do not apply any type of lubrication in the seal groove.
    Ensure the lock ring is installed with the correct side facing upward. A correctly installed lock ring will only turn in a clockwise direction.
  10. Using the J 45722  and a breaker bar, rotate the fuel pump module lock ring clockwise until the ring is locked into place on the fuel tank. See Special Tools .
  11. Remove the J 45722  . See Special Tools .
  12. Fig 4: Identifying Fuel Feed Pipe & Harness Connectors
    GM1671975Courtesy of GENERAL MOTORS CORP.
  13. Position the fuel feed pipe and harness connectors.
  14. Connect the fuel level sensor wiring harness electrical connectors (1, 2) to the pressure sensor and module.
  15. Connect the fuel feed rear pipe quick connect fitting (3) to the module. Refer to Plastic Collar Quick Connect Fitting Service .
  16. Connect the negative battery cable. Refer to Battery Negative Cable Disconnection and Connection .
  17. Perform the following procedure in order to inspect for leaks:
    1. Turn ON the ignition, with the engine OFF for 2 seconds.
    2. Turn OFF the ignition for 10 seconds.
    3. Turn ON the ignition, with the engine OFF.
    4. Inspect for fuel leaks.
  18. Fig 5: Fuel Sender Access Hole Cover
    GM1671970Courtesy of GENERAL MOTORS CORP.
  19. Install the fuel sender access hole cover.
  20. CAUTION: Refer to Fastener Caution .
  21. Install the fuel sender access hole cover bolts.

    Tighten:  Tighten the bolts to 2 N.m (18 lb in).

  22. Install the rear compartment liner. Refer to Rear Compartment Liner Replacement .
  23. Install the fuel injector sight shield. Refer to Fuel Injector Sight Shield Replacement .