LEMON Manuals: Even more car manuals for everyone: 1960-2025
Home >> Cadillac >> 2010 >> Escalade EXT >> Repair and Diagnosis (Single Page) >> Engine Performance >> Engine Control Systems >> Engine Control System & Fuel System - 5.3L, 6.0L, 6.2L - Repair Instructions >> Repair Instructions >> Engine Control Module Replacement >> Removal Procedure
April 5, 2026: LEMON Manuals is launched! Read the announcement.

Removal Procedure

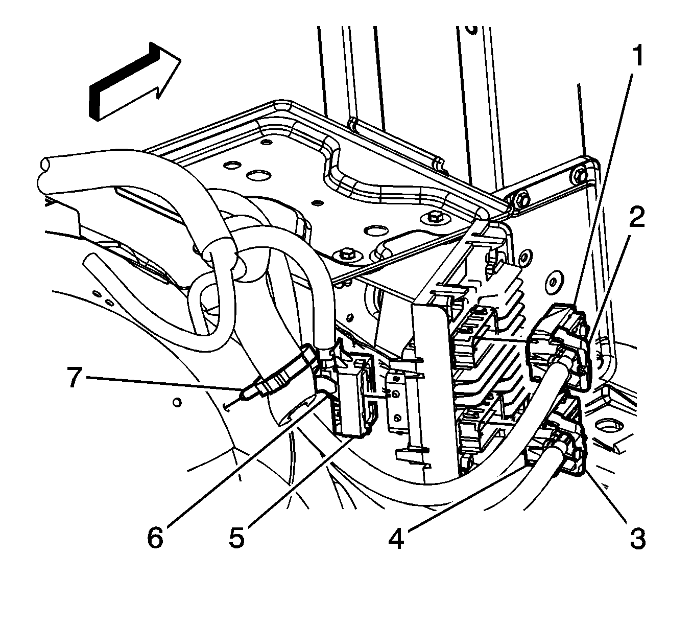
    Fig 1: View Of ECM Components
    GM1703437Courtesy of GENERAL MOTORS CORP.
  1. Record the current Engine Oil Life percentage, and use a scan tool to update the NEW ECM, if replacing.
  2. Disconnect the negative battery cable. Refer to Battery Negative Cable Disconnection and Connection .
  3. Disengage the engine wiring harness upper electrical connector retainer (2) and remove the connector (1) from the ECM.
  4. Disengage the engine wiring harness lower electrical connector retainer (3) and remove the connector (4) from the ECM.
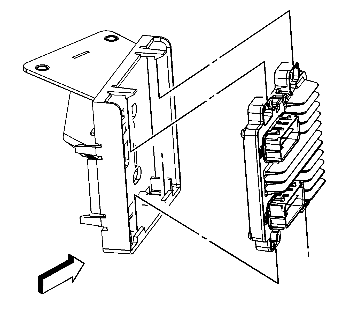
  5. Fig 2: View Of ECM & Bracket
    GM1703439Courtesy of GENERAL MOTORS CORP.
  6. Disengage the retainer tabs securing the ECM to the bracket.
  7. Remove the ECM.