LEMON Manuals: Even more car manuals for everyone: 1960-2025
Home >> Cadillac >> 2010 >> Escalade EXT >> Repair and Diagnosis (Single Page) >> Engine Performance >> System >> Engine Control System & Fuel System - 5.3L, 6.0L, 6.2L - Description And Operation >> Description and Operation >> Fuel System Description >> Fuel Rail Assembly
April 5, 2026: LEMON Manuals is launched! Read the announcement.

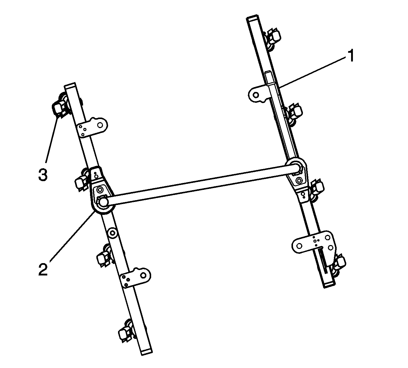
Fuel Rail Assembly

Fig 1: View Of Fuel Rail Assembly
GM1542826Courtesy of GENERAL MOTORS CORP.

The fuel rail assembly attaches to the engine intake manifold. The fuel rail assembly performs the following functions: