LEMON Manuals: Even more car manuals for everyone: 1960-2025
Home >> Cadillac >> 2010 >> Escalade EXT >> Repair and Diagnosis (Single Page) >> Quick Lookups >> Electrical Component Locations >> Component Locations - Passenger Compartment/Roof Component Views >> Passenger Compartment/Roof Component Views
April 5, 2026: LEMON Manuals is launched! Read the announcement.

Passenger Compartment/Roof Component Views

Fig 1: Top of Windshield Components
GM2048826Courtesy of GENERAL MOTORS CORP.
Callout Component Name
1 Inside Rearview Mirror (ISRVM)
2 OnStar® Button Assembly (UE1)
3 Windshield Outside Moisture Sensor (CE1)
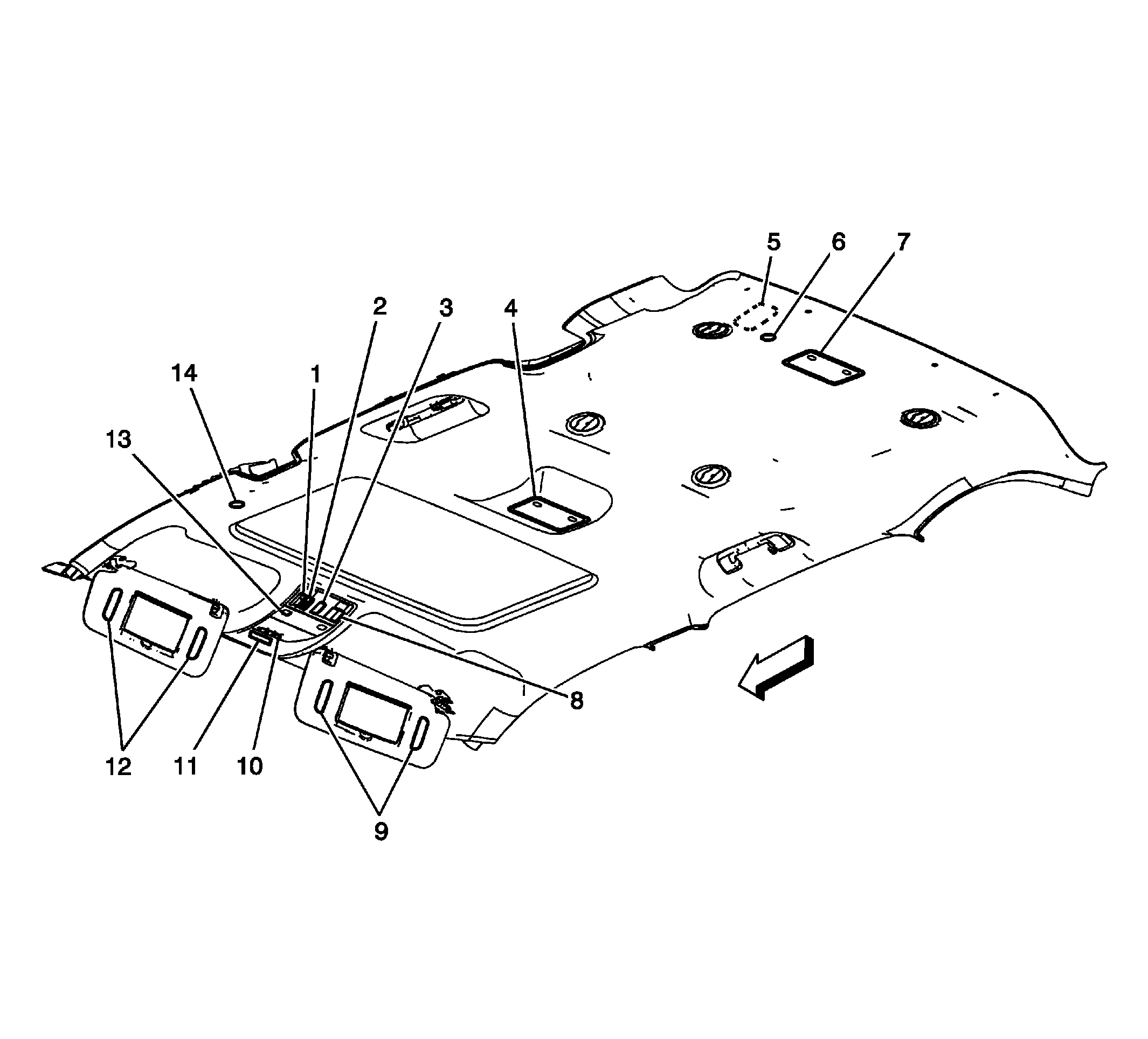
Fig 2: Headliner Components
GM2048829Courtesy of GENERAL MOTORS CORP.
Callout Component Name
1 Sunroof Switch (CF5)
2 Cellular Telephone Microphone (UE1)
3 Liftgate Control Switch - Interior (E61)
4 Courtesy/Reading Lamps - 2nd Row
5 Electronic Compass Module (YE9)
6 Inside Air Temperature Sensor - Rear (CJ2 with C69)
7 Courtesy/Reading Lamps - 3rd Row (E52)
8 Folding Seat Switch - Front (ARS)
9 Sunshade - Right
10 Garage Door Opener (GDO) (UG1)
11 Inflatable Restraint Passenger Air Bag On/Off Indicator
12 Sunshade - Left
13 Dome/Reading Lamps
14 Inside Air Temperature Sensor - Front (CJ2)
Fig 3: Headliner Components (CF5)
GM2049029Courtesy of GENERAL MOTORS CORP.
Callout Component Name
1 Sunroof Control Module (CF5)
2 Electronic Compass Module (YE9)
3 Inside Air Temperature Sensor - Rear (CJ2 with C69)
4 Inside Air Temperature Sensor - Front (CJ2)
Fig 4: Headliner Components (X88 or Z88, with Y91)
GM2049027Courtesy of GENERAL MOTORS CORP.
Callout Component Name
1 Sunroof Switch (CF5)
2 Cellular Telephone Microphone (UE1)
3 Liftgate Control Switch - Interior (E61)
4 Electronic Compass Module (YE9)
5 Digital Video Disc (DVD) Display - Front (U42)
6 Folding Seat Switch - Front (ARS)
7 Sunshade - Right
8 Garage Door Opener (GDO) (UG1)
9 Inflatable Restraint Passenger Air Bag On/Off Indicator
10 Sunshade - Left
11 Dome/Reading Lamps
12 Inside Air Temperature Sensor - Rear (CJ2 with C69)
Fig 5: Headliner Components (LWB)
GM2390219Courtesy of GENERAL MOTORS CORP.
Callout Component Name
1 Dome/Reading Lamps
2 Inside Air Temperature Sensor - Front (CJ2)
3 Noise Compensation Microphone - Left (Y91)
4 Sunroof Switch (CF5)
5 Cellular Telephone Microphone (UE1)
6 Liftgate Control Switch - Interior (E61)
7 Digital Video Disc (DVD) Display - Front (U42)
8 Video Signal Splitter (X88 or Z88, with DNU)
9 Electronic Compass Module (YE9)
10 Inside Air Temperature Sensor - Rear (CJ2 with C69)
11 Digital Video Disc (DVD) Display - Rear (DNU)
12 Noise Compensation Microphone - Rear (Y91)
13 Noise Compensation Microphone - Right (Y91)
14 Folding Seat Switch - Front (ARS)
15 Sunshade - Right
16 Garage Door Opener (GDO) (UG1)
17 Inflatable Restraint Passenger Air Bag On/Off Indicator
18 Sunshade - Left
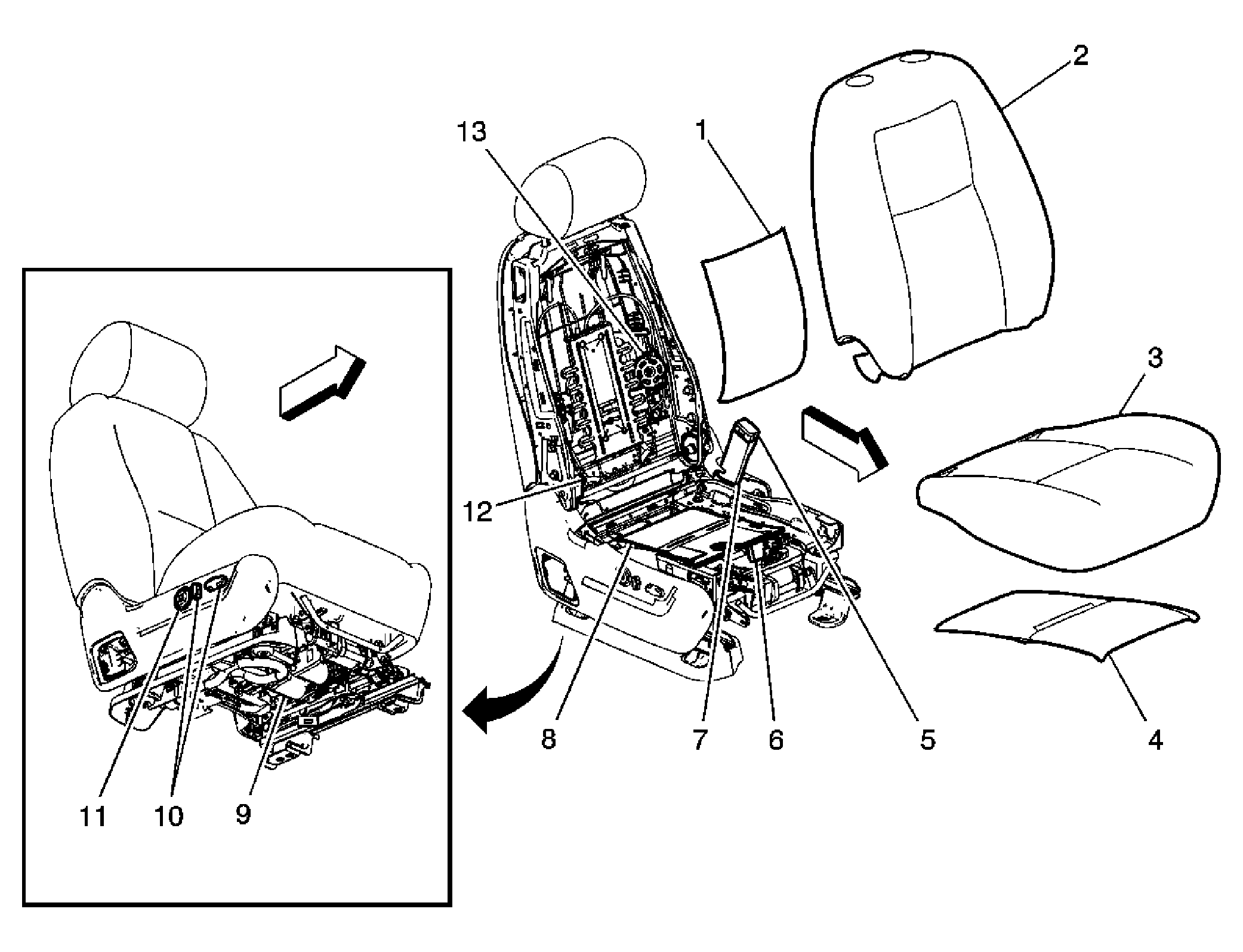
Fig 6: Driver Seat Components (1 of 2)
GM1714201Courtesy of GENERAL MOTORS CORP.
Callout Component Name
1 Seat Lumbar Vertical Motor - Driver (AN3)
2 Seat Lumbar Horizontal Motor - Driver (AN3)
3 Seat Lumbar Switch - Driver (AN3)
4 Seat Adjuster Switch - Driver
5 Memory Seat Module (MSM) (AN3)
6 Inflatable Restraint Seat Position Sensor - Driver
7 Seat Adjuster Motor Assembly - Driver
8 Seat Belt Buckle - Driver/Seat Belt Switch - Driver
9 Seat Recline Motor - Driver (AN3)
Fig 7: Driver Seat Components (2 of 2)
GM2105494Courtesy of GENERAL MOTORS CORP.
Callout Component Name
1 Driver Seat Cushion
2 Driver Seat Back Cushion
3 Heated Seat Element - Driver Back (KA1)
4 Heated Seat Element - Driver Cushion (KA1)
5 Seat Recline Motor - Driver (AN3)
6 Seat Lumbar Adjuster Assembly - Driver (AN3)
7 Seat Recline Postion Sensor - Driver (AN3)
8 Seat Lumbar Switch - Driver (AN3)
9 Seat Adjuster Switch - Driver
10 Memory Seat Module (MSM) (AN3)
11 Inflatable Restraint Seat Position Sensor - Driver
12 Seat Adjuster Motor Assembly - Driver (except HP2)
13 Inflatable Restraint Seat Belt Tension Sensor - Driver
14 Seat Belt Switch - Driver
Fig 8: Passenger Seat Components (1 of 2)
GM1714192Courtesy of GENERAL MOTORS CORP.
Callout Component Name
1 Seat Frame
2 Seat Lumbar Horizontal Motor - Passenger (AN3)
3 Seat Adjuster Switch - Passenger (AG2)
4 Seat Lumbar Switch - Passenger (AN3)
5 Seat Belt Buckle - Passenger/Seat Belt Switch - Passenger
6 Inflatable Restraint Passenger Presence System (PPS) Module
7 Seat Adjuster Motor Assembly - Passenger (AG2)
8 Inflatable Restraint Passenger Presence System (PPS) Sensor
9 Seat Recline Motor - Passenger (AN3)
10 Seat Lumbar Vertical Motor - Passenger (AN3)
Fig 9: Passenger Seat Components (2 of 2)
GM2048324Courtesy of GENERAL MOTORS CORP.
Callout Component Name
1 Heated Seat Element - Passenger Back (AN3)
2 Passenger Seat Back Cushion
3 Passenger Seat Cushion
4 Heated Seat Element - Passenger Cushion (AN3)
5 Seat Belt Switch - Passenger
6 Inflatable Restraint Passenger Presence System (PPS) Sensor
7 Inflatable Restraint Seat Belt Tension Sensor - Passenger
8 Inflatable Restraint Passenger Presence System (PPS) Module
9 Seat Adjuster Motor Assembly - Passenger
10 Seat Adjuster Switch - Passenger (AG2)
11 Seat Lumbar Switch - Passenger (AN3)
12 Seat Recline Motor - Passenger (AN3)
13 Seat Lumbar Assembly - Passenger (AN3)
Fig 10: Driver and Passenger Seat Components (KB6)
GM2048554Courtesy of GENERAL MOTORS CORP.
Callout Component Name
1 Seat Cushion Ventilation Heating and Cooling Module - Passenger
2 Seat Back Ventilation Heating and Cooling Module - Passenger
3 Seat Back Ventilation Heating and Cooling Module - Driver
4 Seat Cushion Ventilation Heating and Cooling Module - Driver
Fig 11: Right Front of Passenger Compartment Components
GM2221572Courtesy of GENERAL MOTORS CORP.
Callout Component Name
1 Front Driver Seat
2 Yaw and Lateral Accelerometer Sensor
3 Rear Object Sensor Control Module (UD7)
Fig 12: Lower Right Side of Floor Console (HP2)
GM2111557Courtesy of GENERAL MOTORS CORP.
Callout Component Name
1 Data Link Resistor 2 (HP2)
Fig 13: Rear Seat Components (ARS)
GM2048643Courtesy of GENERAL MOTORS CORP.
Callout Component Name
1 Folding Seat Switch - Right Rear (ARS)
2 Folding Seat Switch - Left Rear (ARS)
3 Rear Seats - 2nd Row
Fig 14: Rear Seat Components (KA6)
GM1714189Courtesy of GENERAL MOTORS CORP.
Callout Component Name
1 Heated Seat Element - Right Rear Cushion
2 Heated Seat Element - Left Rear Cushion
3 Heated Seat Control Module - Rear
Fig 15: Drive Motor Battery Components
GM1869639Courtesy of GENERAL MOTORS CORP.
Callout Component Name
1 Battery Case Upper Cover Assembly
2 Battery Upper Cover Nut
3 Bar Code Label
4 Battery Danger Label
5 Drive Motor Battery Case Upper Cover Bolt
6 Battery Side Cover Nut
7 Drive Motor Battery Right Side Cover
8 Drive Motor Battery Side Cover Bolt
9 Battery Caution Label
10 Drive Motor Battery Cable Assembly Nut
11 Drive Motor Battery Positive Relay Cable Assembly
12 Drive Motor Battery Current Sensor Assembly
13 Drive Motor Generator Battery Current Sensor Bracket
14 Drive Motor Battery Current Sensor Bolt
15 Drive Motor Generator Battery Control Module Assembly
16 Drive Motor Battery Control Module Bracket
17 Drive Motor Battery Control Module Bracket Bolt
18 Battery Cable Clip
19 Drive Motor Battery Control Module Bracket Bolt
20 Drive Motor Battery Control Module Bracket
21 Drive Motor Battery Positive and Negative Cable Bolt
22 Drive Motor Battery Positive and Negative Cable Assembly
23 Battery Front Cover Retainer
24 Drive Motor Battery Front Cover Assembly
25 Drive Motor Battery Front Cover Bolt
26 Battery Terminal Cover
27 Battery Terminal Cover
28 Battery Terminal Cover
29 Drive Motor Battery Cooling Air Outlet Duct Seal
30 Drive Motor Battery with Case
31 Drive Motor Battery Cooling Air Outlet Duct Seal
32 Drive Motor Battery Current Limit Resistor Nut
33 Drive Motor Battery Inverter Current Limit Resistor
34 Drive Motor Battery Cable Terminal Nut
35 Drive Motor Battery Positive High Voltage Contactor Relay Assembly
36 Drive Motor Battery Wire Harness Connector Retainer
37 Drive Motor Battery Power Inverter Current Limit Relay Assembly
38 Drive Motor Battery Positive High Voltage Contactor Relay Nut
39 Drive Motor Battery Positive Relay Nut
40 Drive Motor Generator Battery Positive Relay Insulator Nut
41 Drive Motor Generator Battery Positive Relay Insulator Assembly
42 Drive Motor Battery Sensor Bracket Bolt
43 Drive Motor Battery Cable Terminal Extension Cover
44 Drive Motor Battery Terminal Block Cover Nut
45 Drive Motor Battery Terminal Extension Cable Bolt
46 Drive Motor Battery Terminal Block Nut
47 Drive Motor Battery Cable Terminal Extension
48 Drive Motor Battery High Voltage Manual Disconnect Knob Housing
49 Drive Motor Battery Cover Terminal Bolt
50 Battery Cable Terminal Retainer
51 Drive Motor Battery High Voltage Manual Disconnect Lever Assembly
52 Drive Motor Battery Disconnect Switch Nut
53 Battery Disconnect Switch Cable Assembly
54 Drive Motor Battery Cable Nut
55 Battery Positive and Negative Cable Cover
56 Drive Motor Battery Cooling Air Outlet Duct Seal
57 Drive Motor Generator Battery Ground Bolt
58 Drive Motor Generator Battery Mounting Nut
59 Battery Terminal Cover
60 Battery Terminal Cover
61 Drive Motor Battery Rear Cover Bolt
62 Drive Motor Battery Rear Cover Assembly
63 Drive Motor Generator Battery Ground Nut
64 Drive Motor Battery Cooling Air Outlet Duct Seal
65 Drive Motor Generator Battery Retainer Nut
66 Drive Motor Generator Battery Negative Relay Bracket Nut
67 Drive Motor Generator Battery Negative Relay Bracket
68 Drive Motor Battery Negative Relay Bracket Bolt
69 Drive Motor Battery Negative High Voltage Contactor Relay Assembly
70 Drive Motor Battery Negative Relay Cable Assembly
71 Drive Motor Battery Cable Assembly Nut
72 Drive Motor Battery Cable Terminal Nut
73 Drive Motor Battery Housing Relay Nut