LEMON Manuals: Even more car manuals for everyone: 1960-2025
Home >> Cadillac >> 2010 >> SRX AWD V6-3.0L >> Repair and Diagnosis >> Specifications >> Mechanical Specifications >> Engine >> System Specifications >> Thread Repair Specifications
April 5, 2026: LEMON Manuals is launched! Read the announcement.

Thread Repair Specifications




Thread Repair Specifications

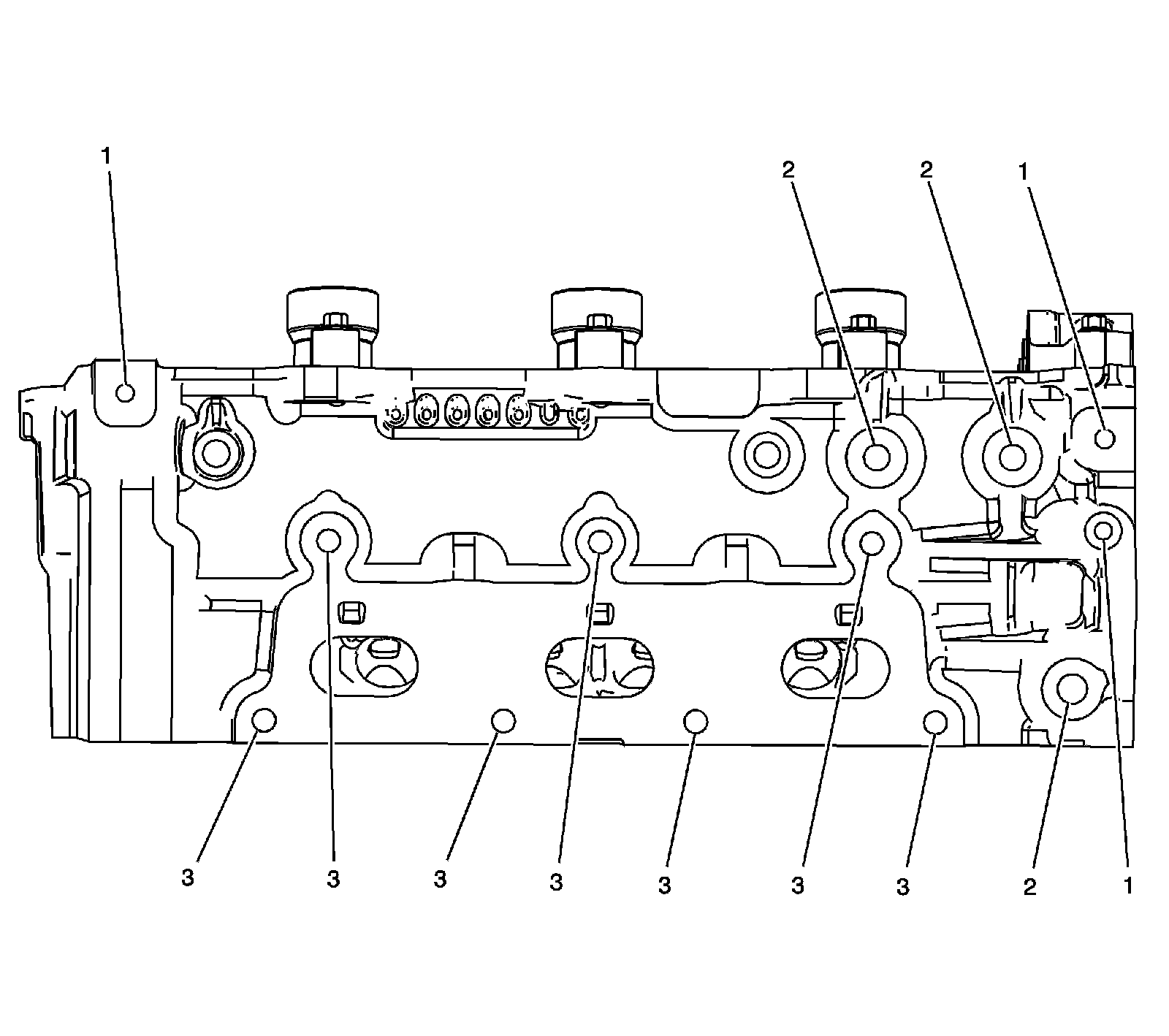
Left Cylinder Head Camshaft Cover Face (LAU or LBW)









Left Cylinder Head Camshaft Cover Face (LF1)









Left Cylinder Head Front Face









Left Cylinder Head Intake Face (LAU or LBW)









Left Cylinder Head Intake Face (LF1)









Left Cylinder Head Exhaust Face (LAU or LBW)









Left Cylinder Head Exhaust Face (LF1)









Left Cylinder Head Rear Face (LAU or LBW)









Left Cylinder Head Rear Face (LF1)









Right Cylinder Head Camshaft Cover Face









Right Cylinder Head Front Face









Right Cylinder Head Intake Face (LAU or LBW)









Right Cylinder Head Intake Face (LF1)









Right Cylinder Head Exhaust Face (LAU or LBW)









Right Cylinder Head Exhaust Face (LF1)









Right Cylinder Head Rear Face









Engine Block Front









Engine Block Left Side









Engine Block Right Side









Engine Block Rear









Engine Block Bottom









Engine Block Left Deck Face









Engine Block Right Deck Face









Engine Front Cover (LF1)









Engine Front Cover (LAU or LBW)









Oil Pan Front









Oil Pan Left Side









Oil Pan Right Side









Oil Pan Rear









Oil Pan Top