LEMON Manuals: Even more car manuals for everyone: 1960-2025
Home >> Cadillac >> 2010 >> STS AWD V6-3.6L >> Repair and Diagnosis >> Diagrams >> Exploded Views >> Automatic Transmission/Transaxle >> Transmission Position Sensor/Switch, A/T
April 5, 2026: LEMON Manuals is launched! Read the announcement.

Transmission Position Sensor/Switch, A/T




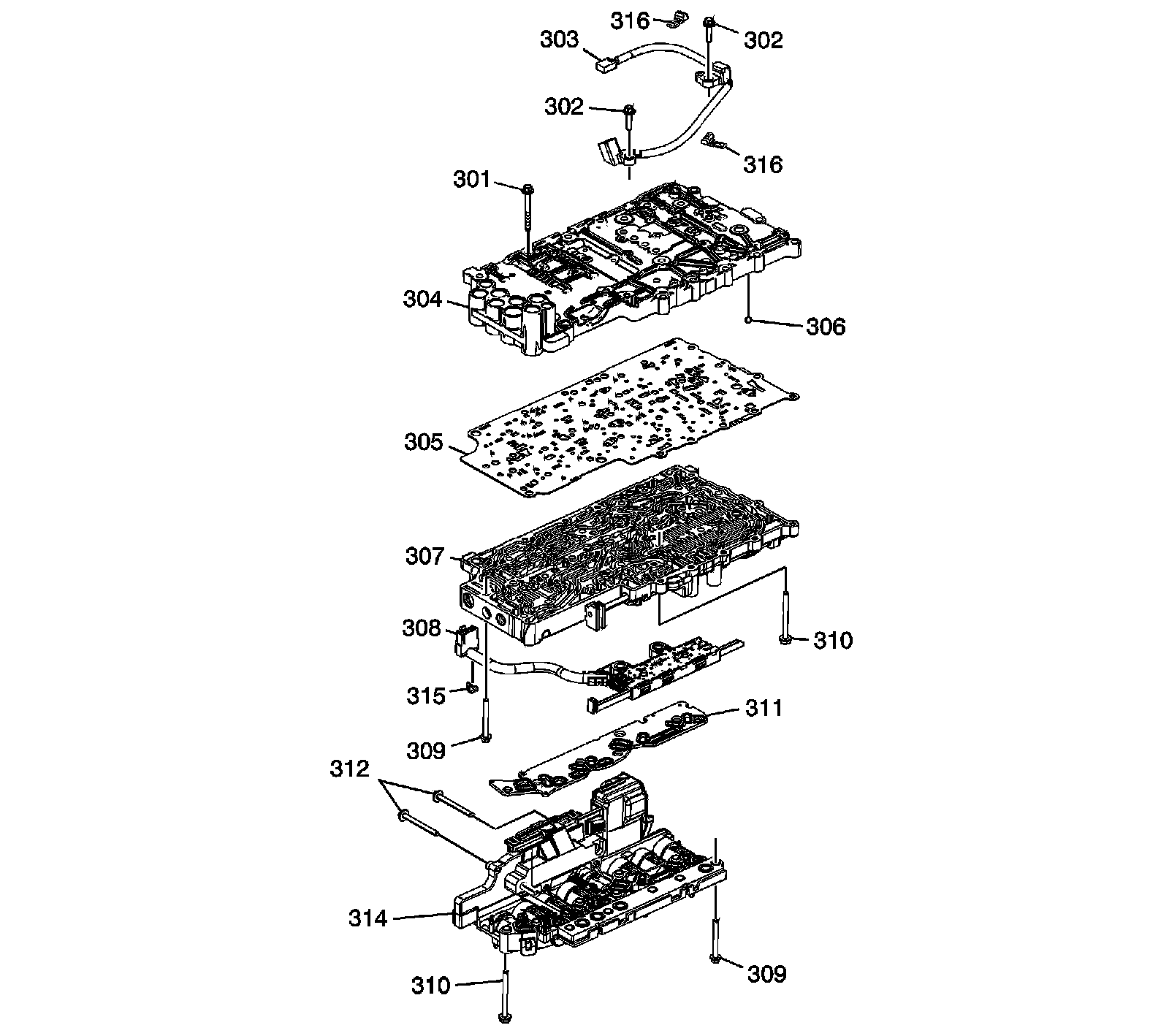
Disassembled Views (6L50)

Control (with Body and Valve) Valve Assembly




301 - Bolt, M5 x 36 mm
302 - Bolt, M6 x 20 mm
303 - A/Trans Input and Output Speed Sensor Assembly
304 - Control Valve Upper Body Assembly
305 - Control Valve Body Spacer (w/ Gasket) Plate Assembly
306 - Control Valve Body Ball Check Valve
307 - Control Valve Lower Body Assembly
308 - A/Trans Manual Shift Shaft Position Switch Assembly
309 - Bolt, M5 x 45 mm
310 - Bolt, M5 x 55 mm
311 - Filter Plate Assembly
312 - Bolt, M5 x 53 mm
314 - Control Solenoid (w/ Body and TCM) Valve Assembly
315 - A/Trans Manual Shaft Position Switch Wiring Harness Clip
316 - A/Trans Input and Output Speed Sensor Wiring Harness Clip