LEMON Manuals: Even more car manuals for everyone: 1960-2025
Home >> Cadillac >> 2011 >> CTS Base, 2D Coupe, AWD >> Repair and Diagnosis >> Quick Lookups >> Wiring Diagrams >> Wiring Systems And Power Management - Component Connector End Views - Memory Seat Module Through Rear Window Defogger Relay >> Component Connector End Views >> Radio Antenna Module (Coupe or Wagon)
April 5, 2026: LEMON Manuals is launched! Read the announcement.

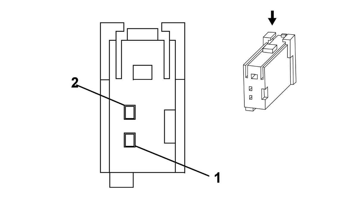
Radio Antenna Module (Coupe or Wagon)

Fig 1: Radio Antenna Module (Coupe or Wagon)
GM2173598Courtesy of GENERAL MOTORS CORP.
Radio Antenna Module (Coupe or Wagon)

Pin Wire Circuit Function
1 0.35 WH 7066 Entertainment Remote Enable Signal
2 - - Not Used
Connector Part Information 
  • Harness Type: Liftgate
  • OEM Connector: 19115645
  • Service Connector: 13314093
  • Description: 2-Way F 0.64 Series (BK)
Terminal Part Information 
  • Terminated Lead: 13575845
  • Release Tool: J-38125-215A
  • Diagnostic Test Probe: J-35616-64B (L-BU)
  • Terminal/Tray: SAIT-A03T-M064/14
  • Core/Insulation Crimp: P/P